Запчасти Volvo EW200 47803 Шайба лобового стекла (ветрового) EW200 SER NO 3175-

Схема запчастей Volvo EW200 - 47803 Шайба лобового стекла (ветрового) EW200 SER NO 3175-
FIT
1:1
100%

Артикул

Название

Примечание

Количество

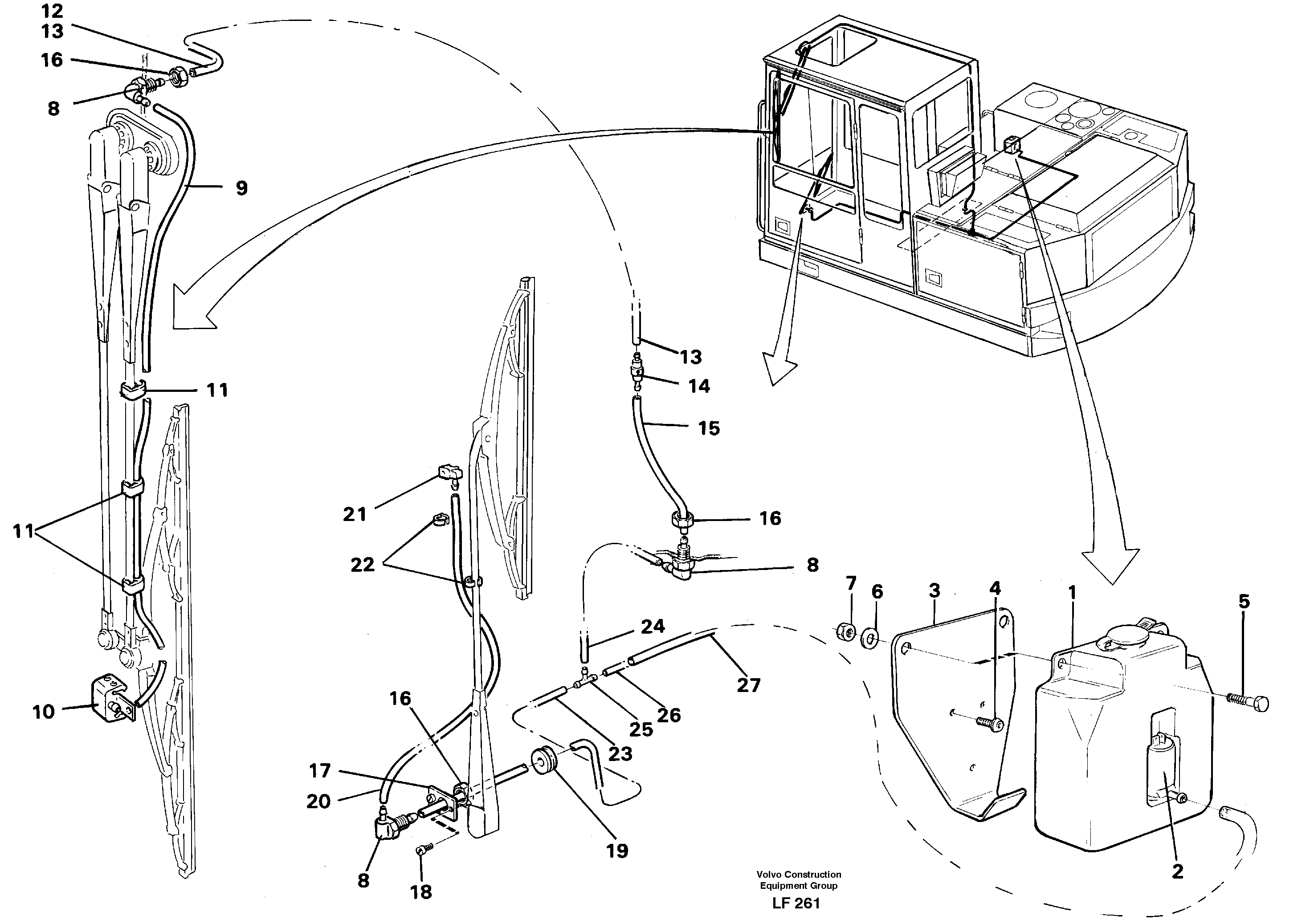
1

VOE 14262795

Fluid reservoir

1шт.

10

VOE 14213365

Nozzle

1шт.

11

VOE 14213367

Зажим

1шт.

12

VOE 14213459

Hose retainer

1шт.

13

VOE 14014211

Plastic hose

1шт.

13

VOE 14014211

Plastic hose

1шт.

14

VOE 1210139

Non-return valve

1шт.

14

VOE 1210139

Клапан обратный

1шт.

15

VOE 1304841

Шланг

1шт.

15

VOE 1304841

Шланг

1шт.

16

VOE 955782

Hexagon nut

1шт.

16

VOE 955782

Hexagon nut

1шт.

17

VOE 14252345

Тарелка клапана

1шт.

18

VOE 14213814

Болт

1шт.

18

VOE 14213814

Болт

1шт.

19

VOE 14014291

Уплотнительная втулка

1шт.

19

VOE 14014291

Уплотнительная втулка

1шт.

2

VOE 4803571

Washer pump

1шт.

20

VOE 14212954

Rubber hose

1шт.

21

VOE 14213366

Nozzle

1шт.

22

VOE 14213368

Зажим

1шт.

23

VOE 14014211

Plastic hose

1шт.

23

VOE 14014211

Plastic hose

1шт.

24

VOE 14014211

Plastic hose

1шт.

24

VOE 14014211

Plastic hose

1шт.

25

VOE 688658

Трубка

1шт.

25

VOE 688658

Трубка

1шт.

26

VOE 14014211

Plastic hose

1шт.

26

VOE 14014211

Plastic hose

1шт.

27

VOE 14014146

Oil hose

1шт.

3

VOE 14262965

14262965

1шт.

4

VOE 14213343

Болт

1шт.

5

VOE 13955247

Болт

1шт.

5

VOE 13955247

Болт

1шт.

6

VOE 14016486

Шайба

1шт.

6

VOE 14016486

Шайба

1шт.

7

VOE 14015038

Гайка

1шт.

7

VOE 14015038

Гайка

1шт.

8

VOE 14213369

L-connection

1шт.

8

VOE 14213369

L-connection

1шт.

9

VOE 14212954

Rubber hose

1шт.

Выбрано товаров: 41