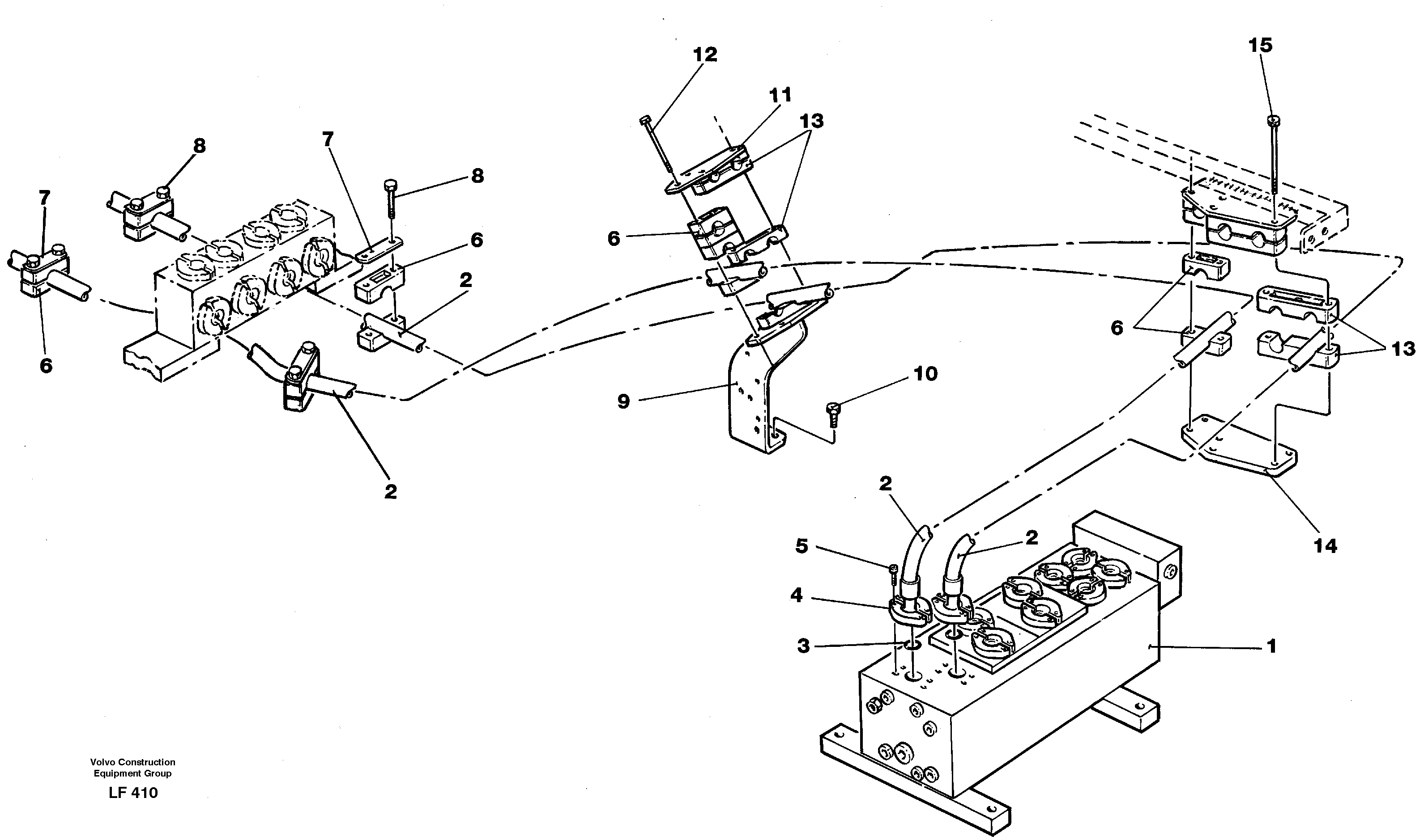
Запчасти Volvo EW200 40312 Hydraulic system, Boom EW200 SER NO 3175-

Схема запчастей Volvo EW200 - 40312 Hydraulic system, Boom EW200 SER NO 3175-
FIT
1:1
100%

Артикул

Название

Примечание

Количество

10

VOE 13970947

Винт шестигранник

1шт.

10

VOE 13970947

Винт шестигранник

1шт.

11

VOE 14255385

Шайба

1шт.

12

VOE 14103041

Болт

1шт.

12

VOE 14103041

Болт

1шт.

13

VOE 14047780

Hose retainer

1шт.

13

VOE 14047780

Hose retainer

1шт.

14

VOE 14255389

Шайба

1шт.

14

VOE 14255389

Шайба

1шт.

15

VOE 14103041

Болт

1шт.

15

VOE 14103041

Болт

1шт.

2

VOE 14255681

Hydraulic hose

1шт.

3

VOE 14215715

Кольцо уплотнительное

1шт.

3

VOE 14215715

Кольцо уплотнительное

1шт.

4

VOE 935312

Flange half

1шт.

4

VOE 935312

Flange half

1шт.

5

VOE 959257

Allen Hd Screw

1шт.

6

VOE 14236150

Hose retainer

1шт.

6

VOE 14236150

Hose retainer

1шт.

7

VOE 14236049

14236049

1шт.

8

VOE 13970959

Винт шестигранник

1шт.

8

VOE 13970959

Винт шестигранник

1шт.

9

VOE 14255350

Hose retainer

1шт.

9

VOE 14255350

Hose retainer

1шт.

Выбрано товаров: 24