Запчасти Volvo EW210C 82742 Remote control valve pedal, travel motor EW210C

Схема запчастей Volvo EW210C - 82742 Remote control valve pedal, travel motor EW210C
FIT
1:1
100%

Артикул

Название

Примечание

Количество

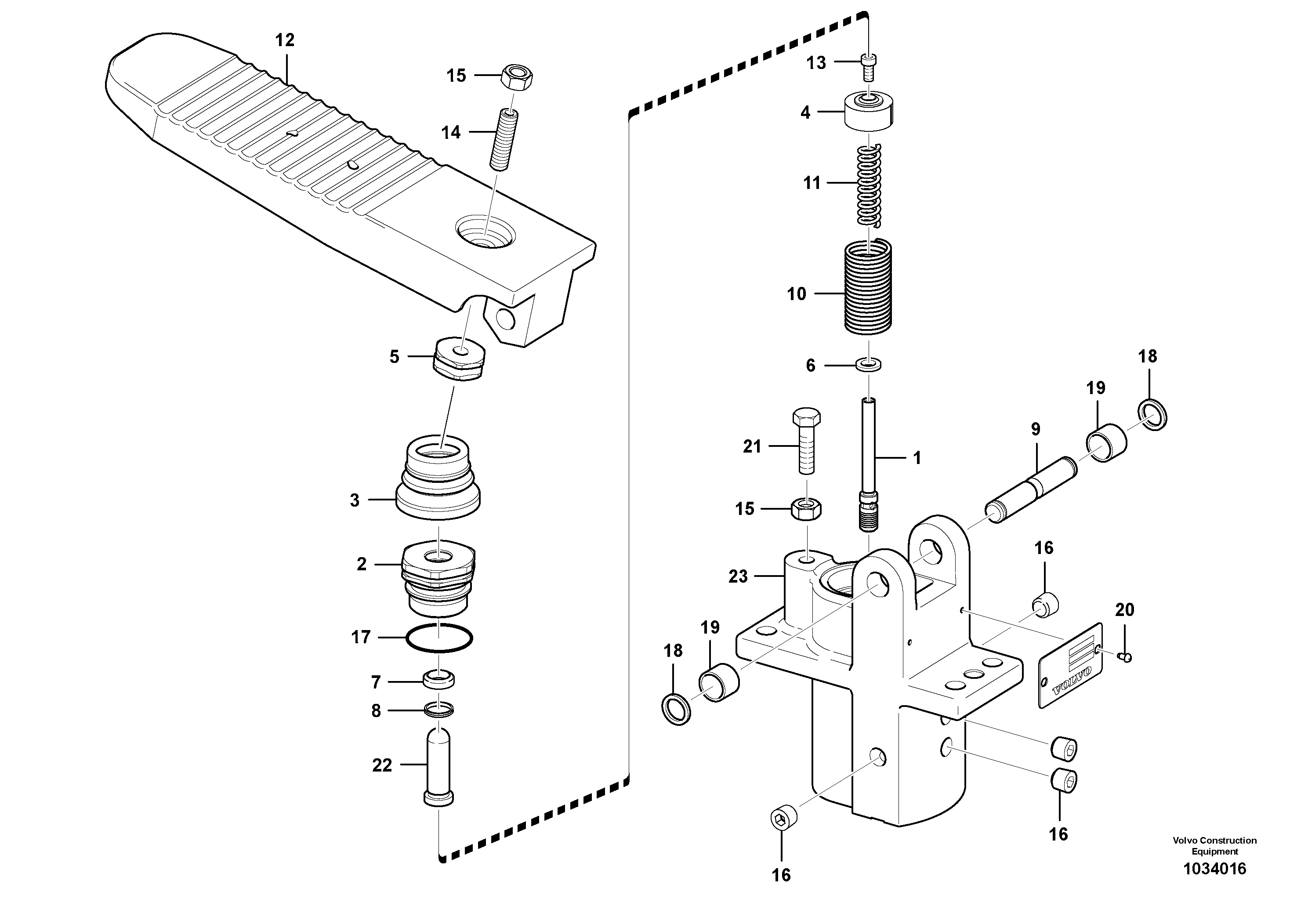
VOE 14536145

Клапан

1шт.

1

SA 14548344

Slide

1шт.

10

SA 7263-00200

Пружина

1шт.

11

SA 7263-00212

Пружина

1шт.

12

SA 7263-00272

Pedal

1шт.

13

VOE 981730

Allen Hd Screw

1шт.

14

VOE 962939

установочный винт

1шт.

14

VOE 962939

установочный винт

1шт.

15

SA 9113-10800

Гайка

1шт.

16

SA 9415-43012

Пробка (заглушка)

1шт.

17

SA 990581

Кольцо уплотнительное (О-кольцо)

1шт.

18

SA 8240-03680

Кольцо

1шт.

19

SA 9611-01008

Втулка

1шт.

2

SA 7263-00021

Cap

1шт.

20

SA 1010-11360

Болт

1шт.

21

VOE 983244

Винт шестигранник

1шт.

21

VOE 983244

Винт шестигранник

1шт.

22

VOE 14521718

Щуп

1шт.

23

VOE 14536146

Корпус клапана

1шт.

3

SA 7263-00041

Bellows

1шт.

4

SA 7263-00071

Seat

1шт.

5

SA 7263-00080

Lock nut

1шт.

6

SA 7263-00122

Вставка

1шт.

7

SA 7263-00130

Сальник

1шт.

8

SA 7263-00140

Сальник

1шт.

9

SA 7263-00171

Вал

1шт.

Выбрано товаров: 26