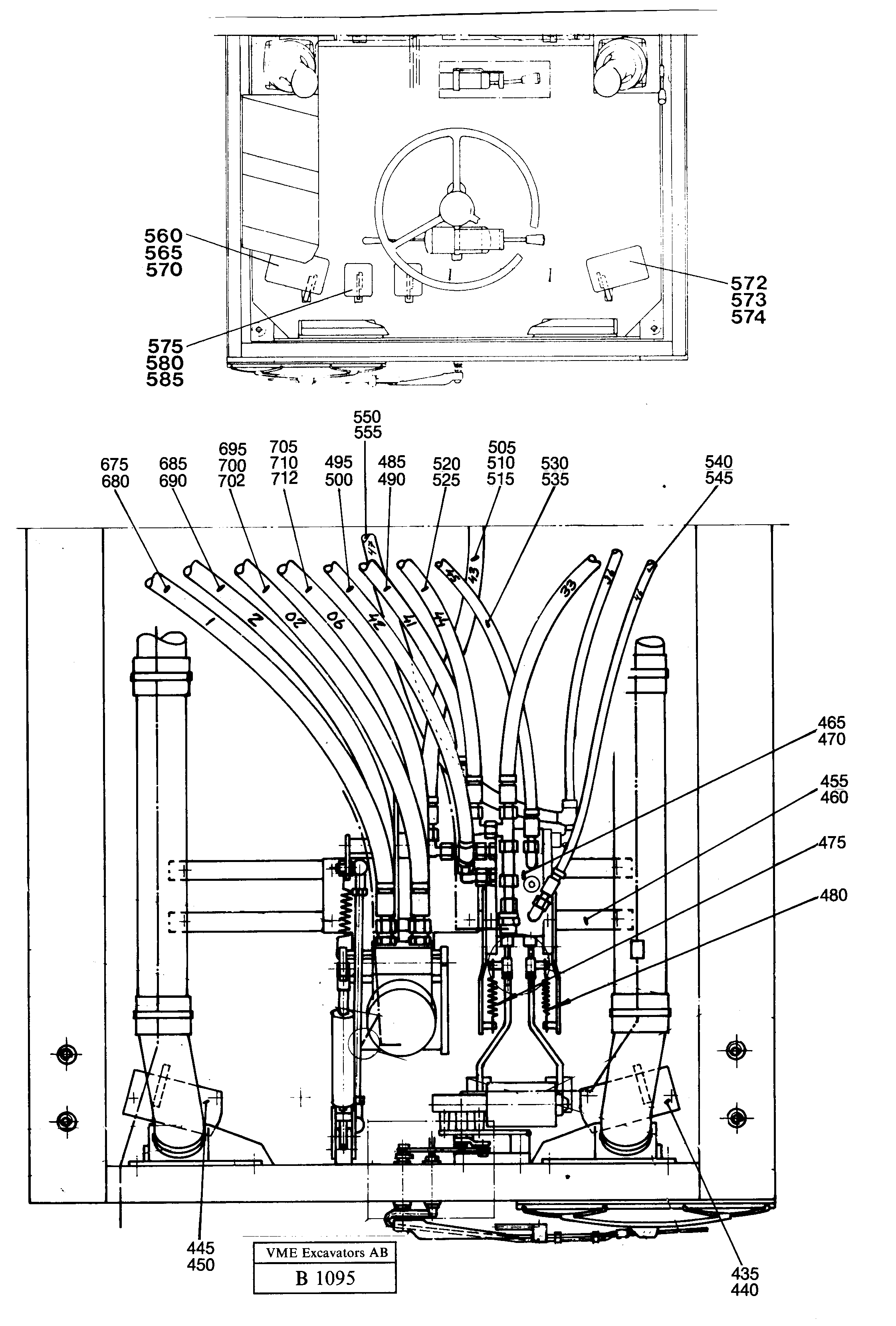
Запчасти Volvo EW230 ?KERMAN ?KERMAN EW230 SER NO - 1447 51278 Lines under drivers seat

Схема запчастей Volvo EW230 ?KERMAN ?KERMAN EW230 SER NO - 1447 - 51278 Lines under drivers seat
FIT
1:1
100%

Артикул

Название

Примечание

Количество

435

VOE 14244001

14244001

1шт.

440

VOE 13955294

Болт

1шт.

440

VOE 13955294

Болт

1шт.

445

VOE 14243549

14243549

1шт.

450

VOE 13955294

Болт

1шт.

450

VOE 13955294

Болт

1шт.

455

VOE 14243535

Moulding

1шт.

460

VOE 970945

Винт шестигранник

1шт.

460

VOE 970945

Винт шестигранник

1шт.

470

VOE 959208

Allen Hd Screw

1шт.

475

VOE 14243541

Пружина натяжная

1шт.

480

VOE 14243542

Пружина натяжная

1шт.

485

VOE 14245243

Hydraulic hose

MARKED 41

1шт.

490

VOE 14213141

Marking strip

1шт.

495

VOE 14245240

Hydraulic hose

MARKED 42

1шт.

495

VOE 14245240

Hydraulic hose

MARKED 42

1шт.

500

VOE 14213142

Marking strip

1шт.

505

VOE 14238836

Hydraulic hose

MARKED 43

1шт.

510

VOE 14213143

Marking strip

1шт.

515

VOE 14211158

Rubber sleeve

1шт.

520

VOE 14245242

Hydraulic hose

MARKED 44

1шт.

520

VOE 14245242

Hydraulic hose

MARKED 44

1шт.

525

VOE 14213144

Marking strip

1шт.

525

VOE 14213144

Marking strip

1шт.

530

VOE 14245234

Hydraulic hose

MARKED 45

1шт.

535

VOE 14213145

Marking strip

1шт.

540

VOE 14237330

Hydraulic hose

MARKED 46

1шт.

540

VOE 14237330

Hydraulic hose

MARKED 46

1шт.

545

VOE 14213146

Marking strip

1шт.

550

VOE 14245236

Hydraulic hose

MARKED 47

1шт.

555

VOE 14213147

Marking strip

1шт.

560

VOE 14244004

Pedal plate

1шт.

565

VOE 14213032

Болт

1шт.

565

VOE 14213032

Болт

1шт.

570

VOE 1272066

Pedal Rubber

1шт.

572

VOE 14244004

Pedal plate

1шт.

573

VOE 14213032

Болт

1шт.

573

VOE 14213032

Болт

1шт.

574

VOE 1272066

Pedal Rubber

1шт.

575

VOE 14243548

Pedal plate

1шт.

580

VOE 14213032

Болт

1шт.

580

VOE 14213032

Болт

1шт.

585

VOE 14025147

Pedal Rubber

1шт.

675

VOE 14056673

Hydraulic hose

MARKED 1

1шт.

680

VOE 14213101

Marking strip

1шт.

680

VOE 14213101

Marking strip

1шт.

685

VOE 14245628

Hydraulic hose

MARKED 2

1шт.

690

VOE 14213102

Marking strip

1шт.

695

VOE 14245628

Hydraulic hose

MARKED 02

1шт.

700

VOE 14213100

Marking strip

1шт.

702

VOE 14213102

Marking strip

1шт.

705

VOE 14250710

Hydraulic hose

MARKED 06

1шт.

705

VOE 14250710

Hydraulic hose

MARKED 06

1шт.

710

VOE 14213100

Marking strip

1шт.

712

VOE 14213106

Marking strip

1шт.

Выбрано товаров: 0