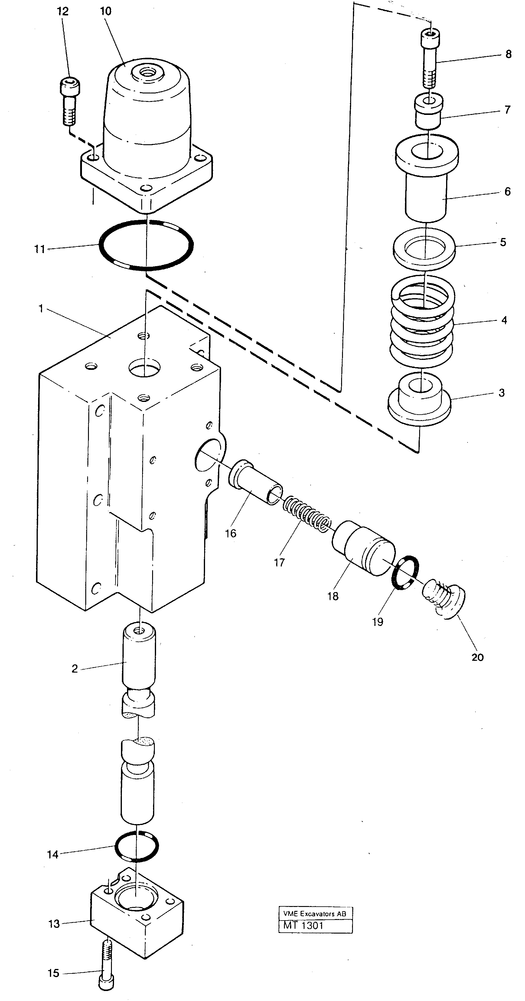
Запчасти Volvo EW230 ?KERMAN ?KERMAN EW230 SER NO - 1447 100919 Four way valve, primary boom, dipper, bucket

Схема запчастей Volvo EW230 ?KERMAN ?KERMAN EW230 SER NO - 1447 - 100919 Four way valve, primary boom, dipper, bucket
FIT
1:1
100%

Артикул

Название

Примечание

Количество

VOE 14238668

Directional valve

Boom

1шт.

VOE 14244609

Directional valve

Dipper

1шт.

VOE 14237831

Клапан

Bucket

1шт.

1

VOE 14048689

Valve housing

1шт.

1

VOE 14244466

Valve housing

1шт.

1

VOE 14048555

Крышка

1шт.

10

VOE 14048554

Крышка

1шт.

11

VOE 977016

Кольцо уплотнительное (О-кольцо)

1шт.

12

VOE 959223

Allen Hd Screw

1шт.

13

VOE 14048555

Крышка

1шт.

14

VOE 925063

Кольцо уплотнительное (О-кольцо)

1шт.

14

VOE 925063

Кольцо уплотнительное (О-кольцо)

1шт.

15

VOE 13941747

Болт

1шт.

15

VOE 13941747

Болт

1шт.

16

VOE 14048556

Valve peg

1шт.

17

VOE 14040429

Compression spring

1шт.

17

VOE 14040429

Compression spring

1шт.

18

VOE 14048558

Guide

1шт.

19

VOE 13960170

Кольцо уплотнительное (О-кольцо)

1шт.

19

VOE 13960170

Кольцо уплотнительное (О-кольцо)

1шт.

2

VOE 14240035

Slide

1шт.

2

VOE 14238675

Slide

1шт.

2

VOE 14240036

Slide

1шт.

3

VOE 14236506

Spring disc

1шт.

4

VOE 14048552

Compression spring

1шт.

6

VOE 14048551

Spring disc

1шт.

7

VOE 14048553

Вставка

1шт.

8

VOE 959241

Винт шестигранник (торцевой ключ)

1шт.

9

VOE 14024293

Locking fluid

1шт.

9

VOE 14024293

Locking fluid

1шт.

Выбрано товаров: 30