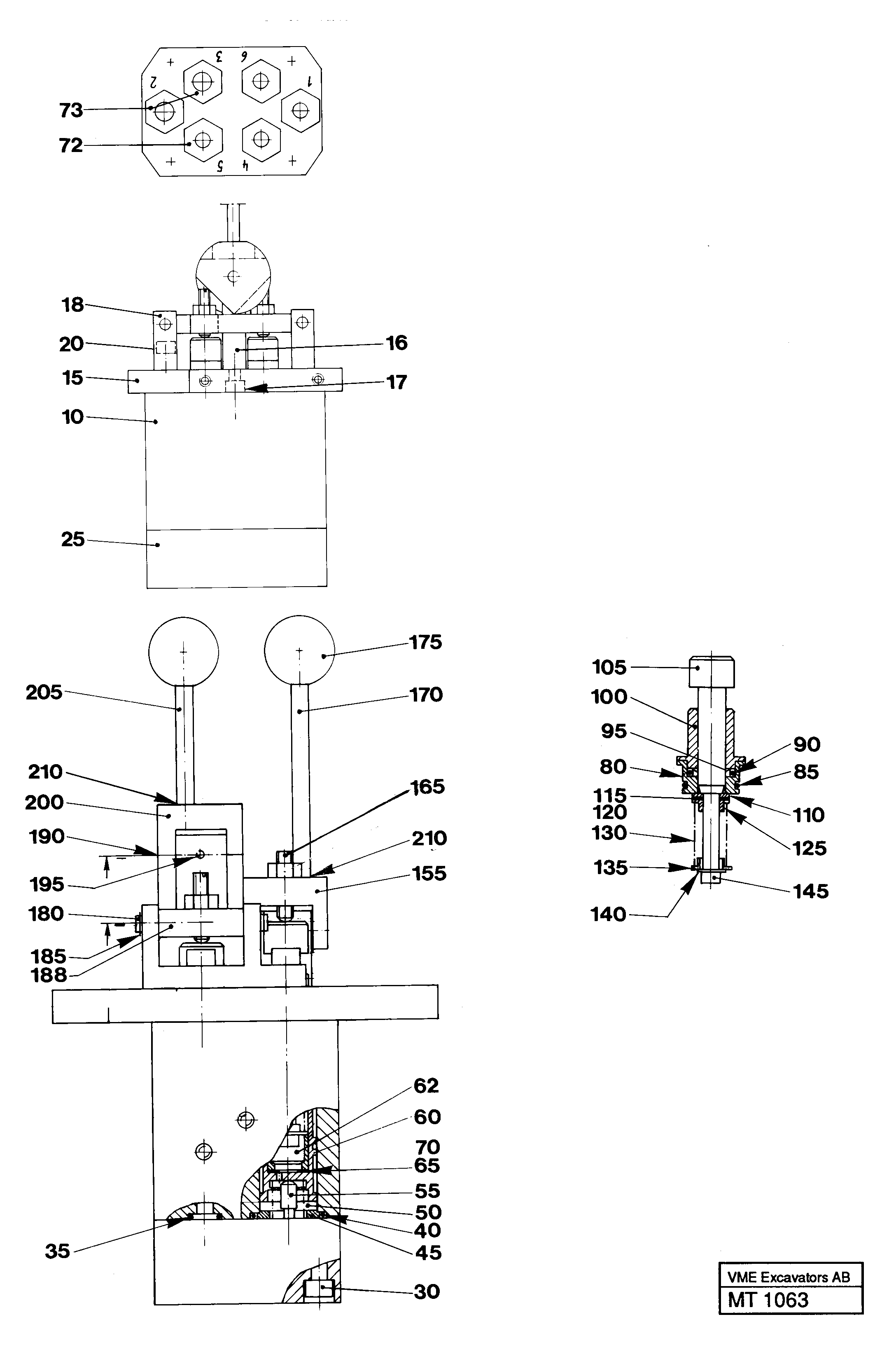
Запчасти Volvo EW230 ?KERMAN ?KERMAN EW230 SER NO - 1447 47357 Control pressure valve

Схема запчастей Volvo EW230 ?KERMAN ?KERMAN EW230 SER NO - 1447 - 47357 Control pressure valve
FIT
1:1
100%

Артикул

Название

Примечание

Количество

VOE 14244414

Lever Valve

1шт.

10

VOE 14241244

Картер (корпус)

1шт.

100

VOE 14242250

Втулка

1шт.

105

VOE 14053896

Pressure Pin

1шт.

110

VOE 955893

Шайба

1шт.

110

VOE 955893

Шайба

1шт.

115

VOE 14024260

Прокладка

THICK 0.2mm

1шт.

120

VOE 14024261

Прокладка

THICK 1.0mm

1шт.

125

VOE 14244431

Шайба

1шт.

130

VOE 14245906

Compression spring

1шт.

135

VOE 14244432

Шайба

1шт.

140

VOE 14213344

Шайба

1шт.

145

VOE 14024262

Болт

1шт.

15

VOE 14244418

14244418

1шт.

155

VOE 14244421

Fork

1шт.

16

VOE 14244420

Attachment

1шт.

165

VOE 940344

Handle ball

1шт.

165

VOE 940344

Handle ball

1шт.

17

VOE 14023235

Болт

1шт.

17

VOE 14023235

Болт

1шт.

170

VOE 14244422

14244422

1шт.

175

VOE 14212867

Pressure Screw

1шт.

177

VOE 14015039

Гайка

1шт.

177

VOE 14015039

Гайка

1шт.

18

VOE 14244419

Attachment

1шт.

180

VOE 14244423

14244423

1шт.

185

VOE 951668

Retaining ring

1шт.

185

VOE 951668

Retaining ring

1шт.

188

VOE 14244424

14244424

1шт.

190

VOE 14243148

14243148

1шт.

195

VOE 14212868

Палец

1шт.

20

VOE 14014657

Болт

1шт.

20

VOE 14014657

Болт

1шт.

200

VOE 14244425

Cam

1шт.

205

VOE 14244426

14244426

1шт.

210

VOE 14024293

Locking fluid

1шт.

210

VOE 14024293

Locking fluid

1шт.

25

VOE 14241245

Крышка

1шт.

30

VOE 959208

Allen Hd Screw

1шт.

35

VOE 925053

Кольцо уплотнительное (О-кольцо)

1шт.

35

VOE 925053

Кольцо уплотнительное (О-кольцо)

1шт.

40

VOE 14102174

Кольцо уплотнительное (О-кольцо)

1шт.

45

VOE 14048973

Шайба

1шт.

50

VOE 14212836

Compression spring

1шт.

55

VOE 14241246

Aux Piston

1шт.

60

VOE 14252220

Slide

1шт.

62

VOE 14247297

Вставка

1шт.

65

VOE 14024260

Прокладка

THICK 0.2mm

1шт.

70

VOE 14024261

Прокладка

THICK 1.0mm

1шт.

80

VOE 14055259

Втулка

1шт.

85

VOE 925057

Кольцо уплотнительное (О-кольцо)

1шт.

85

VOE 925057

Кольцо уплотнительное (О-кольцо)

1шт.

90

VOE 14012261

Кольцо уплотнительное (О-кольцо)

1шт.

90

VOE 14012261

Кольцо уплотнительное (О-кольцо)

1шт.

95

VOE 14025586

Sliding sleeve

1шт.

95

VOE 14025586

Sliding sleeve

1шт.

Выбрано товаров: 56