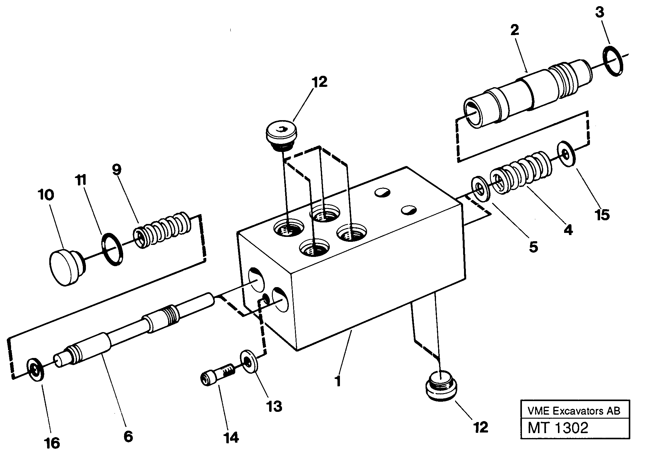
Запчасти Volvo EW230 ?KERMAN ?KERMAN EW230 SER NO - 1447 50261 Pedal valve slope/grab equipment

Схема запчастей Volvo EW230 ?KERMAN ?KERMAN EW230 SER NO - 1447 - 50261 Pedal valve slope/grab equipment
FIT
1:1
100%

Артикул

Название

Примечание

Количество

VOE 14054202

Клапан

1шт.

VOE 14054202

Клапан

1шт.

1

VOE 14054202

Клапан

1шт.

1

VOE 14054202

Клапан

1шт.

10

VOE 14040435

Пробка (заглушка)

1шт.

10

VOE 14040435

Пробка (заглушка)

1шт.

11

VOE 14012271

Кольцо уплотнительное (О-кольцо)

1шт.

11

VOE 14012271

Кольцо уплотнительное (О-кольцо)

1шт.

12

VOE 14023407

Пробка (заглушка)

1шт.

12

VOE 14023407

Пробка (заглушка)

1шт.

13

VOE 14056523

Шайба

1шт.

13

VOE 14056523

Шайба

1шт.

14

VOE 14023215

Болт

1шт.

14

VOE 14023215

Болт

1шт.

15

VOE 14043042

Шайба

THICK 0.3mm

1шт.

15

VOE 14043042

Шайба

THICK 0.3mm

1шт.

16

VOE 14040433

Шайба

THICK 1.5mm

1шт.

16

VOE 14040433

Шайба

THICK 1.5mm

1шт.

2

VOE 14054214

Поршень

1шт.

2

VOE 14054214

Поршень

1шт.

3

VOE 925057

Кольцо уплотнительное (О-кольцо)

1шт.

3

VOE 925057

Кольцо уплотнительное (О-кольцо)

1шт.

4

VOE 14040436

Compression spring

1шт.

4

VOE 14040436

Compression spring

1шт.

5

VOE 14040433

Шайба

1шт.

5

VOE 14040433

Шайба

1шт.

6

VOE 14049689

Slide

1шт.

9

VOE 14040434

Compression spring

1шт.

9

VOE 14040434

Compression spring

1шт.

Выбрано товаров: 29