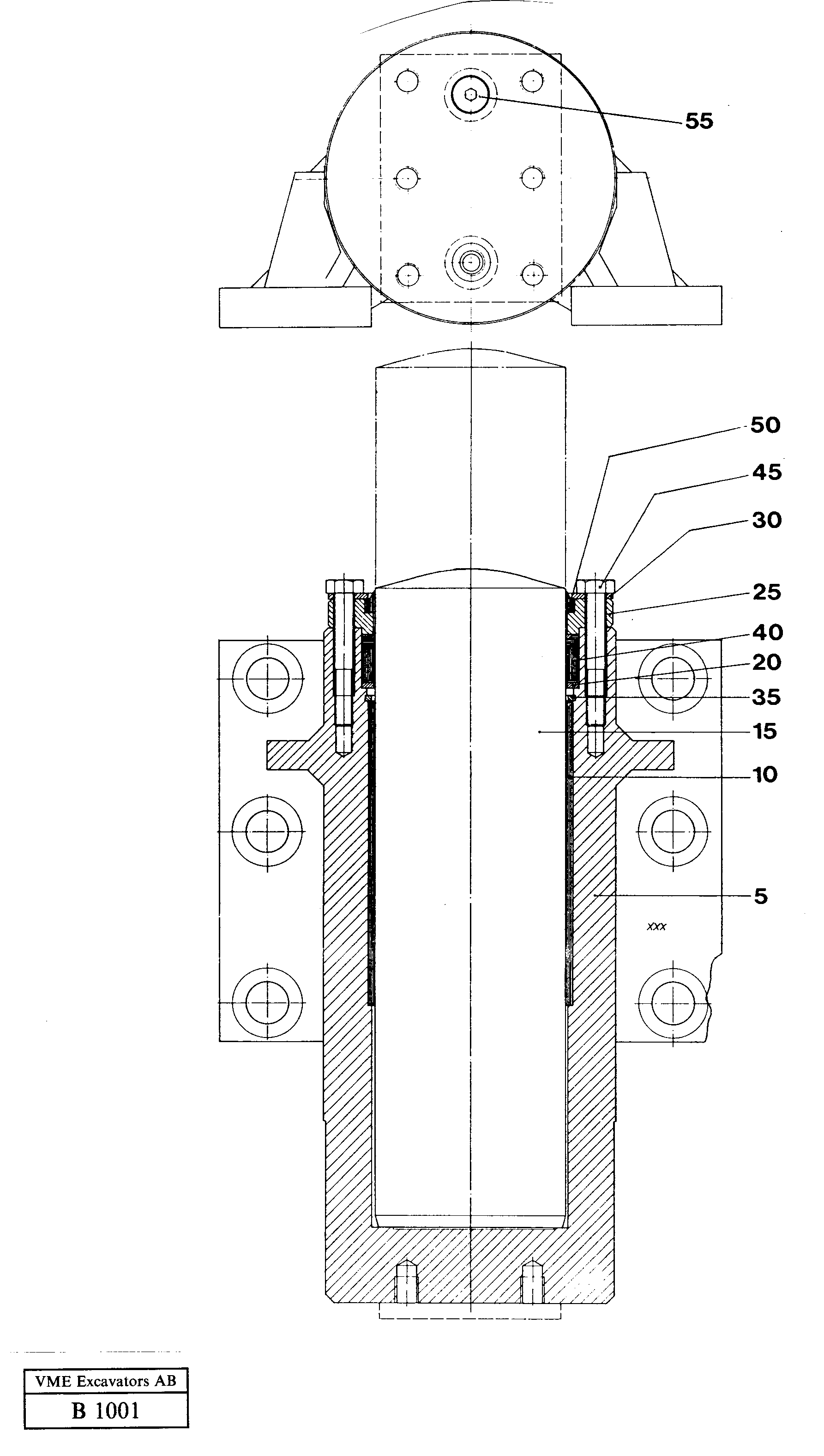
Запчасти Volvo EW230 ?KERMAN ?KERMAN EW230 SER NO - 1447 50894 Axle locking cylinder

Схема запчастей Volvo EW230 ?KERMAN ?KERMAN EW230 SER NO - 1447 - 50894 Axle locking cylinder
FIT
1:1
100%

Артикул

Название

Примечание

Количество

VOE 14249604

Гидроцилиндр

1шт.

10

VOE 14046608

Втулка

1шт.

15

VOE 14046654

Шток поршня

1шт.

20

VOE 14046655

Кольцо

1шт.

25

VOE 14046647

Крышка

1шт.

30

VOE 14046648

Крышка

1шт.

35

VOE 14024286

Retaining ring

1шт.

40

VOE 14023444

Уплотнение штока поршня

K

1шт.

45

VOE 13970956

Винт шестигранник

1шт.

45

VOE 13970956

Винт шестигранник

1шт.

5

VOE 14249605

цилиндр

1шт.

50

VOE 14023469

14023469

K

1шт.

55

VOE 14023407

Пробка (заглушка)

1шт.

55

VOE 14023407

Пробка (заглушка)

1шт.

Выбрано товаров: 14