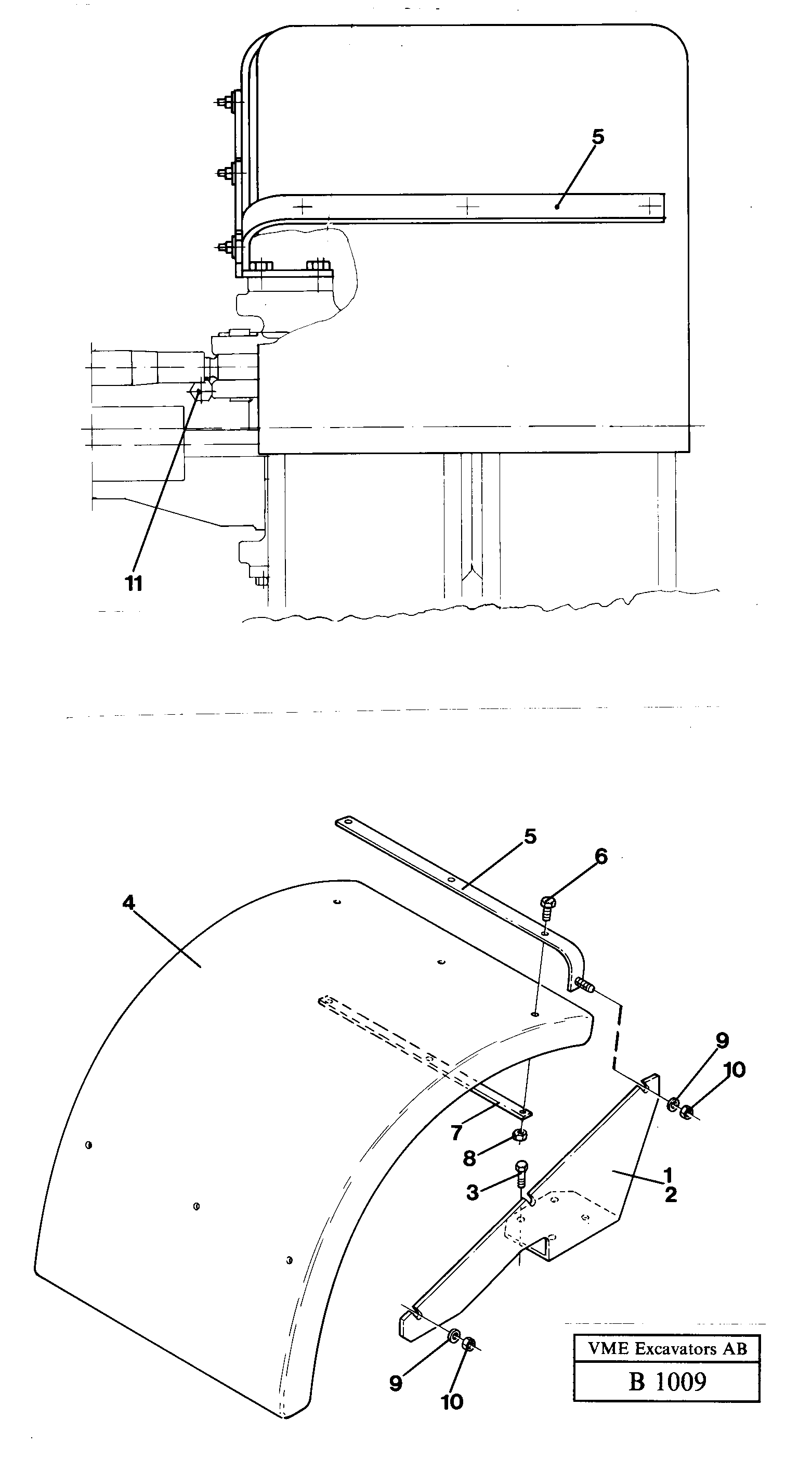
Запчасти Volvo EW230 ?KERMAN ?KERMAN EW230 SER NO - 1447 48634 Mud guards ( only Nokia 10.00 x )

Схема запчастей Volvo EW230 ?KERMAN ?KERMAN EW230 SER NO - 1447 - 48634 Mud guards ( only Nokia 10.00 x )
FIT
1:1
100%

Артикул

Название

Примечание

Количество

1

VOE 14248813

Attachment

1шт.

10

VOE 963106

Lock nut

1шт.

10

VOE 963106

Lock nut

1шт.

11

VOE 955903

Шайба

1шт.

11

VOE 955903

Шайба

1шт.

2

VOE 14248814

Attachment

1шт.

3

VOE 14214303

Болт

1шт.

3

VOE 14214303

Болт

1шт.

4

VOE 14212179

Mudguard

1шт.

4

VOE 14212179

Mudguard

1шт.

5

VOE 14248815

Тарелка клапана

1шт.

5

VOE 14248815

Тарелка клапана

1шт.

6

VOE 940142

Винт шестигранник

1шт.

6

VOE 940142

Винт шестигранник

1шт.

7

VOE 14241753

Вставка

1шт.

7

VOE 14241753

Вставка

1шт.

8

VOE 963106

Lock nut

1шт.

8

VOE 963106

Lock nut

1шт.

9

VOE 11055612

Шайба

1шт.

9

VOE 11055612

Шайба

1шт.

Выбрано товаров: 20