Запчасти Volvo EW230 ?KERMAN ?KERMAN EW230 SER NO - 1447 48912 Cover for fuel tank

Схема запчастей Volvo EW230 ?KERMAN ?KERMAN EW230 SER NO - 1447 - 48912 Cover for fuel tank
FIT
1:1
100%

Артикул

Название

Примечание

Количество

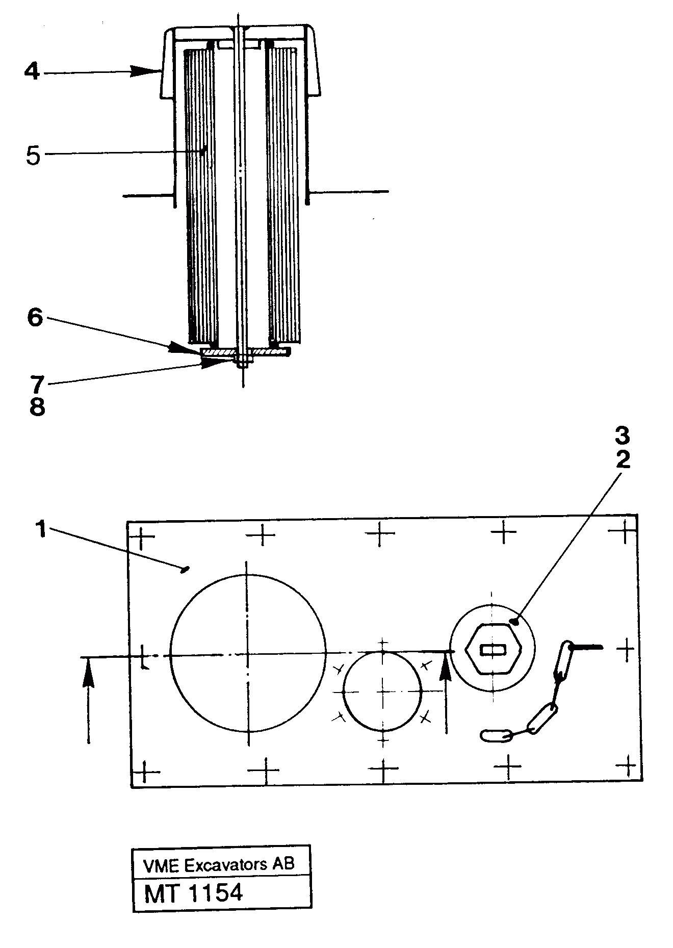
1

VOE 14244813

Cap

1шт.

2

VOE 11709041

Крышка

1шт.

2

VOE 11709041

Cover

1шт.

3

VOE 14014294

Прокладка

1шт.

3

VOE 14014294

Прокладка

1шт.

4

VOE 14040837

Крышка

1шт.

4

VOE 14040837

Cover

1шт.

5

VOE 14012919

Фильтр топливный

1шт.

5

VOE 14012919

Фильтр топливный

1шт.

6

VOE 14054062

Шайба

1шт.

6

VOE 14054062

Шайба

1шт.

7

VOE 14015061

Гайка

1шт.

7

VOE 14015061

Гайка

1шт.

8

VOE 14015157

Cotter Pin

1шт.

Выбрано товаров: 14