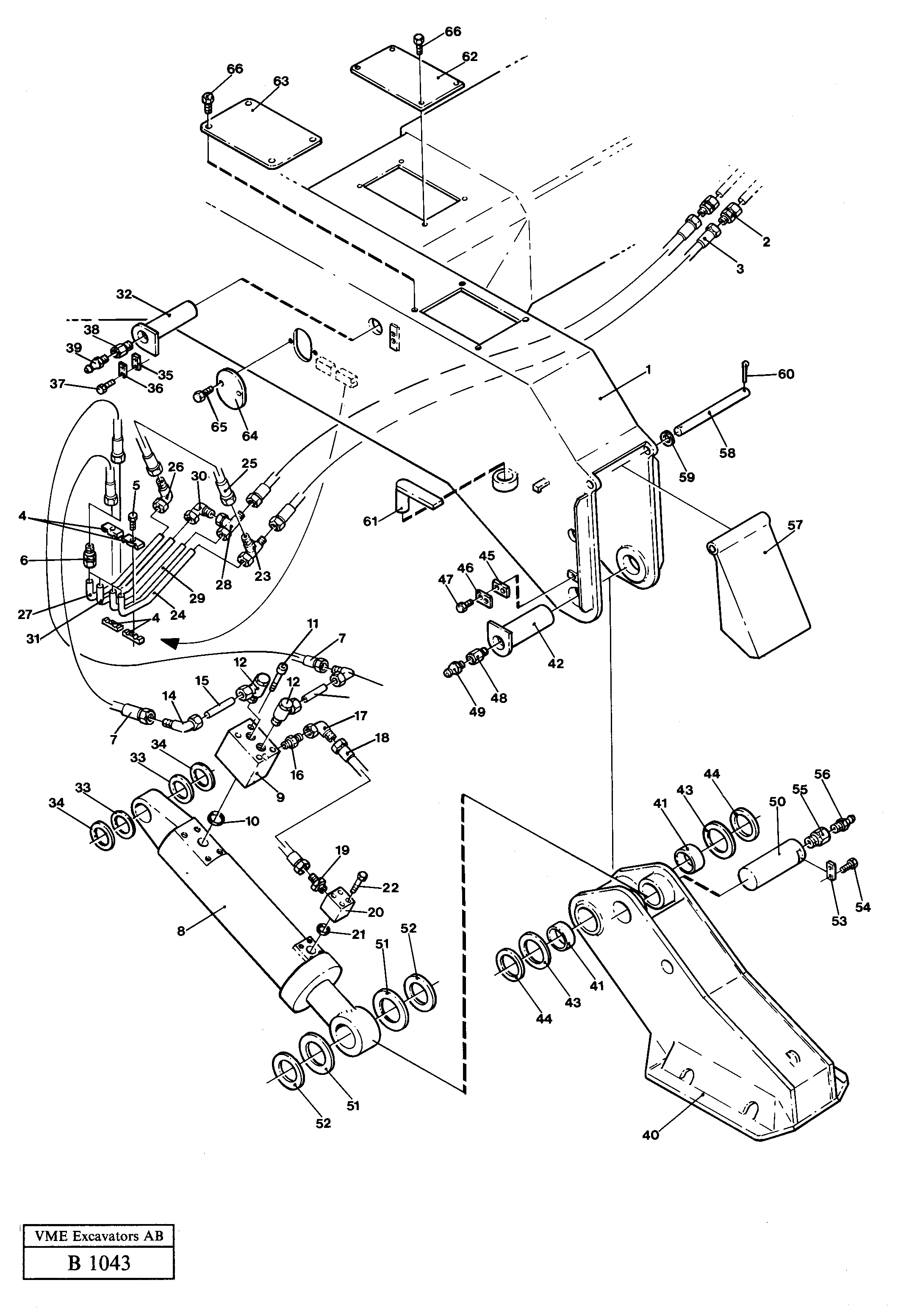
Запчасти Volvo EW230 ?KERMAN ?KERMAN EW230 SER NO - 1447 105655 Undercarriage 3m with 4 wide outriggers

Схема запчастей Volvo EW230 ?KERMAN ?KERMAN EW230 SER NO - 1447 - 105655 Undercarriage 3m with 4 wide outriggers
FIT
1:1
100%

Артикул

Название

Примечание

Количество

VOE 14255104

Шасси

K

1шт.

1

VOE 14255102

Шасси

1шт.

10

VOE 949659

Кольцо уплотнительное (О-кольцо)

1шт.

10

VOE 949659

Кольцо уплотнительное (О-кольцо)

1шт.

11

VOE 14014774

Болт

1шт.

12

VOE 14026152

Banjo fitting

1шт.

13

VOE 14047683

Tube Assembly

1шт.

14

VOE 14012489

14012489

1шт.

15

VOE 14047683

Tube Assembly

1шт.

16

VOE 14012423

14012423

1шт.

17

VOE 14012395

14012395

1шт.

18

VOE 14054176

Hydraulic hose

1шт.

19

VOE 14012423

14012423

1шт.

2

VOE 14012404

14012404

1шт.

2

VOE 14012404

Фиттинг

1шт.

20

VOE 14052633

Фланец

1шт.

21

VOE 949659

Кольцо уплотнительное (О-кольцо)

1шт.

21

VOE 949659

Кольцо уплотнительное (О-кольцо)

1шт.

22

VOE 955539

Винт шестигранник

1шт.

22

VOE 955539

Винт шестигранник

1шт.

23

VOE 14012481

14012481

1шт.

24

VOE 14235668

Tube Assembly

1шт.

25

VOE 14054176

Hydraulic hose

1шт.

26

VOE 14012489

14012489

1шт.

27

VOE 14235668

Tube Assembly

1шт.

28

VOE 14012481

14012481

1шт.

29

VOE 14235667

Tube Assembly

1шт.

3

VOE 14040484

Hydraulic hose

1шт.

30

VOE 14012395

14012395

1шт.

31

VOE 14235667

Tube Assembly

1шт.

32

VOE 14046906

14046906

1шт.

33

VOE 14053992

Вставка

1шт.

34

VOE 14042987

Вставка

THICK = 1,0

1шт.

35

VOE 14059294

Стопорная шайба (кольцо)

1шт.

35

VOE 14059294

Стопорная шайба (кольцо)

1шт.

36

VOE 14059397

Striker plate

1шт.

37

VOE 13970970

Винт шестигранник

1шт.

37

VOE 13970970

Винт шестигранник

1шт.

38

VOE 14041545

14041545

1шт.

39

VOE 14014069

Lubricating nipple

1шт.

39

VOE 14014069

Lubricating nipple

1шт.

4

VOE 14040349

Cap

1шт.

40

VOE 14255211

Stabilisor

1шт.

41

VOE 14023570

Втулка

1шт.

42

VOE 14046905

14046905

1шт.

43

VOE 14042987

Вставка

THICK = 1,0

1шт.

44

VOE 14047688

Вставка

THICK = 0,5

1шт.

45

VOE 14059294

Стопорная шайба (кольцо)

1шт.

45

VOE 14059294

Стопорная шайба (кольцо)

1шт.

46

VOE 14059397

Striker plate

1шт.

47

VOE 13970970

Винт шестигранник

1шт.

47

VOE 13970970

Винт шестигранник

1шт.

48

VOE 14041545

14041545

1шт.

49

VOE 14014069

Lubricating nipple

1шт.

49

VOE 14014069

Lubricating nipple

1шт.

5

VOE 955275

Винт шестигранник

1шт.

5

VOE 955275

Винт шестигранник

1шт.

50

VOE 14046907

14046907

1шт.

51

VOE 14042986

Кольцо уплотнительное

1шт.

52

VOE 14042987

Вставка

THICK = 1,0

1шт.

53

VOE 14040175

Striker plate

1шт.

54

VOE 13970970

Винт шестигранник

1шт.

54

VOE 13970970

Винт шестигранник

1шт.

55

VOE 14046104

14046104

1шт.

56

VOE 966786

Nipple

1шт.

56

VOE 966786

Nipple

1шт.

56

VOE 966786

Nipple

1шт.

57

VOE 14243181

Scraper Plate

1шт.

58

VOE 14048743

14048743

1шт.

59

VOE 955903

Шайба

1шт.

59

VOE 955903

Шайба

1шт.

6

VOE 14012404

14012404

1шт.

6

VOE 14012404

Фиттинг

1шт.

60

VOE 14015166

Cotter Pin

1шт.

61

VOE 14263424

Lock bolt

1шт.

62

VOE 14248728

Hatch

1шт.

63

VOE 14048755

Hatch

1шт.

64

VOE 14235679

Cap

1шт.

65

VOE 13955294

Болт

1шт.

65

VOE 13955294

Болт

1шт.

66

VOE 970945

Винт шестигранник

1шт.

66

VOE 970945

Винт шестигранник

1шт.

7

VOE 14056262

Hydraulic hose

1шт.

8

VOE 14243444

Гидроцилиндр

1шт.

9

VOE 14048665

Hydraulic lock

1шт.

9

VOE 14048665

Hydraulic lock

1шт.

Выбрано товаров: 86