Запчасти Volvo EW230 ?KERMAN ?KERMAN EW230 SER NO - 1447 52109 Quickfit, mechanical

Схема запчастей Volvo EW230 ?KERMAN ?KERMAN EW230 SER NO - 1447 - 52109 Quickfit, mechanical
FIT
1:1
100%

Артикул

Название

Примечание

Количество

VOE 14213570

Ремкомплект

1шт.

VOE 14213570

Ремкомплект

1шт.

VOE 951090

Retaining ring

1шт.

VOE 951090

Retaining ring

1шт.

VOE 14213551

Safety hook

1шт.

VOE 14213551

Safety hook

1шт.

VOE 14013647

Link bearing

1шт.

VOE 14013647

Link bearing

1шт.

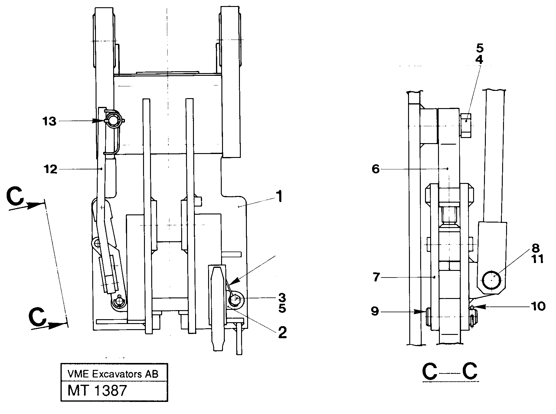
1

VOE 14233333

Quick attachment

1шт.

10

VOE 14015166

Cotter Pin

1шт.

11

VOE 907873

Cotter Pin

1шт.

12

VOE 14054563

14054563

1шт.

13

VOE 14015220

Ring Peg

1шт.

2

VOE 14054560

Knife

1шт.

3

VOE 14235517

Болт

1шт.

4

VOE 13955390

Болт

1шт.

4

VOE 13955390

Болт

1шт.

5

VOE 14054564

Втулка

1шт.

6

VOE 14236217

Тяга поворотная

1шт.

7

VOE 14236587

Тяга поворотная

1шт.

8

VOE 14050233

Pivot pin

1шт.

9

VOE 14056482

Pivot pin

1шт.

Выбрано товаров: 0