Запчасти Volvo EW230 ?KERMAN ?KERMAN EW230 SER NO - 1447 50991 Counter weight 2050kg

Схема запчастей Volvo EW230 ?KERMAN ?KERMAN EW230 SER NO - 1447 - 50991 Counter weight 2050kg
FIT
1:1
100%

Артикул

Название

Примечание

Количество

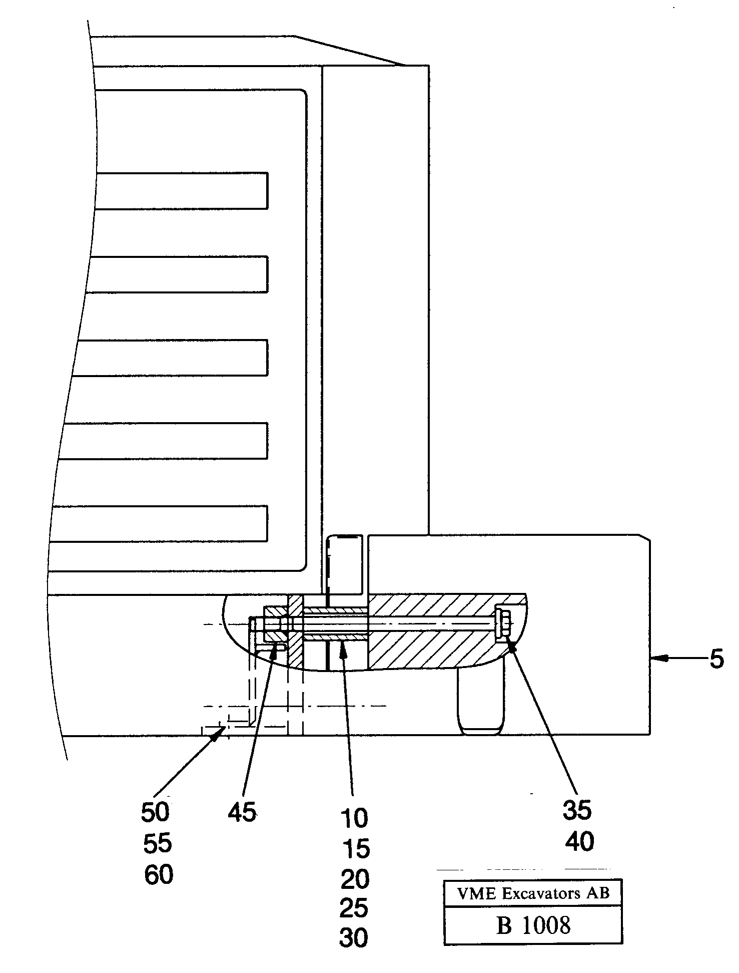
10

VOE 14233141

Вставка

1шт.

15

VOE 14233142

Вставка

1шт.

20

VOE 14233143

Вставка

1шт.

25

VOE 13955295

Болт

1шт.

25

VOE 13955295

Болт

1шт.

30

VOE 11055612

Шайба

1шт.

30

VOE 11055612

Шайба

1шт.

35

VOE 14233139

Болт

1шт.

35

VOE 14233139

Болт

1шт.

40

VOE 14040973

Шайба

1шт.

40

VOE 14040973

Шайба

1шт.

45

VOE 14232229

Гайка

1шт.

45

VOE 14232229

Гайка

1шт.

5

VOE 14049740

Противовес

1шт.

50

VOE 14235357

Тарелка клапана

1шт.

55

VOE 13930908

Шайба

1шт.

55

VOE 13930908

Шайба

1шт.

60

VOE 13970970

Винт шестигранник

1шт.

60

VOE 13970970

Винт шестигранник

1шт.

Выбрано товаров: 19