Запчасти Volvo EW230B 106476 Hose rupture valve, dipper arm cylinder EW230B SER NO 1736-

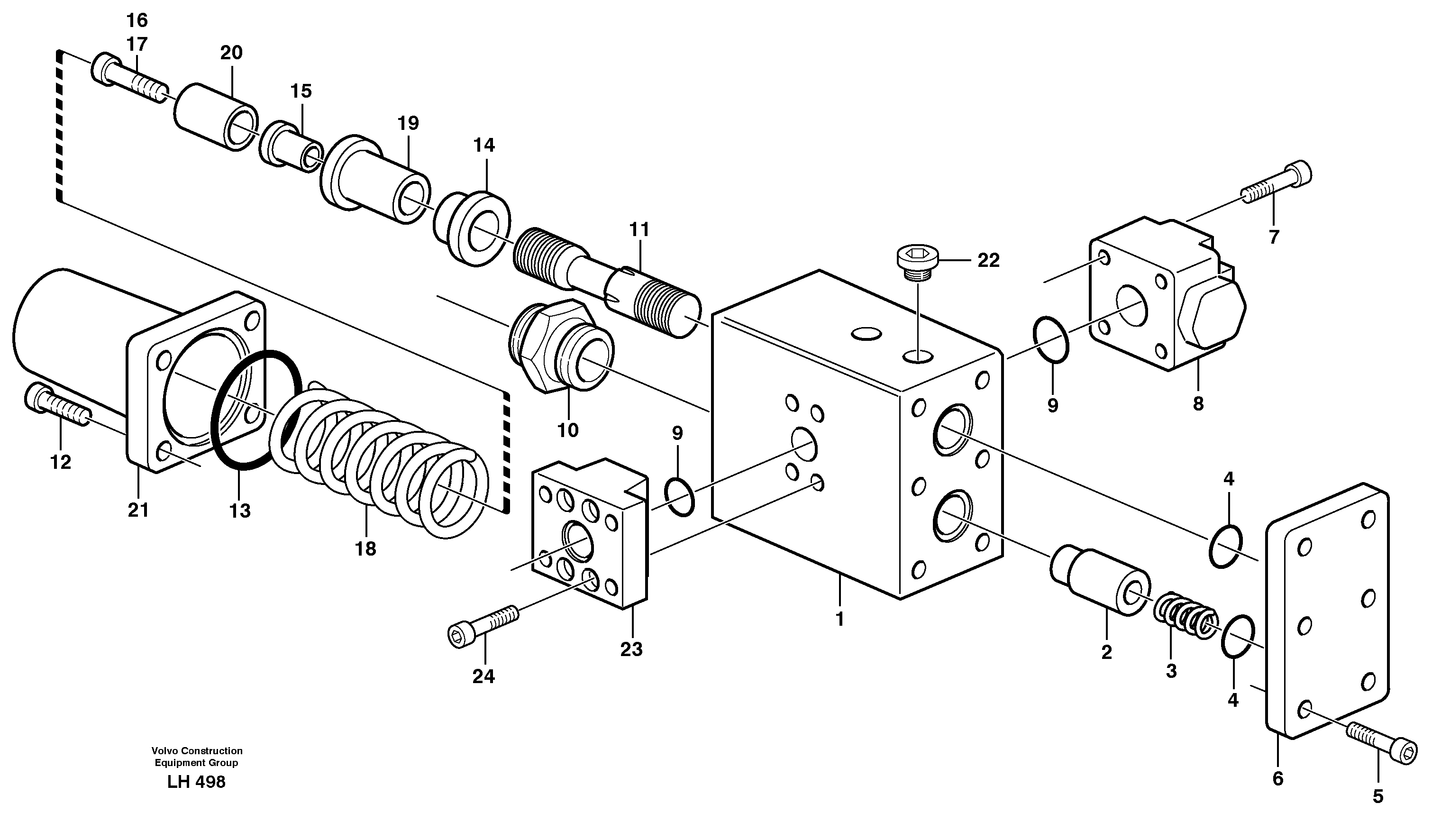
Схема запчастей Volvo EW230B - 106476 Hose rupture valve, dipper arm cylinder EW230B SER NO 1736-
FIT
1:1
100%

Артикул

Название

Примечание

Количество

VOE 14259737

Line Brk Valve

1шт.

1

VOE 14055988

Valve housing

1шт.

10

VOE 14012433

14012433

1шт.

11

VOE 14241321

Slide

1шт.

12

VOE 959223

Allen Hd Screw

1шт.

13

VOE 977016

Кольцо уплотнительное (О-кольцо)

1шт.

14

VOE 14048550

Spring disc

1шт.

15

VOE 14048553

Вставка

1шт.

16

VOE 959241

Винт шестигранник (торцевой ключ)

1шт.

17

VOE 14024293

Locking fluid

1шт.

17

VOE 14024293

Locking fluid

1шт.

18

VOE 14048552

Compression spring

1шт.

19

VOE 14048551

Spring disc

1шт.

2

VOE 14344561

Поршень

1шт.

20

VOE 14242160

Stop sleeve

1шт.

21

VOE 14048554

Крышка

1шт.

22

VOE 14023407

Пробка (заглушка)

1шт.

22

VOE 14023407

Пробка (заглушка)

1шт.

23

VOE 14231577

Вставка

1шт.

24

VOE 13959258

Allen Hd Screw

1шт.

3

VOE 14040429

Compression spring

1шт.

3

VOE 14040429

Compression spring

1шт.

4

VOE 949659

Кольцо уплотнительное (О-кольцо)

1шт.

4

VOE 949659

Кольцо уплотнительное (О-кольцо)

1шт.

5

VOE 13970947

Винт шестигранник

1шт.

5

VOE 13970947

Винт шестигранник

1шт.

6

VOE 14053843

Крышка

1шт.

7

VOE 13941747

Болт

1шт.

7

VOE 13941747

Болт

1шт.

8

VOE 14236021

Pressure limiting valve

1шт.

8

VOE 14236021

Pressure limiting valve

1шт.

9

VOE 925058

Кольцо уплотнительное (О-кольцо)

1шт.

9

VOE 925058

Кольцо уплотнительное (О-кольцо)

1шт.

Выбрано товаров: 33