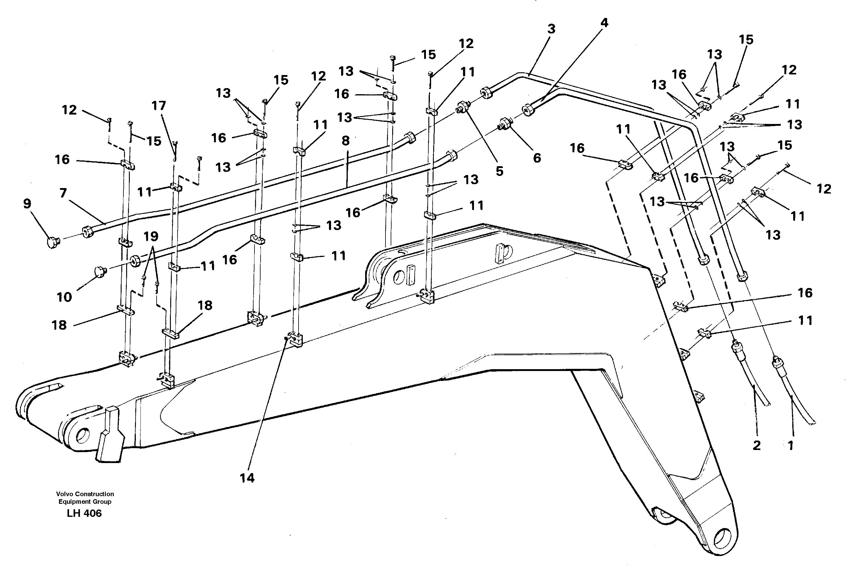
Запчасти Volvo EW230B 38725 Hammer hydraulics on monoboom, 5.20 m and 5.70 m EW230B SER NO 1736-

Схема запчастей Volvo EW230B - 38725 Hammer hydraulics on monoboom, 5.20 m and 5.70 m EW230B SER NO 1736-
FIT
1:1
100%

Артикул

Название

Примечание

Количество

1

VOE 14040276

Hydraulic hose

1шт.

1

VOE 14040276

Hydraulic hose

1шт.

10

VOE 14230148

Tube Plug

1шт.

11

VOE 14042045

Cap

1шт.

11

VOE 14042045

Cap

1шт.

12

VOE 13970985

Винт шестигранник

1шт.

12

VOE 13970985

Винт шестигранник

1шт.

13

VOE 13955897

Шайба

1шт.

13

VOE 13955897

Шайба

1шт.

14

VOE 14230329

Вставка

1шт.

15

VOE 13970984

Винт шестигранник

1шт.

15

VOE 13970984

Винт шестигранник

1шт.

16

VOE 14244373

Tube Clamp

1шт.

17

VOE 13970986

Винт шестигранник

1шт.

17

VOE 13970986

Винт шестигранник

1шт.

18

VOE 14249699

14249699

1шт.

19

VOE 970980

Винт шестигранник

1шт.

19

VOE 970980

Винт шестигранник

1шт.

2

VOE 14044349

Hydraulic hose

1шт.

2

VOE 14044349

Hydraulic hose

1шт.

3

VOE 14254498

Tube Assembly

1шт.

4

VOE 14249697

Tube Assembly

1шт.

5

VOE 14012409

14012409

1шт.

6

VOE 14012410

14012410

1шт.

7

VOE 14254486

Tube Assembly

1шт.

8

VOE 14240224

Tube Assembly

1шт.

9

VOE 14230147

Tube Plug

1шт.

Выбрано товаров: 27