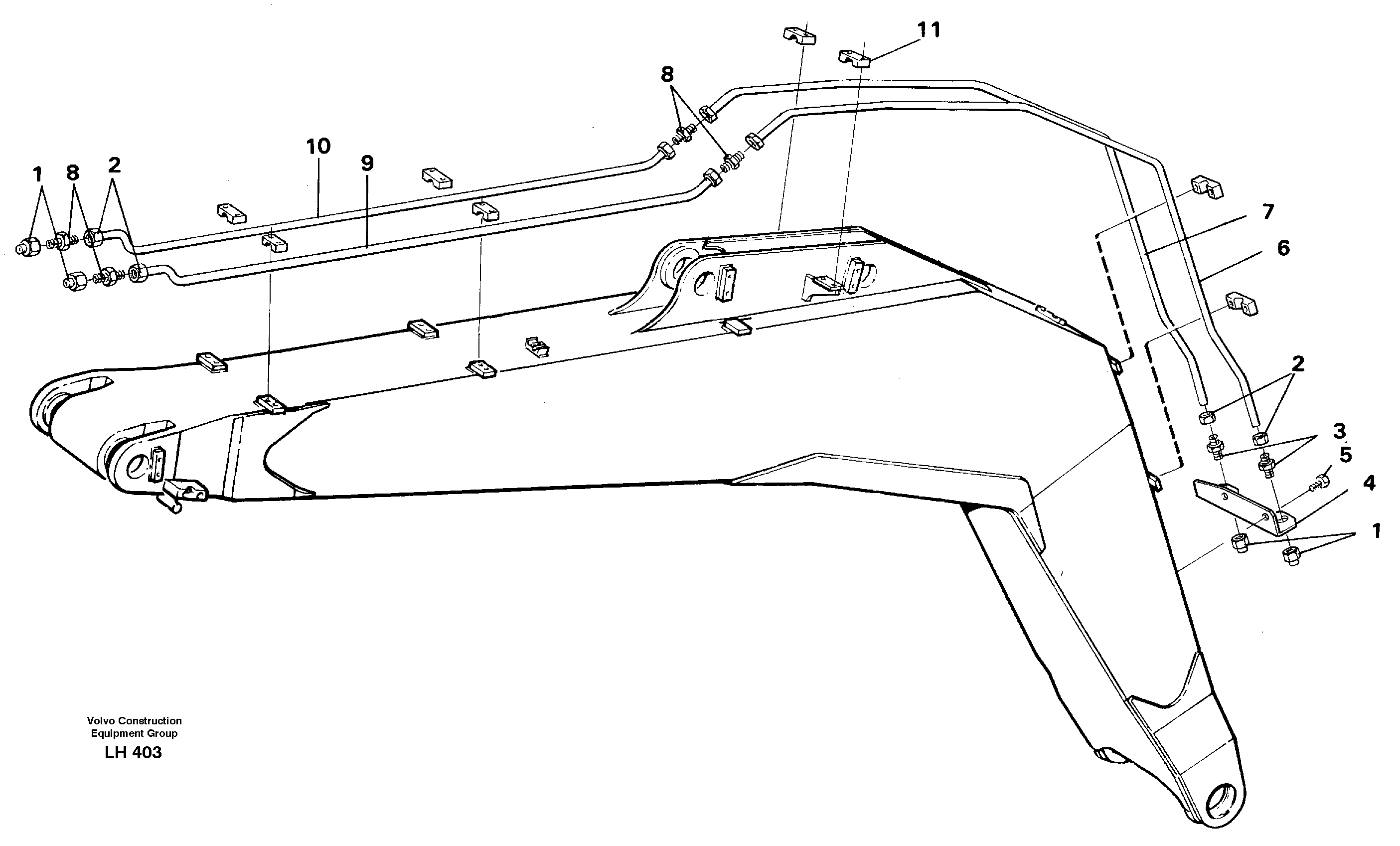
Запчасти Volvo EW230B 45094 Slope bucket and grab equipment on 5.20 m boom EW230B SER NO 1736-

Схема запчастей Volvo EW230B - 45094 Slope bucket and grab equipment on 5.20 m boom EW230B SER NO 1736-
FIT
1:1
100%

Артикул

Название

Примечание

Количество

1

VOE 13964090

Closure

1шт.

1

VOE 13964090

Closure

1шт.

10

VOE 14240212

Tube Assembly

1шт.

11

VOE 14244373

Tube Clamp

1шт.

2

VOE 14012452

Гайка

1шт.

2

VOE 14012452

Гайка

1шт.

3

VOE 14012472

14012472

1шт.

4

VOE 14244867

Тарелка клапана

1шт.

4

VOE 14244867

Тарелка клапана

1шт.

5

VOE 13970973

Винт шестигранник

1шт.

5

VOE 13970973

Винт шестигранник

1шт.

6

VOE 14249691

Tube Assembly

1шт.

7

VOE 14249692

Tube Assembly

1шт.

8

VOE 14012404

14012404

1шт.

8

VOE 14012404

Фиттинг

1шт.

9

VOE 14240211

Tube Assembly

1шт.

Выбрано товаров: 16