Запчасти Volvo EW230B 11697 Thermostatic valve EW230B ?KERMAN ?KERMAN EW230B

Схема запчастей Volvo EW230B - 11697 Thermostatic valve EW230B ?KERMAN ?KERMAN EW230B
FIT
1:1
100%

Артикул

Название

Примечание

Количество

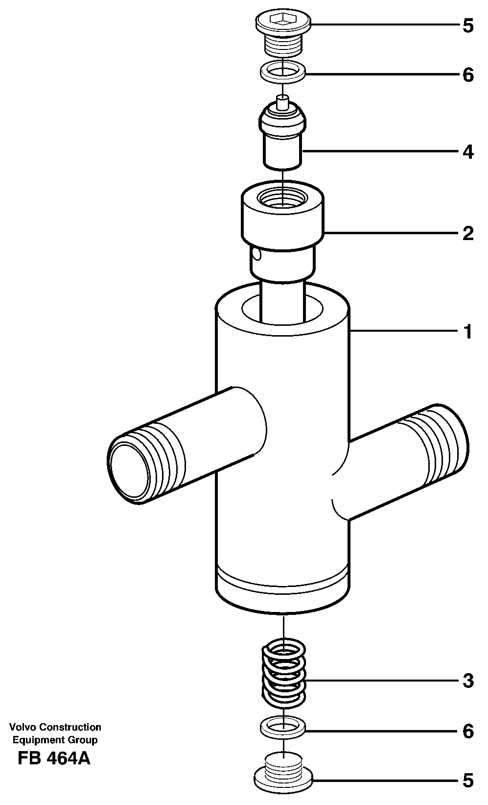
VOE 14344102

Термостат

1шт.

1

VOE 14344098

Valve Housing

1шт.

2

VOE 14344085

Slide

1шт.

2

VOE 14344085

Slide

1шт.

3

VOE 14344088

Пружина

1шт.

3

VOE 14344088

Пружина

1шт.

4

VOE 14268015

Термостат

1шт.

4

VOE 14268015

Термостат

1шт.

5

VOE 14023410

Tube Plug

1шт.

6

VOE 14211859

Кольцо уплотнительное

1шт.

6

VOE 14211859

Кольцо уплотнительное

1шт.

Выбрано товаров: 0