Запчасти Volvo EW230B 29735 Axle beam EW230B SER NO 1736-

Схема запчастей Volvo EW230B - 29735 Axle beam EW230B SER NO 1736-
FIT
1:1
100%

Артикул

Название

Примечание

Количество

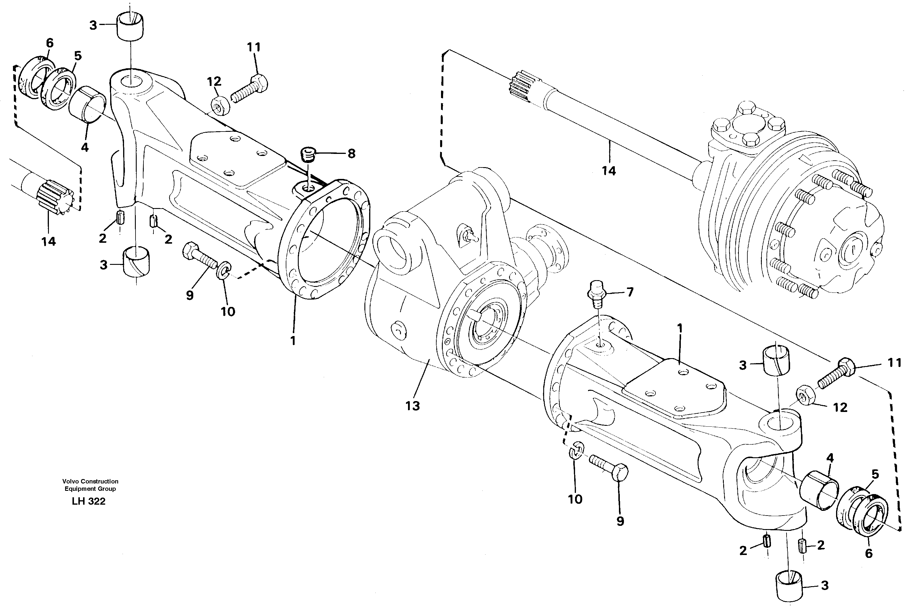
VOE 14214349

Main Axle Beam

LH

1шт.

VOE 14214303

Болт

L = 60mm

1шт.

VOE 14214303

Болт

L = 60mm

1шт.

VOE 14214348

Main Axle Beam

RH

1шт.

10

VOE 14214306

Стопорная шайба (кольцо)

1шт.

10

VOE 14214306

Стопорная шайба (кольцо)

1шт.

11

VOE 14026184

Болт

1шт.

11

VOE 14026184

Болт

1шт.

12

VOE 14212491

Гайка

1шт.

12

VOE 14212491

Гайка

1шт.

2

VOE 14212499

Spring pin

1шт.

3

VOE 14026189

Втулка

1шт.

3

VOE 14026189

Втулка

1шт.

4

VOE 14214317

Втулка

1шт.

4

VOE 14214317

Втулка

1шт.

5

VOE 14214316

Radial Seal

1шт.

6

VOE 14026034

Radial Seal

1шт.

7

VOE 14212501

Vent Nipple

1шт.

8

VOE 14214646

Tube Plug

1шт.

9

VOE 14215318

Винт шестигранник

L = 70mm

1шт.

9

VOE 14215318

Винт шестигранник

L = 70mm

1шт.

Выбрано товаров: 21