Запчасти Volvo FC2121C 22110 Electrical relay

Схема запчастей Volvo FC2121C - 22110 Electrical relay
FIT
1:1
100%

Артикул

Название

Примечание

Количество

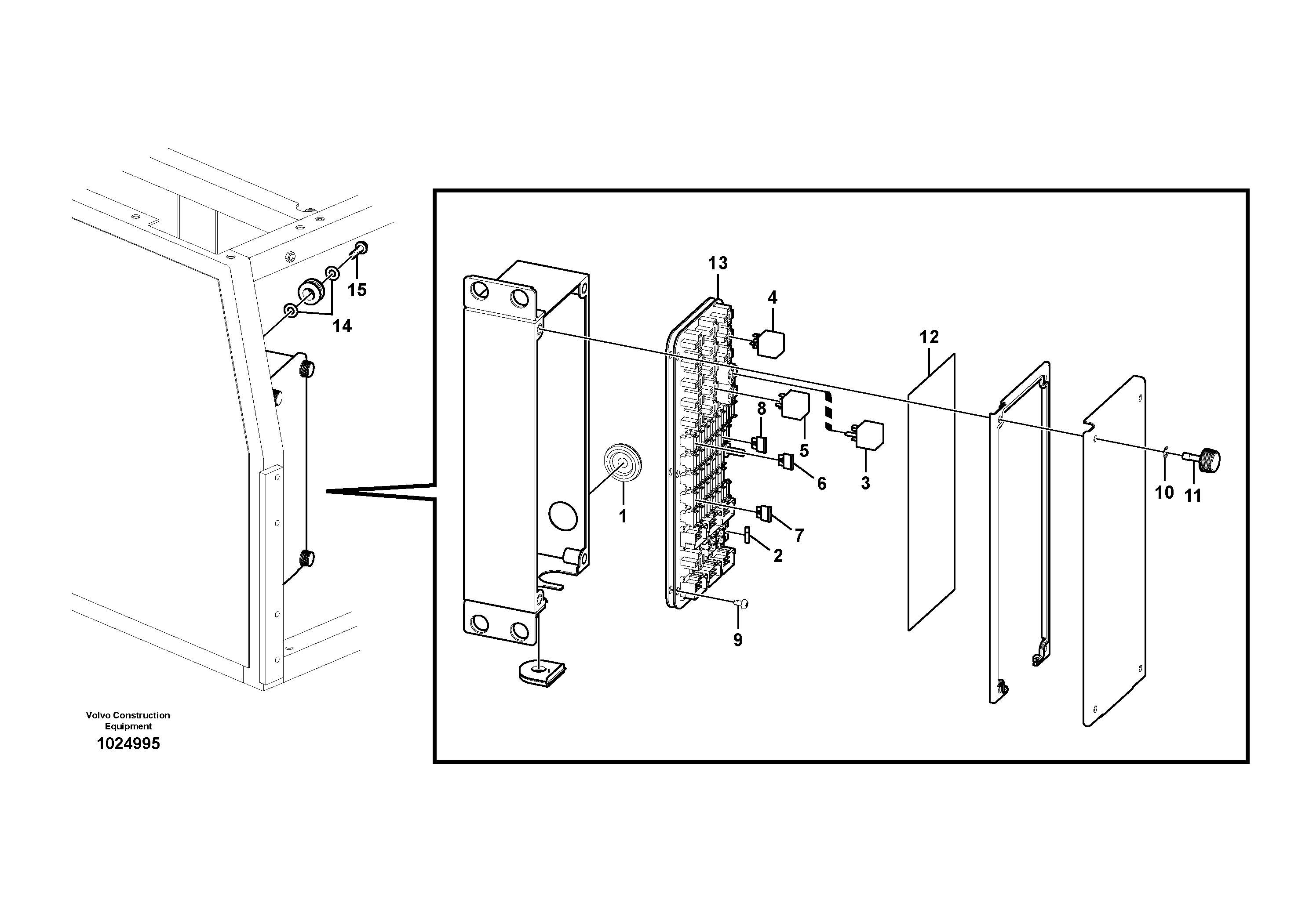
VOE 14607633

Fuse box

1шт.

1

VOE 943920

Пробка (заглушка)

1шт.

1

VOE 943920

Пробка (заглушка)

1шт.

10

SA 9531-00070

Кольцо

1шт.

11

VOE 14553990

Болт

1шт.

12

VOE 14608816

Decal

1шт.

13

VOE 14607634

Pcb

1шт.

14

VOE 960143

Шайба

1шт.

14

VOE 960143

Шайба

1шт.

15

VOE 946752

Flange screw

1шт.

2

VOE 14536585

Диод

1шт.

3

VOE 20390648

Реле

1шт.

4

VOE 14594545

Реле

1шт.

5

VOE 14536584

Timer

1шт.

6

VOE 969161

Fuse

1шт.

6

VOE 969161

Fuse

1шт.

7

VOE 978999

Fuse

1шт.

7

VOE 978999

Fuse

1шт.

8

VOE 13969162

Fuse

1шт.

8

VOE 13969162

Fuse

1шт.

9

VOE 969420

Винт шестигранник (торцевой ключ)

1шт.

9

VOE 969420

Винт шестигранник (торцевой ключ)

1шт.

Выбрано товаров: 22