Запчасти Volvo L20B 14157 Двигатель в сборе L20B TYPE 170 SER NO - 0499

Схема запчастей Volvo L20B - 14157 Двигатель в сборе L20B TYPE 170 SER NO - 0499
FIT
1:1
100%

Артикул

Название

Примечание

Количество

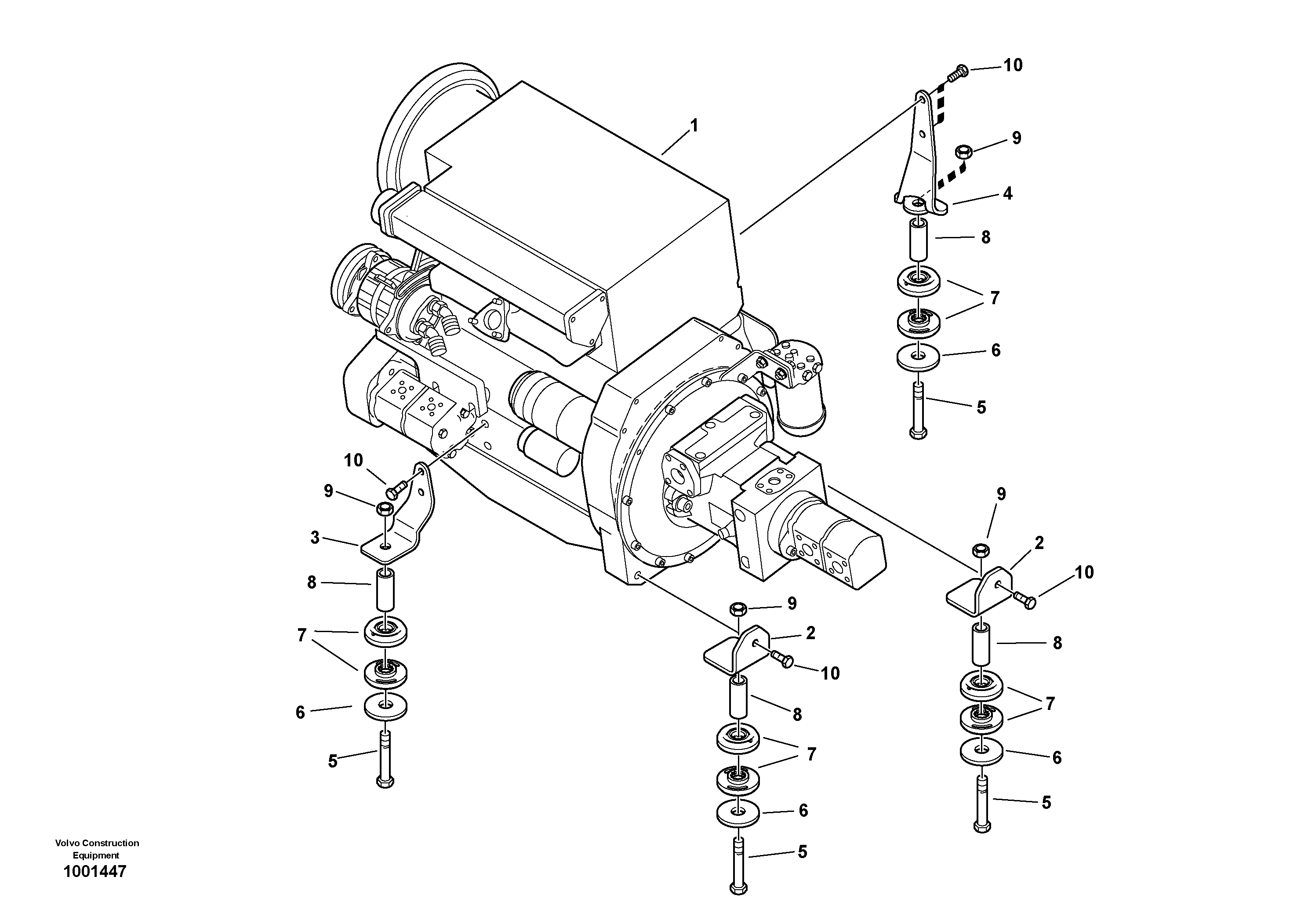
1

ZM 2814962

Engine, cpl

1шт.

1

VOE 11305072

Двигатель в сборе (дизель)

USA

1шт.

1

VOE 11305656

Двигатель в сборе (дизель)

1шт.

10

VOE 980056

Flange screw

1шт.

10

VOE 980056

Flange screw

1шт.

2

ZM 2817050

Тарелка клапана

1шт.

2

ZM 2817050

Retainer

1шт.

3

ZM 2817052

Тарелка клапана

1шт.

3

ZM 2817052

Retainer

1шт.

4

ZM 2817239

Retainer

1шт.

4

ZM 2817239

Тарелка клапана

1шт.

5

VOE 978953

Болт

1шт.

5

VOE 978953

Винт шестигранник

1шт.

6

ZM 2814435

Шайба

1шт.

6

ZM 2814435

Шайба

1шт.

7

ZM 2811225

Buffer

1шт.

7

ZM 2811225

Buffer

1шт.

8

ZM 2812436

Трубка

1шт.

8

ZM 2812436

Трубка

1шт.

9

VOE 982489

Lock nut

1шт.

9

VOE 982489

Lock nut

1шт.

Выбрано товаров: 21