Запчасти Volvo L20F 106679 Load hook, telescopically ATTACHMENTS ATT. COMPACT WHEEL LOADERS GEN. F

Схема запчастей Volvo L20F - 106679 Load hook, telescopically ATTACHMENTS ATT. COMPACT WHEEL LOADERS GEN. F
FIT
1:1
100%

Артикул

Название

Примечание

Количество

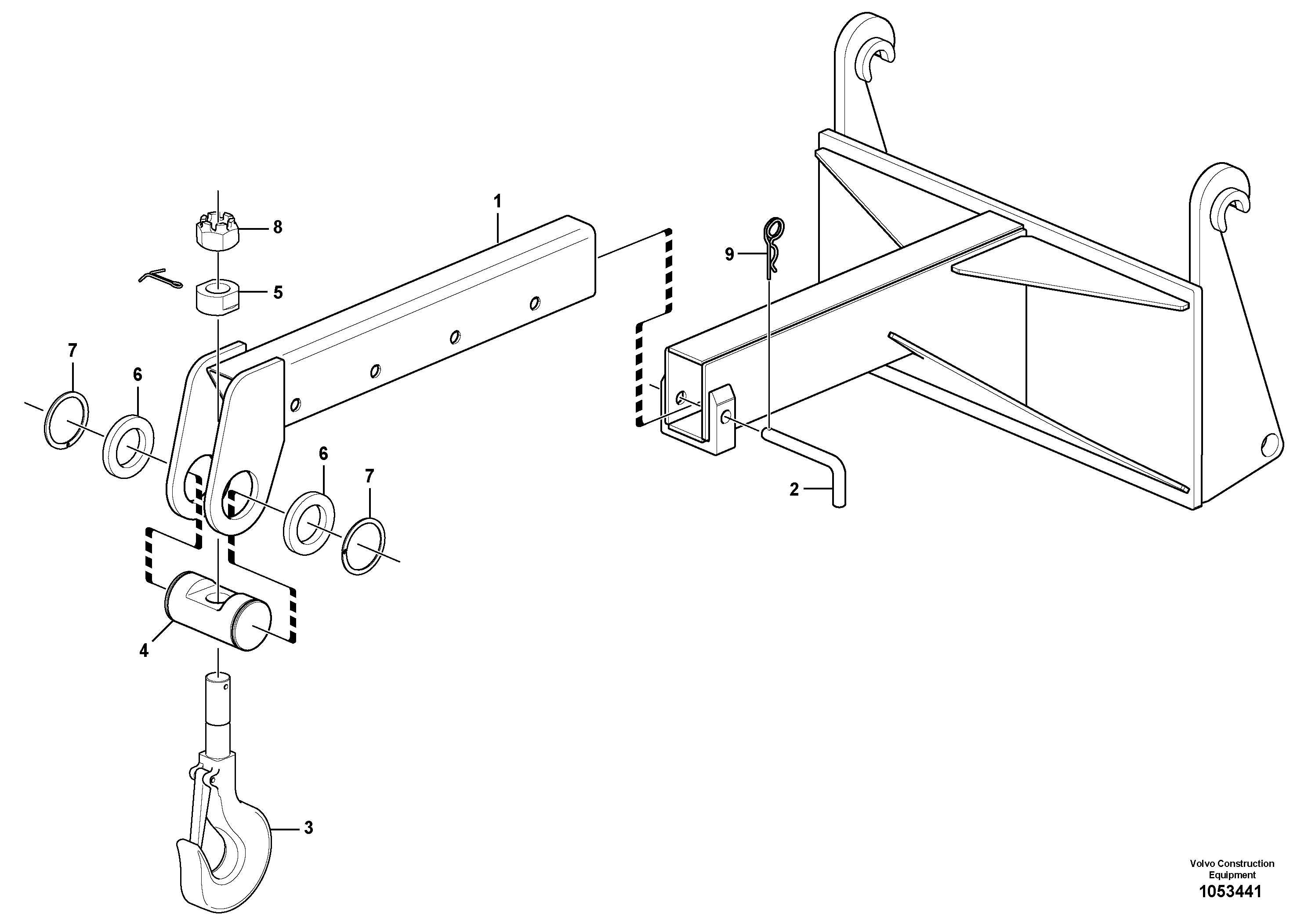
1

VOE 11308070

Telescopic arm

1шт.

2

VOE 11308076

Болт

1шт.

3

VOE 11308053

Lifting hook

1шт.

4

VOE 11308054

Палец

1шт.

5

VOE 11308055

Гайка

1шт.

6

VOE 11308051

Шайба

1шт.

7

VOE 914488

Retaining ring

1шт.

8

VOE 11308052

Castle nut

1шт.

9

VOE 11305200

Retaining pin

1шт.

9

VOE 11305200

Retaining pin

1шт.

Выбрано товаров: 0