Запчасти Volvo L30 15984 Распредвал L30 L30

Схема запчастей Volvo L30 - 15984 Распредвал L30 L30
FIT
1:1
100%

Артикул

Название

Примечание

Количество

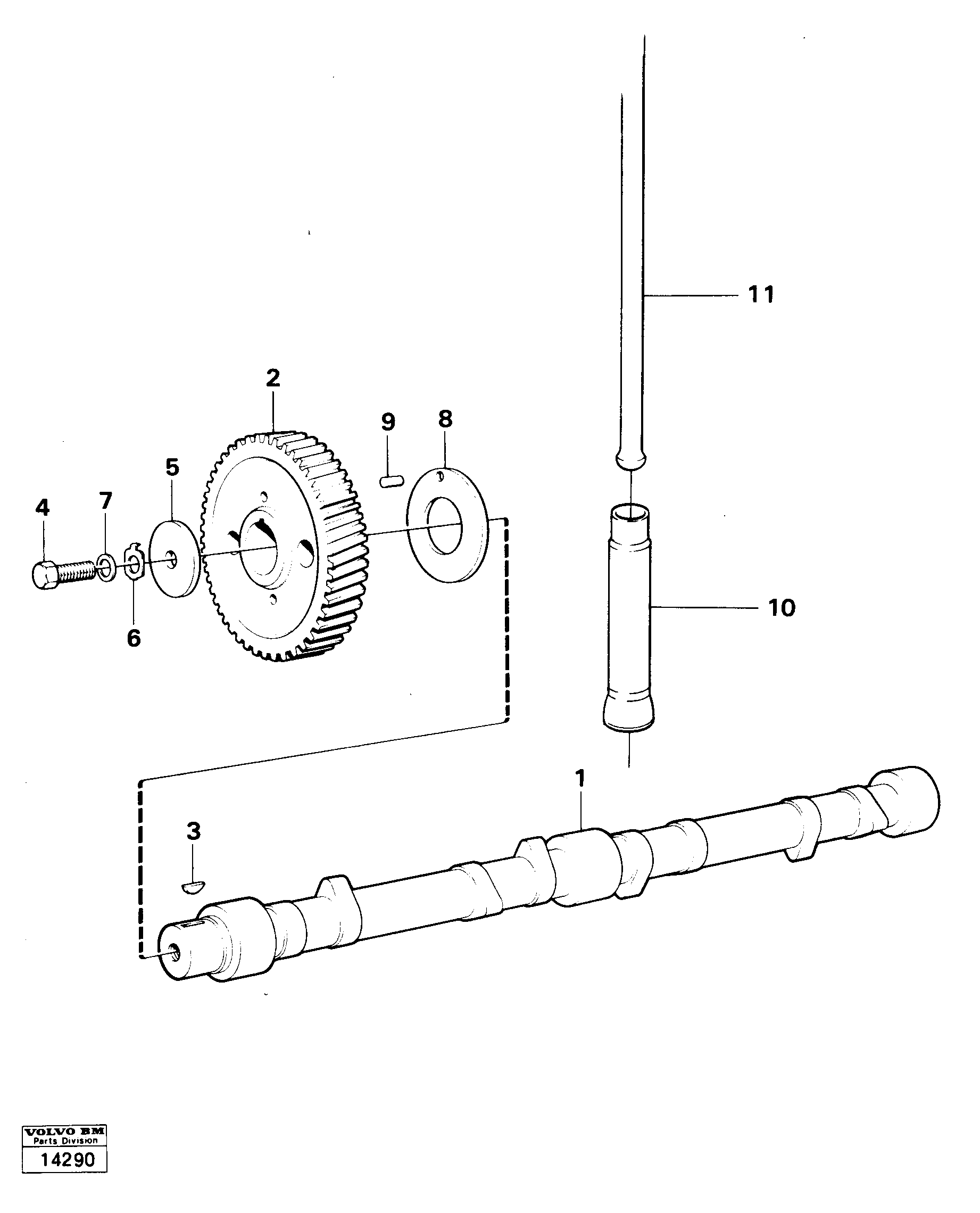
1

VOE 7483704

Распредвал

1шт.

10

VOE 3976551

Tappet

1шт.

11

VOE 483371

Толкатель штанги

1шт.

2

VOE 11991730

Gear

1шт.

3

VOE 483448

Key

1шт.

3

VOE 483448

Key

1шт.

4

VOE 955707

Винт шестигранник

1шт.

4

VOE 955707

Болт

1шт.

5

VOE 483378

Шайба

1шт.

6

VOE 483379

Стопорная шайба (кольцо)

1шт.

7

VOE 6613316

Wear washer

1шт.

8

VOE 483380

Шайба

1шт.

9

VOE 6210552

6210552

1шт.

Выбрано товаров: 13