Запчасти Volvo L30 15985 Головка блока цилиндров L30 L30

Схема запчастей Volvo L30 - 15985 Головка блока цилиндров L30 L30
FIT
1:1
100%

Артикул

Название

Примечание

Количество

VOE 6642514

Шайба

1шт.

VOE 11996105

Lock

1шт.

VOE 6212979

Gasket kit

1шт.

VOE 6212979

Gasket kit

1шт.

VOE 11996112

Gasket kit

1шт.

VOE 11996112

Gasket kit

1шт.

VOE 11996053

Клапан

1шт.

VOE 11996048

Guide

EXHAUST / AVGAS

1шт.

VOE 11705294

Valve guide

INLET / INSUG

1шт.

VOE 11996054

Клапан

EXHAUST / AVGAS

1шт.

VOE 11996059

Valve seat

0,010" O SZ

1шт.

VOE 11996060

Valve seat

0,020" O SZ

1шт.

VOE 11993592

Valve seat

STD, INLET / INSUG

1шт.

VOE 11994595

Вал

1шт.

VOE 6642539

Втулка

1шт.

VOE 6642539

Втулка

1шт.

VOE 11996004

Головка блока цилиндров

1шт.

VOE 11996062

Valve seat

0,010" O SZ

1шт.

VOE 11996063

Valve seat

0,020" O SZ

1шт.

VOE 11996064

Valve seat

0,030" O SZ

1шт.

VOE 11996061

Valve seat

0,030" O SZ

1шт.

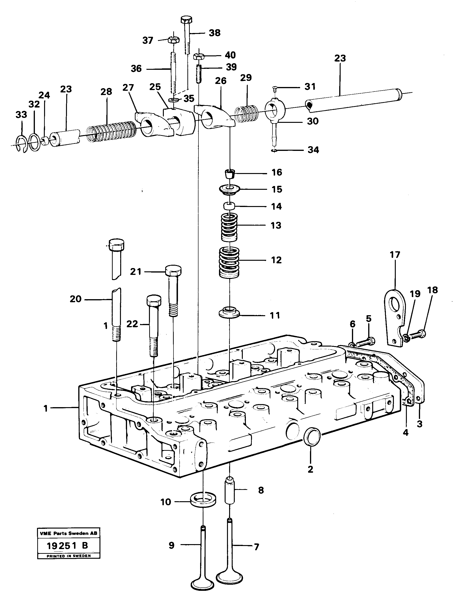
1

VOE 11993590

Головка блока цилиндров

1шт.

10

VOE 11993591

Valve seat

STD, EXHAUST / AVGAS

1шт.

11

VOE 483327

Шайба

1шт.

12

VOE 11991724

Пружина

1шт.

13

VOE 11991725

Пружина

1шт.

14

VOE 11991723

Сальник

1шт.

15

VOE 11991726

Spring plate

1шт.

16

VOE 483530

483530

1шт.

18

VOE 955674

Болт

1шт.

18

VOE 955674

Винт шестигранник

1шт.

19

VOE 13942336

Шайба пружинная

1шт.

19

VOE 13942336

Шайба пружинная

1шт.

2

VOE 483460

Cap plug

1шт.

20

VOE 11993593

Болт

L = 139

1шт.

21

VOE 11993594

Болт

L = 118

1шт.

22

VOE 11993595

Болт

L = 103

1шт.

23

VOE 483361

Ось (вал) коромысла

1шт.

23

VOE 483361

Ось (вал) коромысла

1шт.

24

VOE 6613201

Пробка (заглушка)

1шт.

24

VOE 6613201

Пробка (заглушка)

1шт.

25

VOE 11997850

Bearing bracket

(11996149)

1шт.

25

VOE 11997850

Bearing bracket

(11996149)

1шт.

26

VOE 11996043

Коромысло клапанов

1шт.

27

VOE 11996044

Коромысло клапанов

(7483366)

1шт.

28

VOE 483363

Пружина

1шт.

28

VOE 483363

Пружина

1шт.

29

VOE 483364

Пружина

1шт.

29

VOE 483364

Пружина

1шт.

3

VOE 11996047

Cap

1шт.

30

VOE 483681

Трубка

1шт.

31

VOE 192285

Болт

1шт.

32

VOE 7483362

Шайба

1шт.

33

VOE 483470

Lock ring

1шт.

33

VOE 483470

Lock ring

1шт.

34

VOE 483510

Кольцо уплотнительное

1шт.

34

VOE 483510

Кольцо уплотнительное

1шт.

35

VOE 955896

Шайба

1шт.

35

VOE 955896

Шайба

1шт.

36

VOE 11993986

Шпилька

1шт.

37

VOE 13955849

Гайка

1шт.

38

VOE 11996006

Болт

1шт.

39

VOE 3976859

Шпилька

1шт.

39

VOE 3976859

Шпилька

1шт.

4

VOE 11993155

Прокладка

1шт.

40

VOE 940175

Гайка

1шт.

40

VOE 940175

Гайка

1шт.

5

VOE 955657

Винт шестигранник

1шт.

5

VOE 955657

Болт

1шт.

6

VOE 13941907

Шайба пружинная

1шт.

6

VOE 13941907

Шайба

1шт.

7

VOE 484070

Клапан

1шт.

8

VOE 11705753

Valve guide

EXHAUST / AVGAS

1шт.

9

VOE 11700967

Клапан выпускной

EXHAUST / AVGAS

1шт.

Выбрано товаров: 74