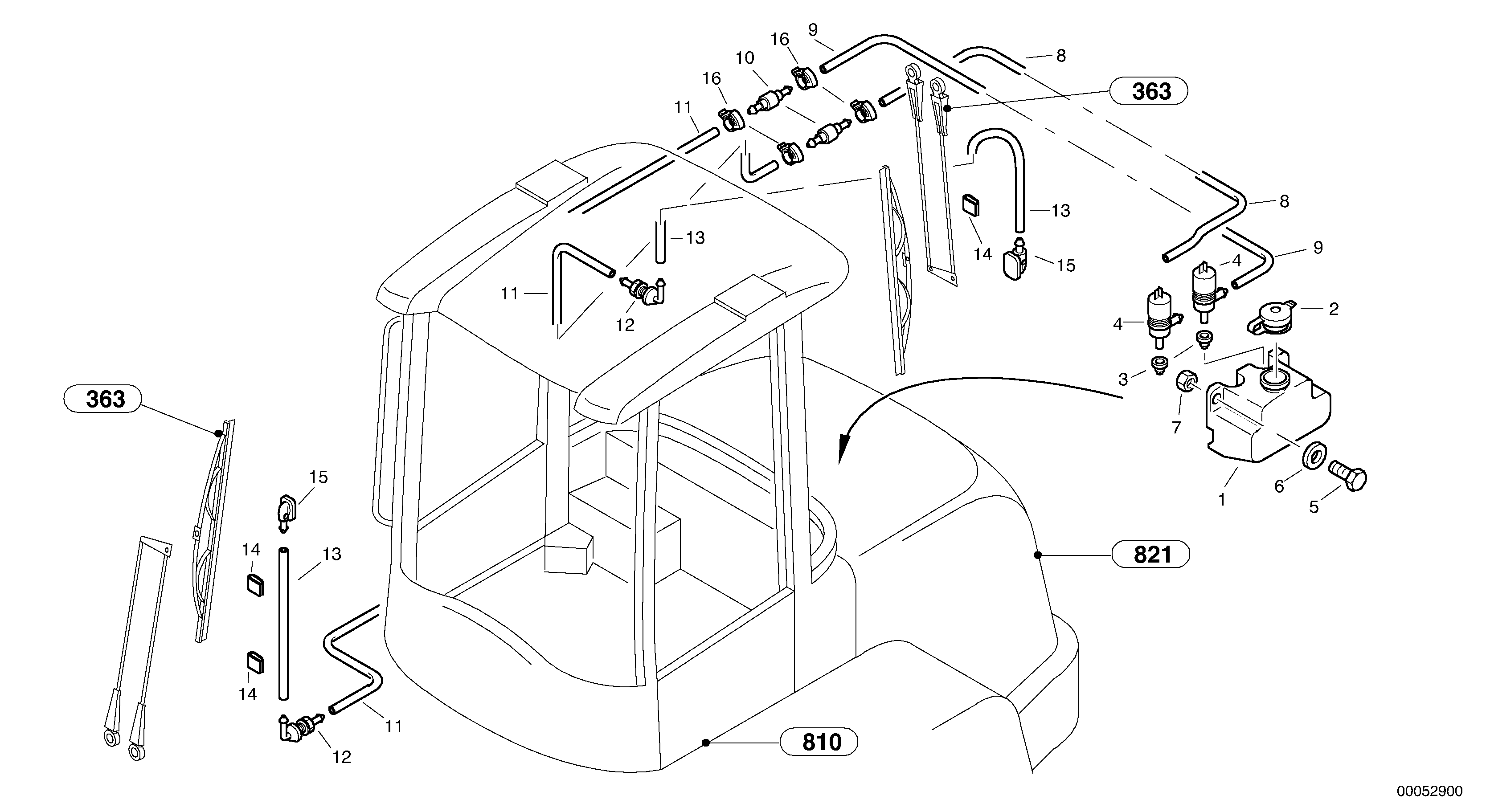
Запчасти Volvo L30B 38827 Windscreen washer system L30B TYPE 183, 185 SER NO - 2999

Схема запчастей Volvo L30B - 38827 Windscreen washer system L30B TYPE 183, 185 SER NO - 2999
FIT
1:1
100%

Артикул

Название

Примечание

Количество

1

ZM 2801189

Бак

1шт.

10

ZM 4385703

Клапан

1шт.

11

ZM 2907180

Шланг

1шт.

12

ZM 4383312

Nipple

1шт.

13

ZM 4383311

Шланг

L=1000mm

1шт.

14

VOE 4803208

Зажим

1шт.

14

VOE 4803208

Зажим

1шт.

15

ZM 4385702

Jet

1шт.

16

ZM 2811426

Hose clamp

1шт.

2

ZM 2801190

Крышка

1шт.

3

ZM 2801191

Прокладка

1шт.

4

VOE 11305471

Насос

1шт.

5

ZM 7095370

Болт

M8x16

1шт.

5

ZM 7095370

Болт

M8x16

1шт.

6

VOE 11307560

Шайба

B8,4

1шт.

7

ZM 7098010

Гайка

M8

1шт.

8

ZM 2812448

Шланг

L = 320MM

1шт.

9

ZM 2806693

Шланг

1шт.

Выбрано товаров: 18