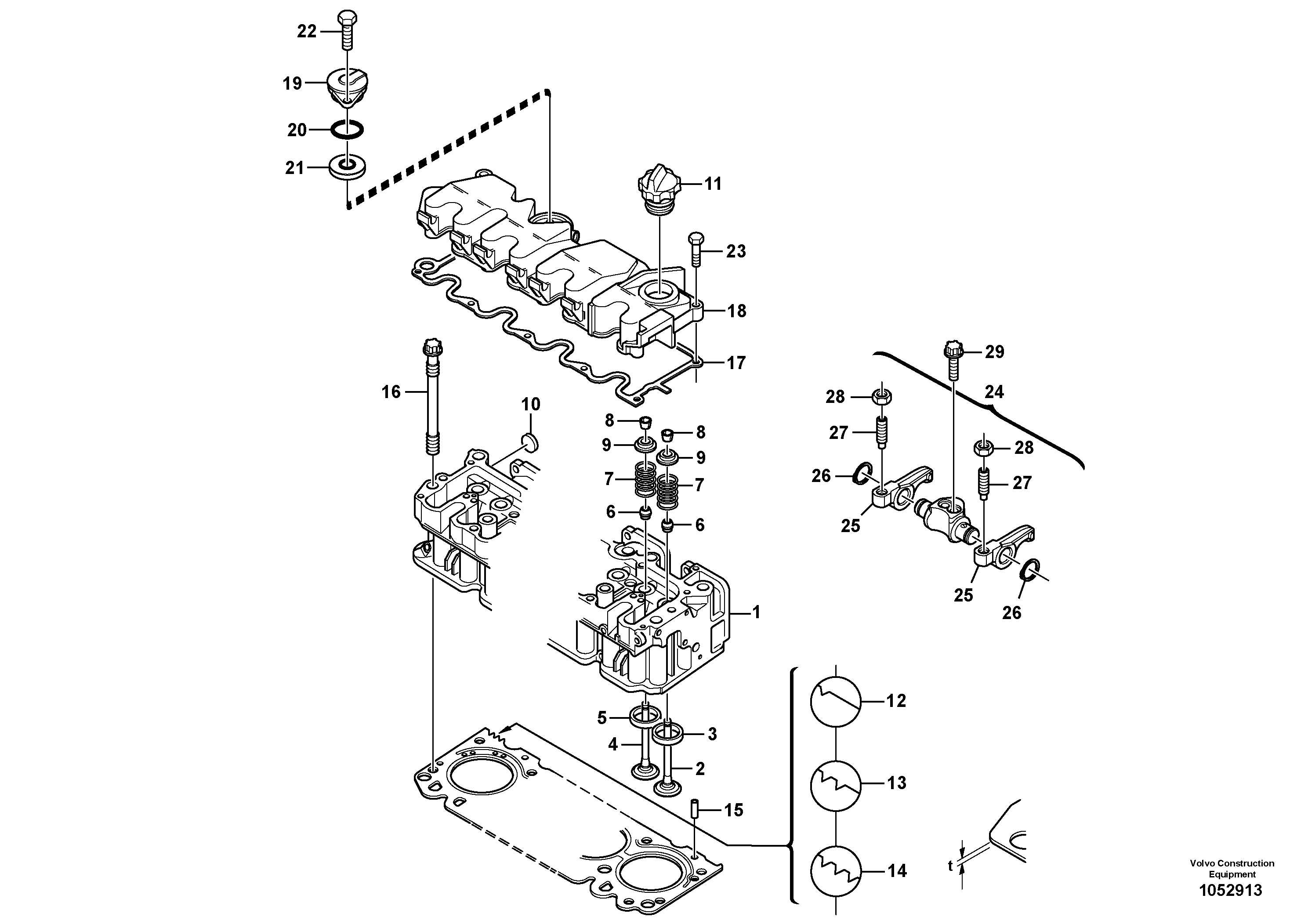
Запчасти Volvo L30B 46553 Cylinder head, timing gears L30B TYPE 182, 183, 185 SER NO 3000 -

Схема запчастей Volvo L30B - 46553 Cylinder head, timing gears L30B TYPE 182, 183, 185 SER NO 3000 -
FIT
1:1
100%

Артикул

Название

Примечание

Количество

1

VOE 15052891

Головка блока цилиндров

1шт.

1

VOE 11715744

Головка блока цилиндров

1шт.

10

ZM 2906743

Крышка

1шт.

11

ZM 2904064

Filler cap

1шт.

11

ZM 2904064

Filler cap

1шт.

12

VOE 15052907

Прокладка головки цилиндра

THICK = 1,47 MM

1шт.

12

VOE 11715533

Прокладка головки цилиндра

THICK = 1,48 MM

1шт.

13

VOE 11715534

Прокладка головки цилиндра

THICK = 1,55 MM

1шт.

13

VOE 15052909

Прокладка головки цилиндра

THICK = 1,52 MM

1шт.

14

VOE 11715536

Прокладка головки цилиндра

THICK = 1,60 MM

1шт.

14

VOE 15052899

Прокладка головки цилиндра

THICK = 1,57 MM

1шт.

15

VOE 21033924

Guide pin

1шт.

16

ZM 2904092

Cylinder head screw

1шт.

17

VOE 11370601

Прокладка

1шт.

18

VOE 11715742

Крышка клапанная (головки цилиндров)

1шт.

19

VOE 11370605

Release valve

1шт.

2

VOE 11715747

Клапан впускной

1шт.

20

ZM 2904066

Кольцо уплотнительное (О-кольцо)

1шт.

21

VOE 15154076

Oil separator

1шт.

22

VOE 11370258

Винт шестигранник

1шт.

23

ZM 2908485

Болт

1шт.

24

ZM 2290529

Valve rocker support

1шт.

25

ZM 2290526

Коромысло клапанов

1шт.

26

ZM 7094952

Safety ring

18x1,2

1шт.

27

ZM 2290527

регулировочный винт

1шт.

28

VOE 11700373

Гайка

1шт.

28

VOE 11700373

Гайка

1шт.

29

VOE 20459853

Болт

1шт.

29

VOE 20459853

Болт

1шт.

3

VOE 15052905

Valve seat

1шт.

3

VOE 11715746

Valve seat ring

1шт.

4

ZM 2908492

Клапан выпускной

1шт.

5

ZM 2290500

Valve seat ring

37,27 mm

1шт.

5

VOE 15052901

Valve seat

1шт.

5

VOE 11370184

Valve seat ring

37,07 mm

1шт.

5

VOE 11370184

Valve seat ring

37,07 mm

1шт.

6

VOE 20459855

Valve seal

1шт.

6

VOE 20459855

Valve seal

1шт.

7

ZM 2904091

Pressure spring

1шт.

8

VOE 20459857

Valve Cone

1шт.

9

VOE 15053220

Шайба

1шт.

Выбрано товаров: 41