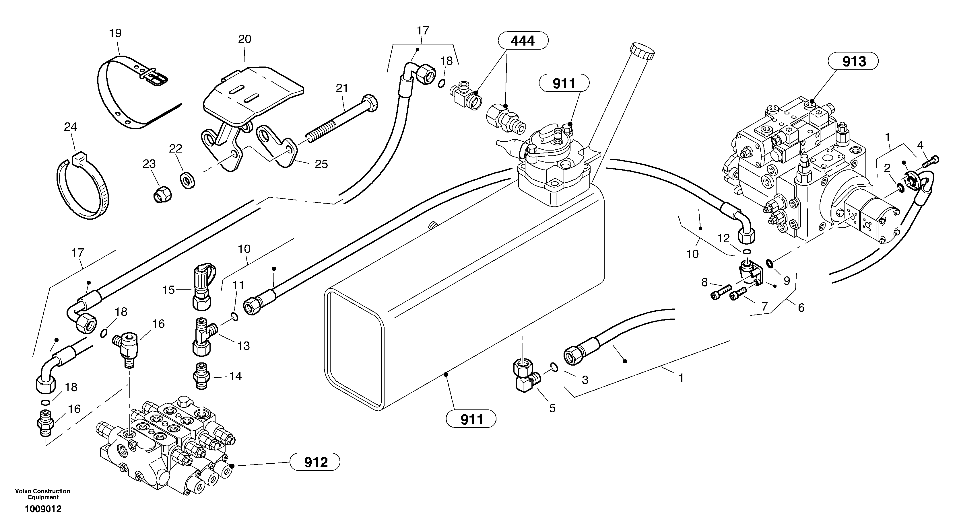
Запчасти Volvo L30B 69836 Lines - rear vehicle L30B TYPE 182, 183, 185 SER NO 3000 -

Схема запчастей Volvo L30B - 69836 Lines - rear vehicle L30B TYPE 182, 183, 185 SER NO 3000 -
FIT
1:1
100%

Артикул

Название

Примечание

Количество

1

ZM 2808894

Шланг

1шт.

10

VOE 11306504

Шланг

1шт.

11

ZM 2259050

Кольцо уплотнительное (О-кольцо)

13x2

1шт.

12

ZM 2259050

Кольцо уплотнительное (О-кольцо)

13x2

1шт.

13

VOE 944260

T-nipple

L15, -1823012

1шт.

13

VOE 944260

T-nipple

L15, -1823012

1шт.

13

VOE 11306933

Фиттинг

1823013-/1833057-

1шт.

14

ZM 4339658

Винт (торцевой ключ)

L15G1/2 B

1шт.

15

ZM 2807418

Testing sleeve

1шт.

16

ZM 7091970

Фиттинг

1шт.

18

ZM 2259053

Кольцо уплотнительное (О-кольцо)

19x2,5

1шт.

19

ZM 4346043

Strap

1шт.

2

ZM 8099962

Кольцо уплотнительное (О-кольцо)

32x2,5

1шт.

20

ZM 2813538

Holder

1шт.

21

VOE 13946474

Flange screw

S/N - 1826017

1шт.

21

VOE 13946817

Болт

S/N 1826018 -

1шт.

21

VOE 13946817

Болт

S/N 1826018 -

1шт.

22

VOE 13955897

Шайба

B13

1шт.

22

VOE 13955897

Шайба

B13

1шт.

23

ZM 4334181

Гайка

VM12

1шт.

24

ZM 2809866

Cable tie

1шт.

24

ZM 2809866

Cable tie

1шт.

25

ZM 2816384

Пластина

1шт.

3

VOE 11707740

Кольцо уплотнительное (О-кольцо)

1шт.

4

VOE 984064

Allen Hd Screw

M8x20

1шт.

5

VOE 11305363

Elbow nipple

L35

1шт.

6

VOE 11305560

Фиттинг

1шт.

7

ZM 7096556

Болт

M6x22

1шт.

8

ZM 8096552

Болт

M6x35

1шт.

9

ZM 2030670

Кольцо уплотнительное (О-кольцо)

1шт.

Выбрано товаров: 30