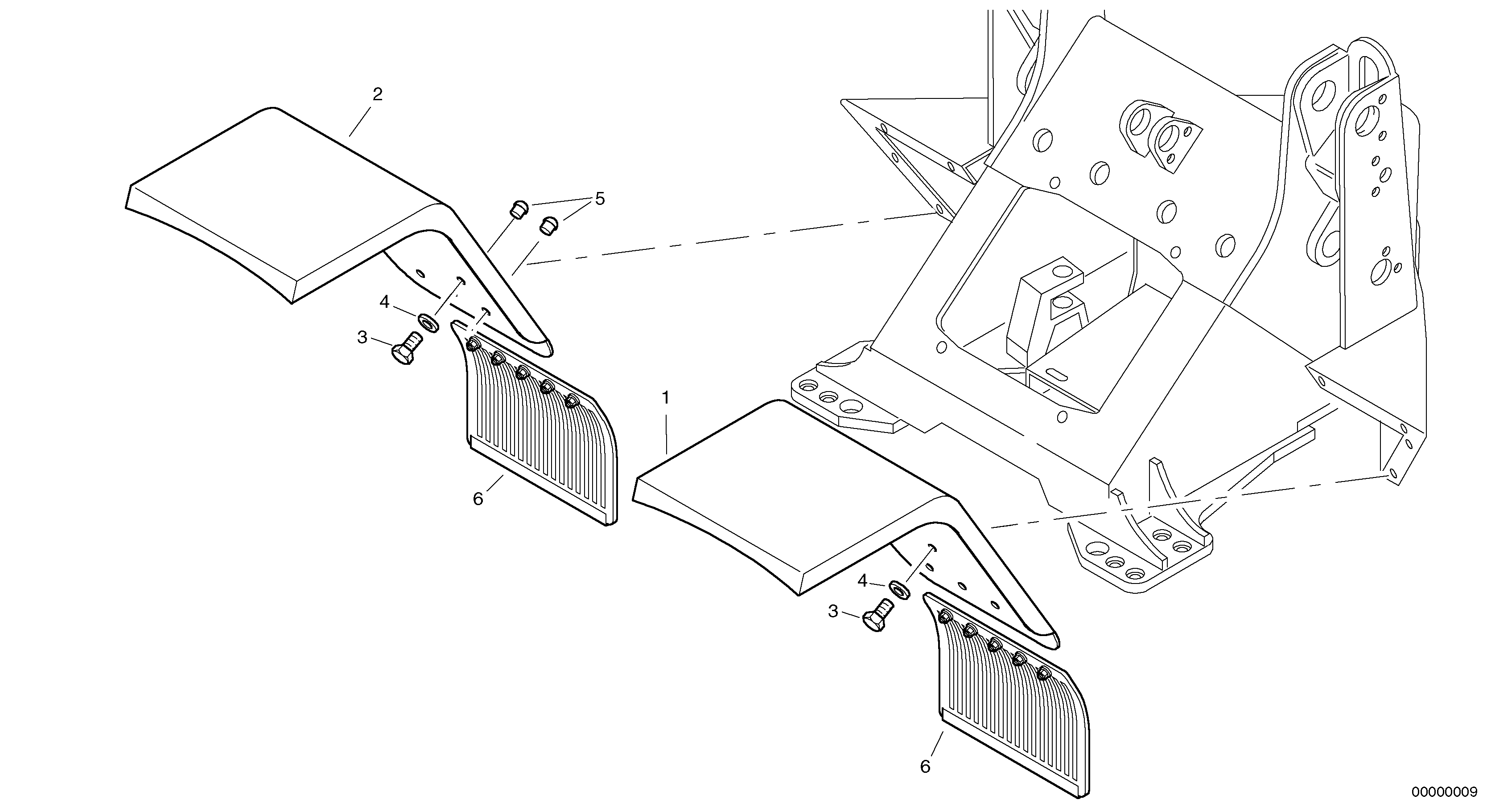
Запчасти Volvo L35 TYPE 186, 188, 189 SER NO - 2200 7715 Front mudguard

Схема запчастей Volvo L35 TYPE 186, 188, 189 SER NO - 2200 - 7715 Front mudguard
FIT
1:1
100%

Артикул

Название

Примечание

Количество

1

ZM 2812414

Mudguard

-1860198/-1880011

1шт.

1

ZM 2814134

Mudguard - 75 mm broad

1860199-/1880012-

1шт.

2

ZM 2812415

Mudguard

-1860198/-1880011

1шт.

2

ZM 2814134

Mudguard - 75 mm broad

1860199-/1880012-

1шт.

3

VOE 983251

Винт шестигранник

M10x25

1шт.

3

VOE 983251

Винт шестигранник

M10x25

1шт.

4

ZM 7090941

Шайба

10,5

1шт.

5

VOE 11306518

Пробка (заглушка)

1860199-/1880012-

1шт.

6

ZM 2813959

Mudflap

1шт.

Выбрано товаров: 9