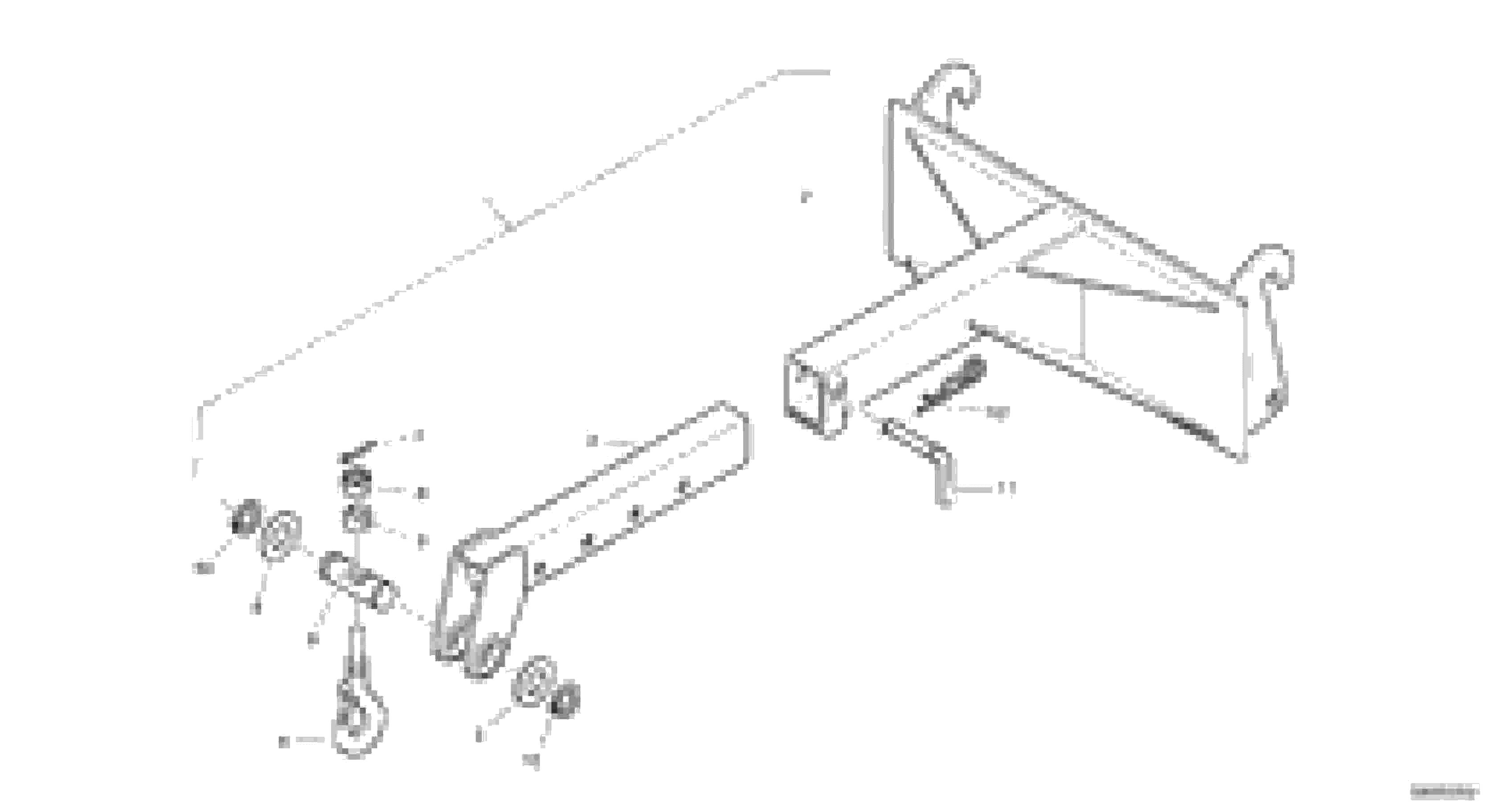
Запчасти Volvo L35B 23295 Load hook, telescopically L35B TYPE 186, 187, 188, 189 SER NO - 2999

Схема запчастей Volvo L35B - 23295 Load hook, telescopically L35B TYPE 186, 187, 188, 189 SER NO - 2999
FIT
1:1
100%

Артикул

Название

Примечание

Количество

1

ZM 4418522

Loading arm

1шт.

10

ZM 7094975

Safety ring

90x3

1шт.

11

ZM 4418531

Болт

1шт.

12

VOE 11305200

Retaining pin

1шт.

12

VOE 11305200

Retaining pin

1шт.

2

ZM 2800378

Опора

1шт.

3

ZM 4418525

Рукоять

1шт.

4

ZM 3216619

Load hook

1шт.

5

ZM 1081040

Гайка

1шт.

6

ZM 7098166

Гайка

42x1,5

1шт.

7

ZM 7098974

Cotter pin

8x80

1шт.

8

ZM 1081050

Болт

1шт.

9

ZM 3401517

Шайба

90

1шт.

Выбрано товаров: 13