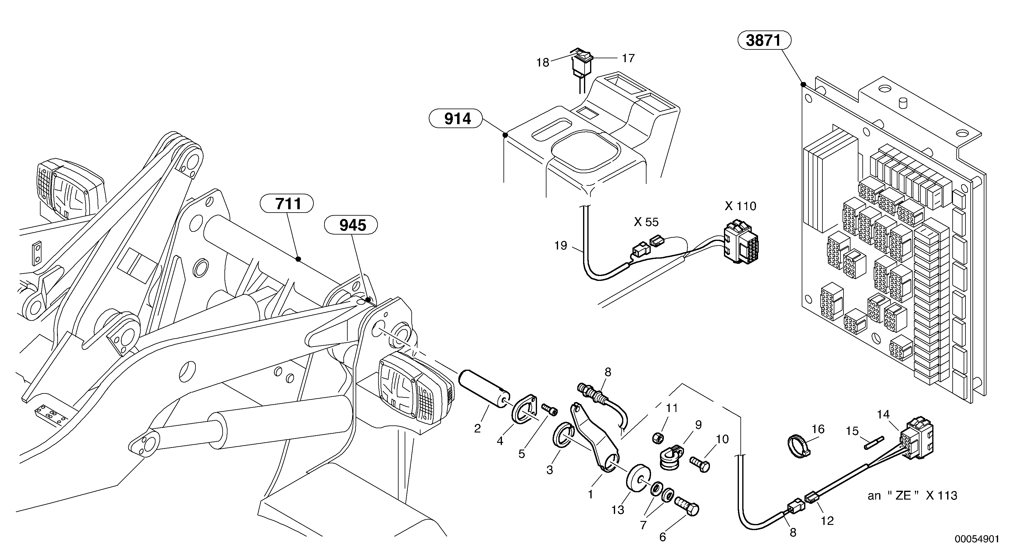
Запчасти Volvo L35B 23919 Lift end disconnection L35B TYPE 186, 187, 188, 189 SER NO - 2999

Схема запчастей Volvo L35B - 23919 Lift end disconnection L35B TYPE 186, 187, 188, 189 SER NO - 2999
FIT
1:1
100%

Артикул

Название

Примечание

Количество

1

ZM 2814037

Holder

1шт.

10

VOE 13946544

Болт

M6x16

1шт.

10

VOE 13946544

Screw

M6x16

1шт.

11

ZM 7098000

Гайка

M6

1шт.

12

ZM 2814045

Electric wire

1шт.

13

ZM 2811106

Шайба

1шт.

14

ZM 2810469

Plug box

1шт.

15

ZM 2810482

Positioning pin

1шт.

16

ZM 4375500

Cable clamp

1шт.

17

VOE 11306710

Переключатель

1шт.

18

VOE 11039480

Lens

1шт.

19

ZM 2816321

Electric wire

1шт.

2

ZM 2815916

Болт

1шт.

3

ZM 2814039

Sliding washer

1шт.

4

ZM 2814038

Safety washer

1шт.

5

VOE 11306210

Allen Head Screw

M12x30

1шт.

6

VOE 973200

Flange screw

M12x35

1шт.

6

VOE 973200

Flange screw

M12x35

1шт.

7

VOE 961384

Disc spring

B25 GR1

1шт.

8

ZM 2813944

Proximity switch

1шт.

9

ZM 5143024

Скоба (хомут)

1шт.

Выбрано товаров: 0