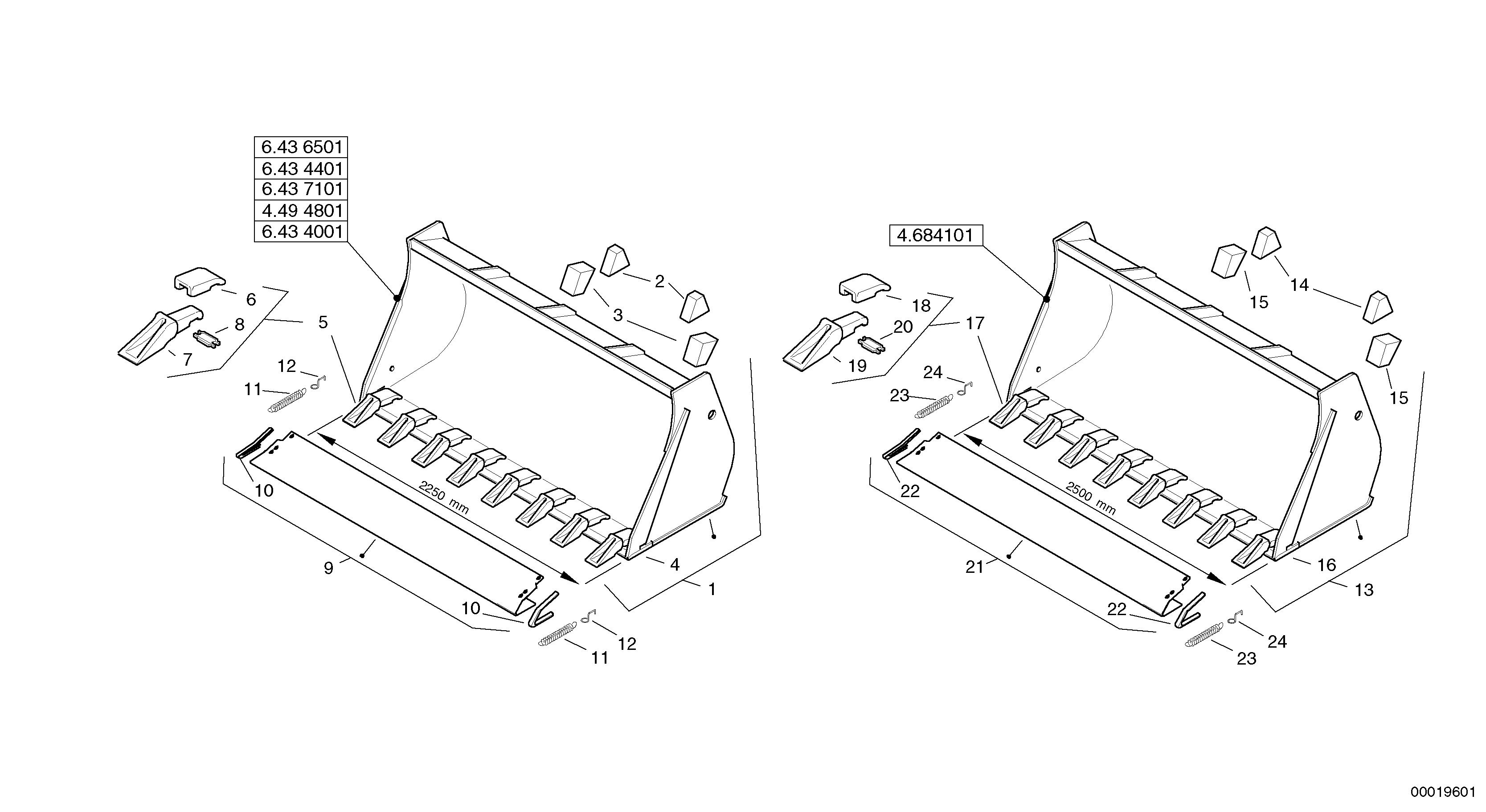
Запчасти Volvo L40 TYPE 191, 192 SER NO - 1000 24867 Bucket with teeth - Tpz

Схема запчастей Volvo L40 TYPE 191, 192 SER NO - 1000 - 24867 Bucket with teeth - Tpz
FIT
1:1
100%

Артикул

Название

Примечание

Количество

1

ZM 2813684

Ковш, объемом 1.0 м3

2250 mm, 4.494801

1шт.

1

ZM 2813002

Ковш, объемом 1.2 м3

2250 mm, 6.434001

1шт.

1

ZM 2813036

Ковш, объемом 1.3 м3

2250 mm, 6.436501

1шт.

1

ZM 2813115

Ковш, объемом 1.6 м3

2250 mm, 6.437101

1шт.

1

ZM 2815193

Ковш, объемом 2.0 м3

2500 mm, 4.684101

1шт.

10

ZM 4414702

Edge protection

1шт.

11

VOE 11315002

Пружина натяжная

1шт.

11

VOE 11315002

Пружина натяжная

1шт.

12

ZM 2801364

Eye

1шт.

12

ZM 2801364

Eye

1шт.

13

ZM 2815193

Ковш, объемом 2.0 м3

2500 mm, 4.684101

1шт.

14

ZM 2803785

Stop

1шт.

15

ZM 2803786

Stop

1шт.

16

ZM 2815195

Wearing plate

1шт.

17

ZM 4317145

Зуб ковша

1шт.

18

ZM 4317147

Адаптер зуба ковша

1шт.

19

ZM 4317146

Коронка зуба ковша

1шт.

2

ZM 2803785

Stop

1шт.

20

ZM 4317148

Tooth safety

1шт.

21

ZM 2813491

Guard

1шт.

22

ZM 4414702

Edge protection

1шт.

23

VOE 11315002

Пружина натяжная

1шт.

23

VOE 11315002

Пружина натяжная

1шт.

24

ZM 2801364

Eye

1шт.

24

ZM 2801364

Eye

1шт.

3

ZM 2803786

Stop

1шт.

4

ZM 4407561

Wearing plate

1шт.

5

VOE 11307404

Зуб ковша

1шт.

6

ZM 2078110

Втулка (распорная)

1шт.

7

ZM 2078100

Зуб ковша

1шт.

8

ZM 2078120

Lock

1шт.

9

ZM 2811020

Guard

1шт.

Выбрано товаров: 32