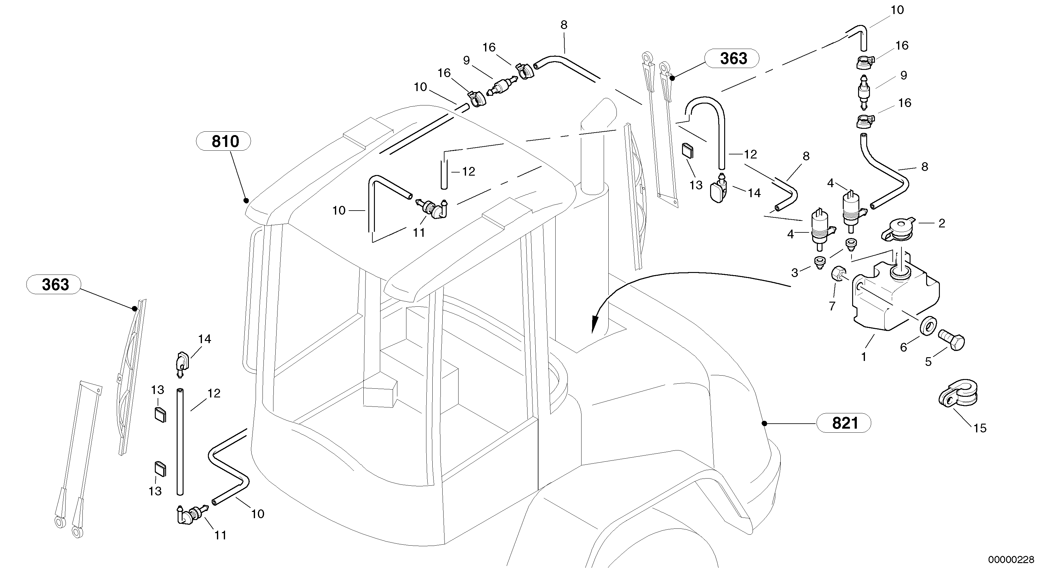
Запчасти Volvo L40 TYPE 191, 192 SER NO - 1000 74209 Windscreen washer system

Схема запчастей Volvo L40 TYPE 191, 192 SER NO - 1000 - 74209 Windscreen washer system
FIT
1:1
100%

Артикул

Название

Примечание

Количество

1

ZM 2801189

Бак

1шт.

10

ZM 2907180

Шланг

1шт.

11

ZM 4383312

Nipple

1шт.

12

ZM 4383311

Шланг

L=1000mm

1шт.

13

VOE 4803208

Зажим

1шт.

13

VOE 4803208

Зажим

1шт.

14

ZM 4385702

Jet

1шт.

15

VOE 11306568

Зажим

1шт.

16

ZM 2811426

Hose clamp

1шт.

2

ZM 2801190

Крышка

1шт.

3

ZM 2801191

Прокладка

1шт.

4

ZM 2288119

Насос

1шт.

5

VOE 14370276

Болт

M8x60

1шт.

6

ZM 7098750

Шайба

B 8,4

1шт.

7

ZM 7098010

Гайка

M8

1шт.

8

ZM 2806692

Шланг

1шт.

9

ZM 4385703

Клапан

1шт.

Выбрано товаров: 17