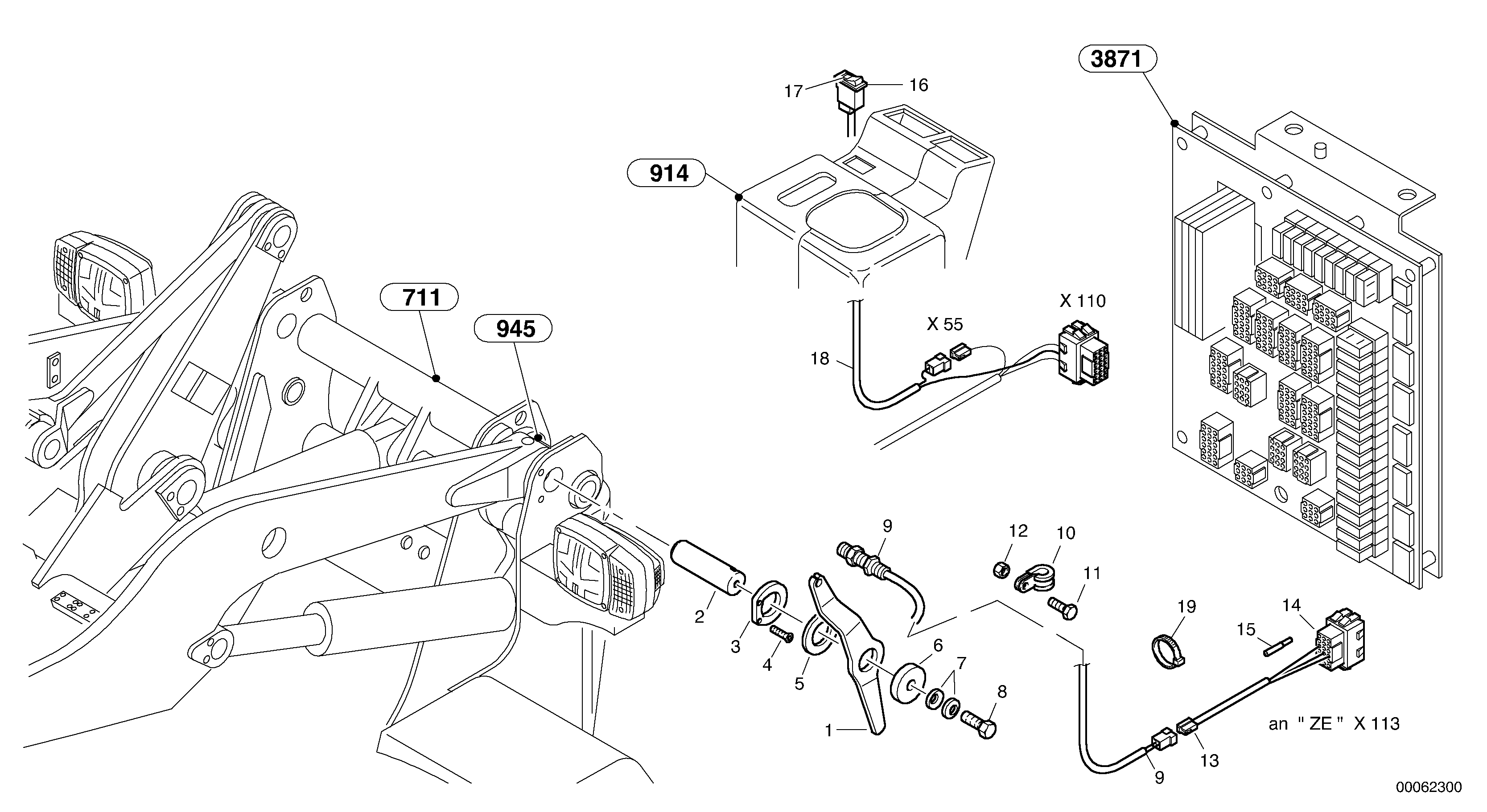
Запчасти Volvo L45B 1510 Lift end disconnection L45B TYPE 194, 195 SER NO - 1499

Схема запчастей Volvo L45B - 1510 Lift end disconnection L45B TYPE 194, 195 SER NO - 1499
FIT
1:1
100%

Артикул

Название

Примечание

Количество

1

ZM 2814089

Control lever

1шт.

10

ZM 5143024

Скоба (хомут)

1шт.

11

VOE 13955272

Болт

M6x20

1шт.

11

VOE 13955272

Болт

M6x20

1шт.

12

ZM 7098000

Гайка

M6

1шт.

13

ZM 2814045

Electric wire

1шт.

14

ZM 2810469

Plug box

1шт.

15

ZM 2810482

Positioning pin

1шт.

16

VOE 4803457

Переключатель

1шт.

17

VOE 11039480

Lens

1шт.

18

ZM 2816321

Electric wire

1шт.

19

ZM 4375500

Cable clamp

1шт.

2

ZM 2814092

Болт

1шт.

3

ZM 2814090

Locking plate

1шт.

4

ZM 4327161

Болт

M12x25

1шт.

5

ZM 2814091

Sliding washer

1шт.

6

ZM 2811106

Шайба

1шт.

7

VOE 961384

Disc spring

B25 GR1

1шт.

8

VOE 973200

Flange screw

M12x35

1шт.

8

VOE 973200

Flange screw

M12x35

1шт.

9

ZM 2813944

Proximity switch

1шт.

Выбрано товаров: 21