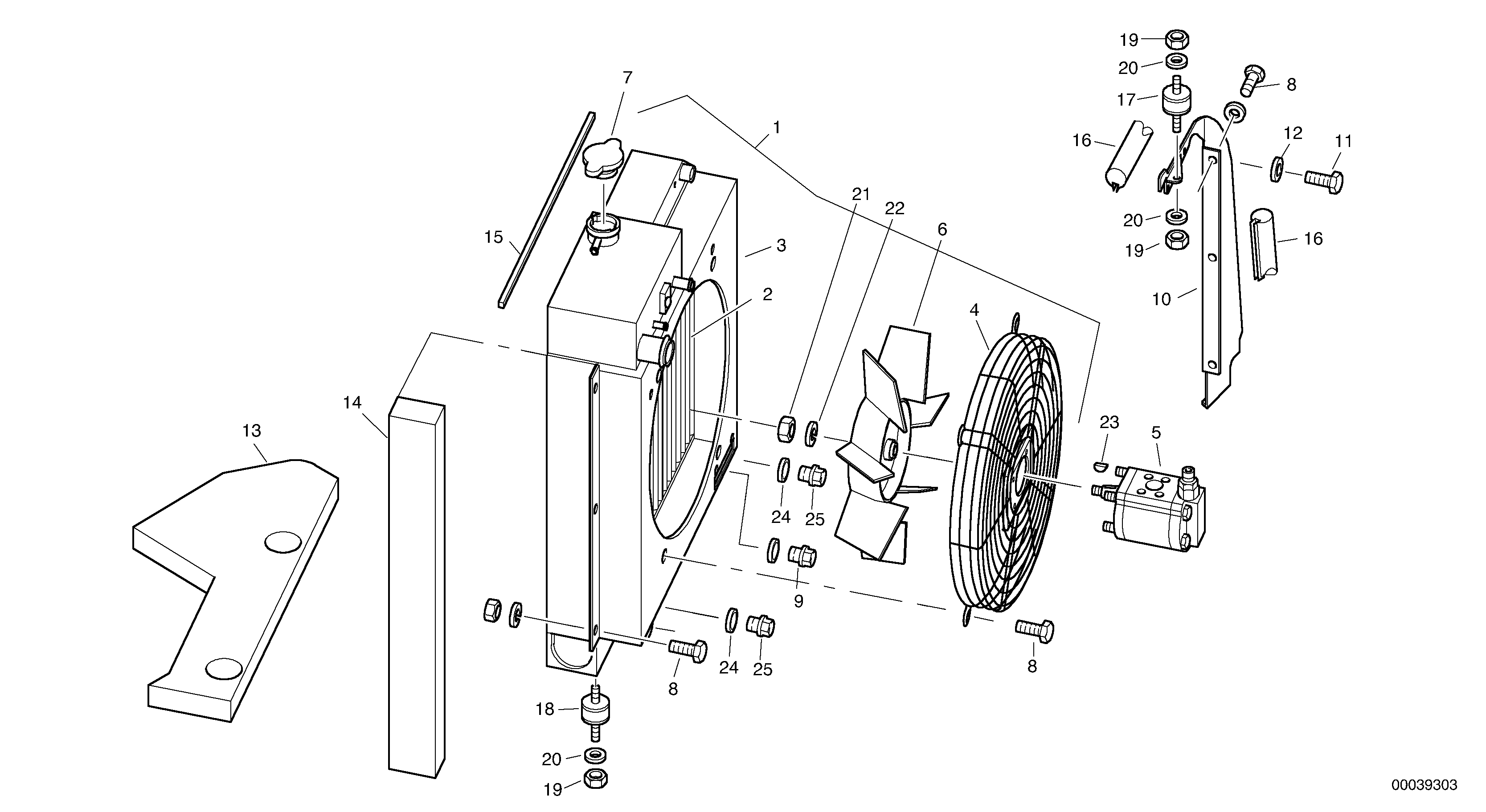
Запчасти Volvo L45B 28323 Cooler with attaching parts L45B S/N 1941500 - S/N 1951500 -

Схема запчастей Volvo L45B - 28323 Cooler with attaching parts L45B S/N 1941500 - S/N 1951500 -
FIT
1:1
100%

Артикул

Название

Примечание

Количество

1

ZM 2814020

Масляный радиатор

1шт.

10

ZM 2815002

End plate

1шт.

11

ZM 7095370

Болт

M8x16

1шт.

11

ZM 7095370

Болт

M8x16

1шт.

12

VOE 11305837

Шайба

B 8,4

1шт.

12

VOE 11305837

Шайба

B 8,4

1шт.

13

ZM 2813965

Damper mat

1шт.

14

ZM 2813966

Damping material

1шт.

15

ZM 2816050

Foam

L = 500MM

1шт.

16

ZM 2814475

Profiled joint

L = 1300MM

1шт.

17

ZM 2805283

Buffer

1шт.

17

ZM 2805283

Buffer

1шт.

18

ZM 2811226

Buffer

1шт.

19

VOE 13971095

Flange nut

M10

1шт.

19

VOE 13971095

Flange nut

M10

1шт.

2

ZM 2908276

Oil cooling agent cooler

1шт.

20

VOE 949523

Шайба

10,5

1шт.

20

VOE 949523

Шайба

10,5

1шт.

21

ZM 7098064

Гайка

BM12x1,5

1шт.

22

VOE 11306826

Spring ring

A12

1шт.

23

ZM 5226861

Woodruff key

3x5

1шт.

24

ZM 8099572

Прокладка

A18x22

1шт.

25

VOE 20405506

Пробка (заглушка)

M18x1,5

1шт.

25

VOE 20405506

пробки

M18x1,5

1шт.

3

ZM 2908277

Fan hood

1шт.

4

ZM 2908278

Protecting grating

1шт.

5

ZM 2814930

Гидромотор

1шт.

6

ZM 2908280

Blower

1шт.

7

ZM 2291199

Filler cap

1шт.

8

VOE 983243

Болт

M8x25

1шт.

8

VOE 983243

Винт шестигранник

M8x25

1шт.

9

ZM 8099411

Болт

M14x1,5

1шт.

Выбрано товаров: 32