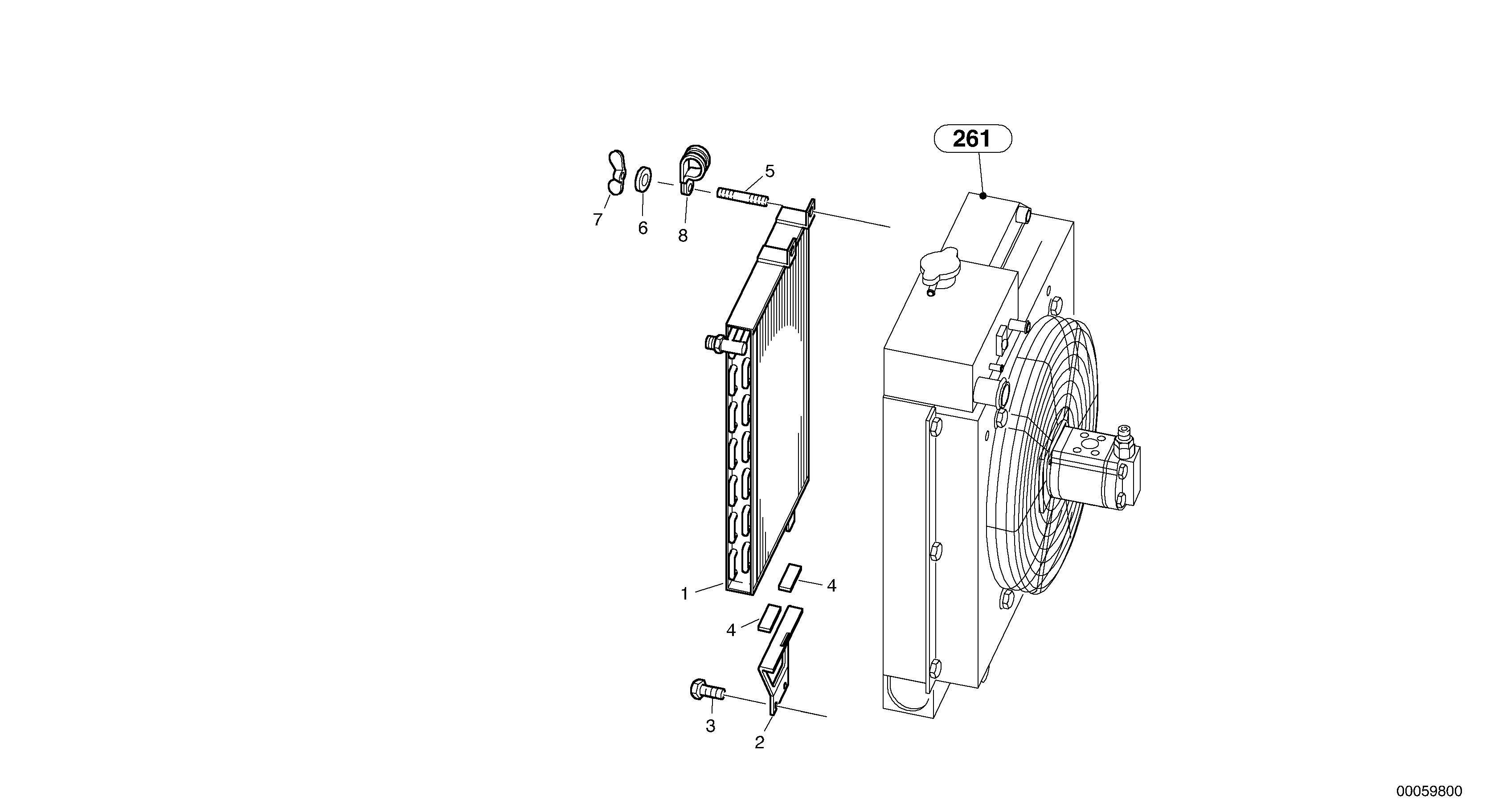
Запчасти Volvo L45B 4200 Condenser L45B S/N 1941500 - S/N 1951500 -

Схема запчастей Volvo L45B - 4200 Condenser L45B S/N 1941500 - S/N 1951500 -
FIT
1:1
100%

Артикул

Название

Примечание

Количество

1

ZM 2814174

Condenser, cpl

1шт.

2

ZM 2816388

Тарелка клапана

1шт.

3

VOE 947107

Flange screw

M8x12

1шт.

3

VOE 947107

Flange screw

M8x12

1шт.

4

VOE 11307044

Прокладка стекла

L = 100MM

1шт.

5

VOE 11307045

установочный винт

M8x35

1шт.

6

VOE 11305837

Шайба

B 8,4

1шт.

6

VOE 11305837

Шайба

B 8,4

1шт.

7

VOE 192354

Wing nut

M8

1шт.

7

VOE 192354

Wing nut

M8

1шт.

8

ZM 2290453

Pipe clip

1шт.

Выбрано товаров: 11