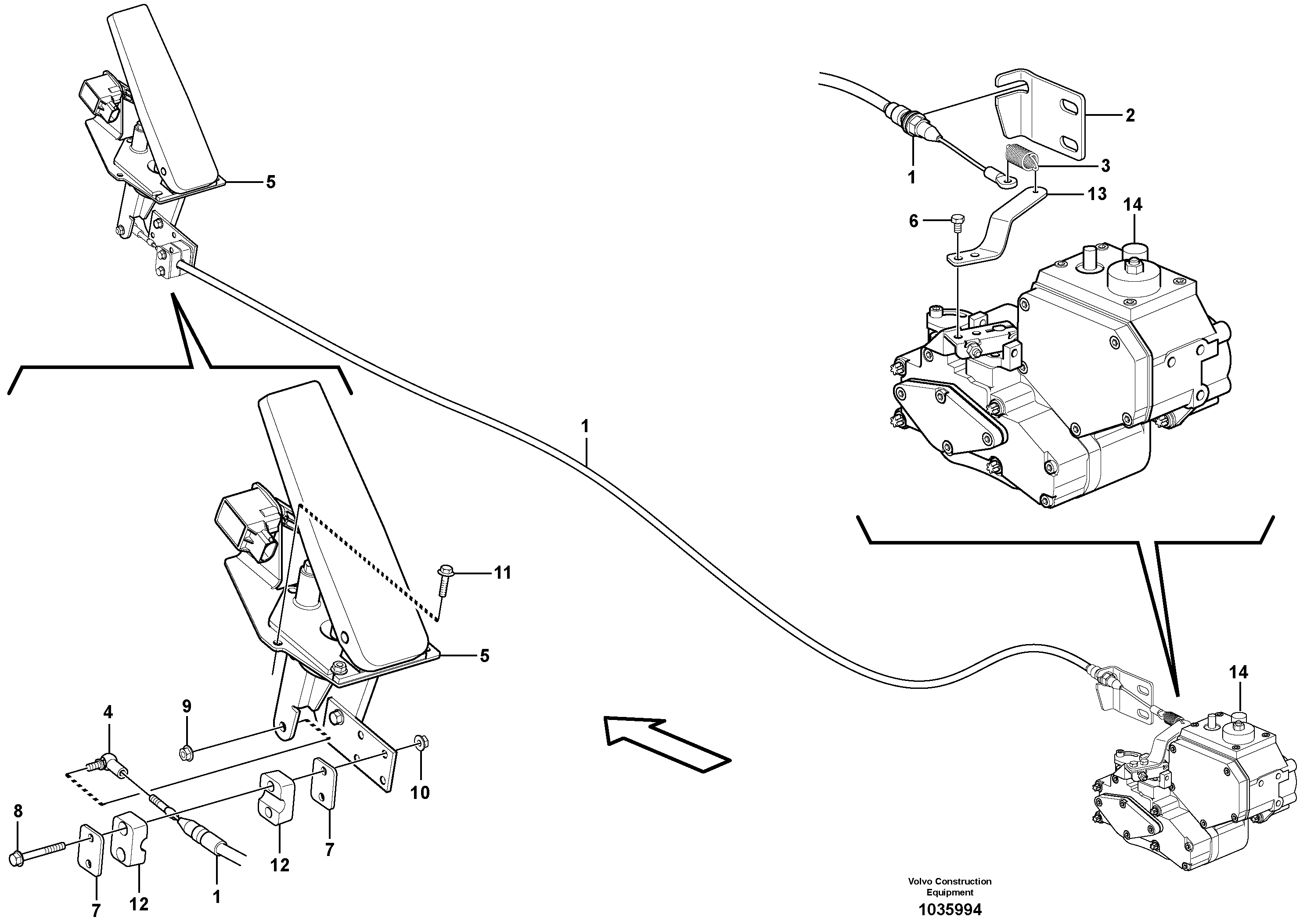
Запчасти Volvo L45F 59179 Speed control L45F

Схема запчастей Volvo L45F - 59179 Speed control L45F
FIT
1:1
100%

Артикул

Название

Примечание

Количество

1

VOE 11308796

Cable

1шт.

10

VOE 13945407

Гайка

1шт.

10

VOE 13945407

Гайка

1шт.

11

VOE 13946934

Болт

1шт.

11

VOE 13946934

Болт

1шт.

12

VOE 11307671

Скоба (хомут)

1шт.

13

VOE 15200212

Lever segment

1шт.

2

VOE 11309381

Тарелка клапана

1шт.

3

ZM 2805380

Пружина натяжная

1шт.

4

VOE 959079

Angle ball joint

1шт.

4

VOE 959079

Angle ball joint

1шт.

6

VOE 955268

Винт шестигранник

1шт.

6

VOE 955268

Винт шестигранник

1шт.

7

ZM 2802162

Пластина

1шт.

8

VOE 13965177

Screw

1шт.

8

VOE 13965177

Болт

1шт.

9

VOE 13949278

Flange lock nut

1шт.

9

VOE 13949278

Flange lock nut

1шт.

Выбрано товаров: 18