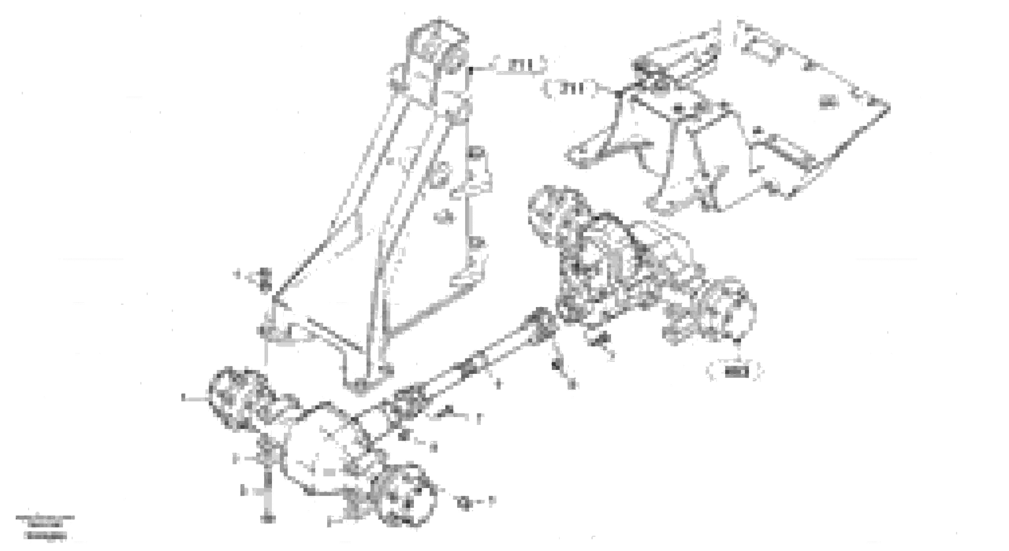
Запчасти Volvo ZL302C SER NO 2404001 - 31600 Мост передний в сборе

Схема запчастей Volvo ZL302C SER NO 2404001 - - 31600 Мост передний в сборе
FIT
1:1
100%

Артикул

Название

Примечание

Количество

1

ZM 2801831

Мост передний

1шт.

2

ZM 2806570

Пластина

1шт.

3

VOE 11306735

Винт шестигранник

M20x1,5x230

1шт.

4

VOE 11306721

Hexagon nut

M20x1,5

1шт.

5

VOE 11305044

Lug Nut

A18

1шт.

6

ZM 2800566

Вал карданный

1шт.

7

VOE 983243

Болт

M8x25

1шт.

7

VOE 983243

Винт шестигранник

M8x25

1шт.

8

ZM 4334182

Гайка

VM8

1шт.

Выбрано товаров: 9