Запчасти Volvo ZL402C SER NO 6006001 - 408 Brake lines

Схема запчастей Volvo ZL402C SER NO 6006001 - - 408 Brake lines
FIT
1:1
100%

Артикул

Название

Примечание

Количество

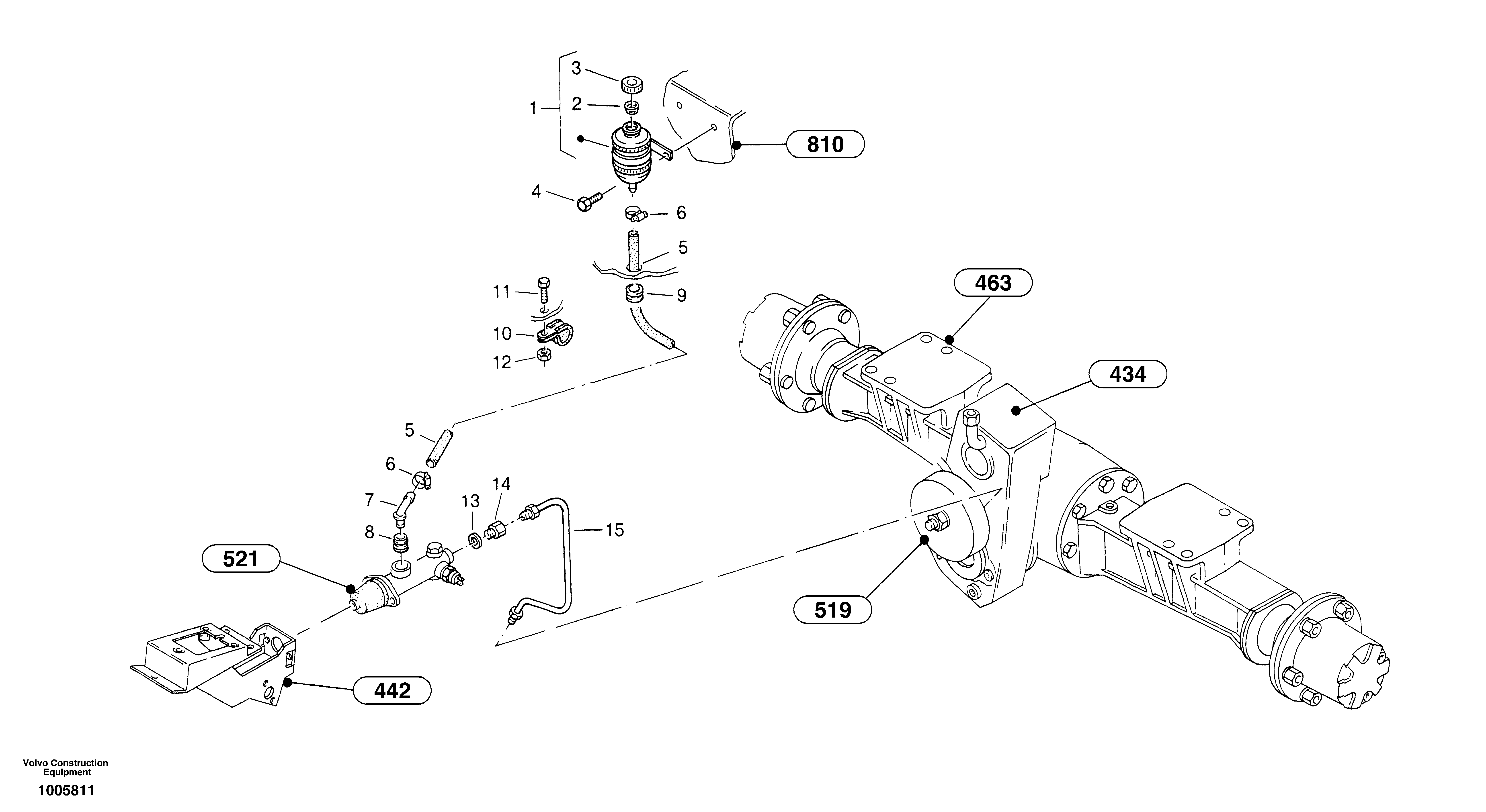
1

VOE 11306479

Бак (бачок) расширительный

1шт.

10

VOE 11306568

Зажим

1шт.

11

VOE 13955272

Болт

M6x20

1шт.

11

VOE 13955272

Болт

M6x20

1шт.

12

ZM 7098000

Гайка

M6

1шт.

13

VOE 13947281

Прокладка

1шт.

13

VOE 13947281

Прокладка

1шт.

14

ZM 4384198

Nipple

1шт.

15

ZM 2800220

Cap

1шт.

2

ZM 2188960

Пластина

1шт.

3

ZM 2188970

Closure

1шт.

4

VOE 13946544

Болт

M6x16

1шт.

4

VOE 13946544

Screw

M6x16

1шт.

5

ZM 2800565

Шланг

1шт.

6

ZM 2060781

Скоба (хомут)

AL 8-16

1шт.

7

ZM 2289461

Elbow Pipe

1шт.

8

ZM 2800203

Пробка (заглушка)

1шт.

9

VOE 11305878

Уплотнительная втулка

1шт.

9

VOE 11305878

Втулка (распорная)

1шт.

Выбрано товаров: 19