Запчасти Volvo ZL402C SER NO 6006001 - 820 Frame

Схема запчастей Volvo ZL402C SER NO 6006001 - - 820 Frame
FIT
1:1
100%

Артикул

Название

Примечание

Количество

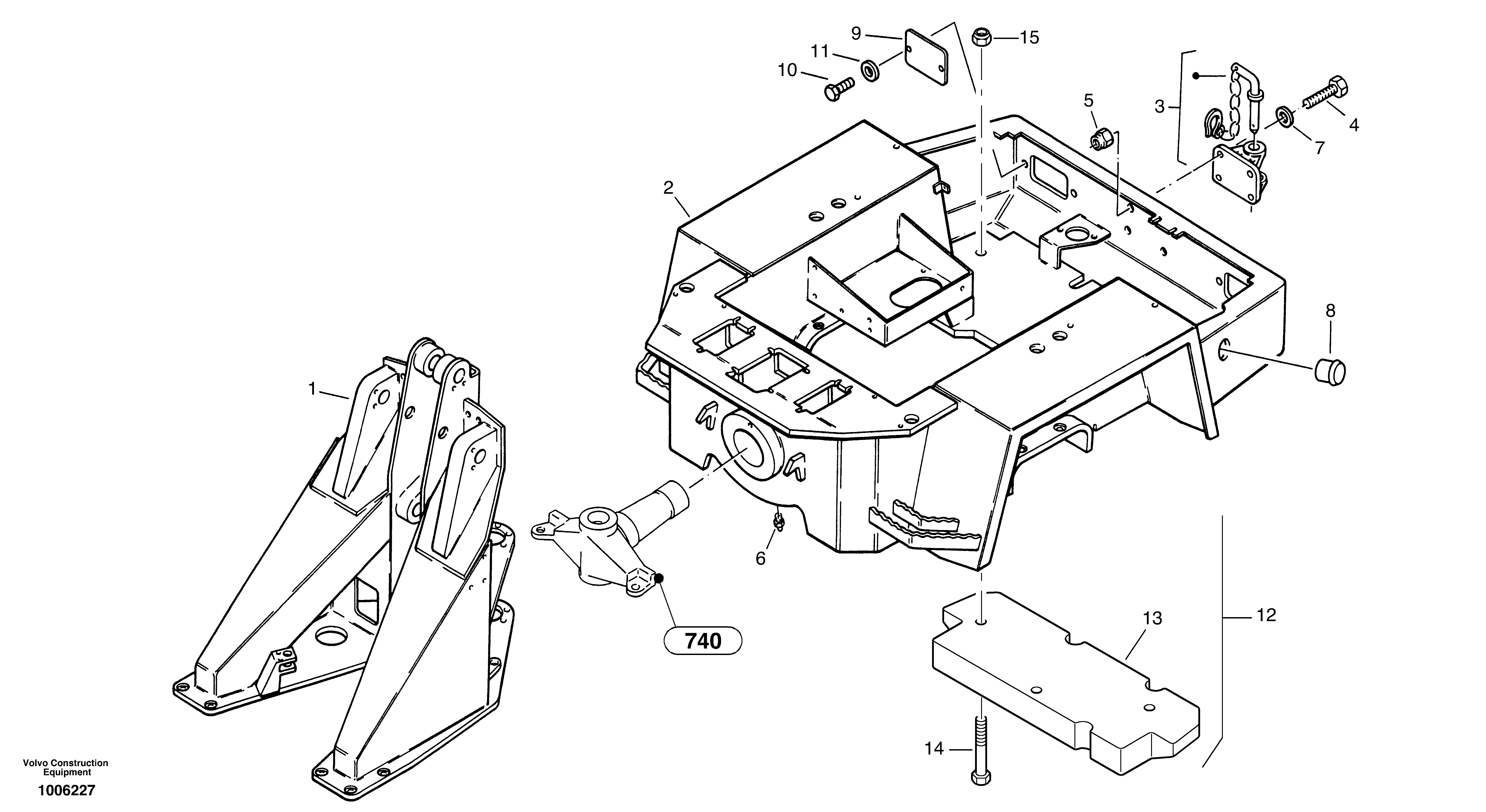
1

ZM 4419437

Frame, front part

1шт.

10

ZM 8095500

Болт

M8x12

1шт.

11

VOE 955894

Шайба

B8,4

1шт.

11

VOE 955894

Шайба

B8,4

1шт.

12

ZM 2800605

Противовес

1шт.

13

ZM 2800001

Fork attachment

1шт.

14

VOE 983260

Винт шестигранник

M16x140

1шт.

14

VOE 983260

Винт шестигранник

M16x140

1шт.

15

VOE 981317

Гайка

M16

1шт.

15

VOE 981317

Lock nut

M16

1шт.

2

ZM 2800499

Rear frame

1шт.

3

ZM 5053550

Муфта соединительная

1шт.

4

VOE 11307051

Винт шестигранник

M14x40

1шт.

4

VOE 11307051

Винт шестигранник

M14x40

1шт.

5

ZM 7098420

Гайка

M14

1шт.

6

ZM 7092352

Grease nipple

AM8x1

1шт.

7

ZM 7098726

Шайба

B15

1шт.

8

VOE 4384226

Пробка (заглушка)

1шт.

8

VOE 4384226

Пробка (заглушка)

1шт.

9

ZM 2807474

Cover, cap

1шт.

Выбрано товаров: 20