Запчасти Volvo ZL402C SER NO 6006001 - 35462 Protecting roof

Схема запчастей Volvo ZL402C SER NO 6006001 - - 35462 Protecting roof
FIT
1:1
100%

Артикул

Название

Примечание

Количество

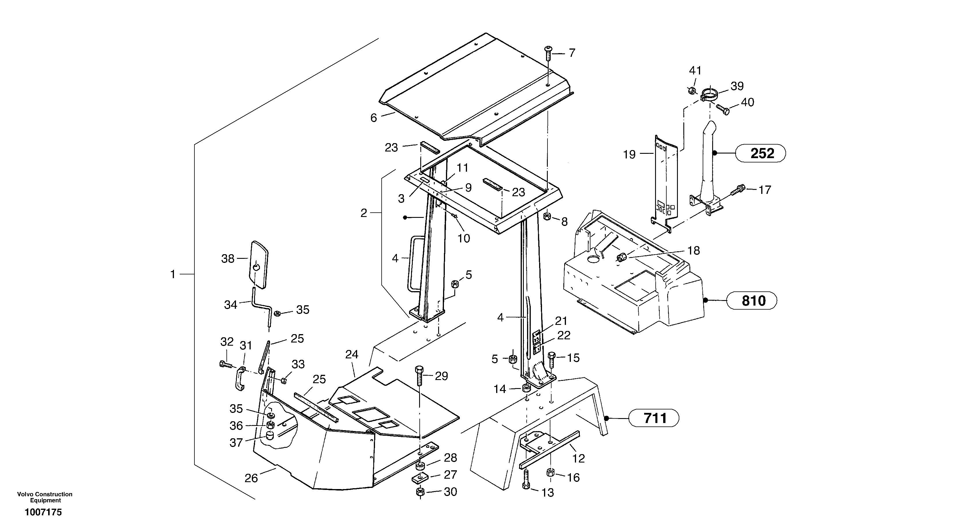
1

ZM 2804645

Protecting roof

1шт.

10

ZM 2091830

Blind rivet

A3x8

1шт.

10

ZM 2091830

Палец

A3x8

1шт.

11

ZM 2804234

Test shield - ROPS

1шт.

12

ZM 2804312

Пластина

1шт.

13

ZM 4326466

Болт

M20x90

1шт.

14

ZM 2804379

Кольцо

1шт.

15

ZM 5241370

Болт

M16x60

1шт.

16

VOE 979021

Hexagon nut

M16

1шт.

16

VOE 979021

Hexagon nut

M16

1шт.

17

ZM 2810329

Болт

1шт.

18

VOE 979151

Гайка

1шт.

19

ZM 2804658

Cover, cap

1шт.

2

ZM 2804311

Protection

1шт.

21

ZM 2800451

Plate - LwA 99

1шт.

22

ZM 4392051

Plate - Lpa 86

1шт.

23

ZM 4419203

Прокладка стекла

L = 1700MM

1шт.

24

ZM 2804455

Floor mate

1шт.

25

ZM 4388103

Moulding

L = 4500MM

1шт.

25

ZM 4388103

Moulding

L = 4500MM

1шт.

26

ZM 2804652

Cover Panel

1шт.

27

ZM 4409891

Шайба

1шт.

28

ZM 2804379

Кольцо

1шт.

29

ZM 8096962

Болт

M20x70

1шт.

3

ZM 4390698

Sign

1шт.

30

ZM 7098022

Гайка

M20

1шт.

31

ZM 2128440

Handle

1шт.

32

VOE 13955272

Болт

M6x20

1шт.

32

VOE 13955272

Болт

M6x20

1шт.

33

ZM 7098000

Гайка

M6

1шт.

34

ZM 2802939

Holder

1шт.

35

ZM 2802428

Шайба

A13

1шт.

36

VOE 981315

Lock nut

M12

1шт.

36

VOE 981315

Lock nut

M12

1шт.

37

ZM 4384258

Cap

1шт.

38

ZM 2802032

Mirror

1шт.

39

ZM 8092914

Скоба (хомут)

78,5

1шт.

4

ZM 4411717

Ladder

1шт.

40

VOE 983244

Винт шестигранник

M8x30

1шт.

40

VOE 983244

Винт шестигранник

M8x30

1шт.

41

ZM 7098010

Гайка

M8

1шт.

5

ZM 7098022

Гайка

M20

1шт.

6

ZM 4419269

Roof

1шт.

7

ZM 2810330

Болт

1шт.

8

ZM 8098397

Гайка

M8

1шт.

9

ZM 4390496

Identification plate

ROPS

1шт.

Выбрано товаров: 46