Запчасти Volvo ZL402C SER NO 6006001 - 875 Гидробак

Схема запчастей Volvo ZL402C SER NO 6006001 - - 875 Гидробак
FIT
1:1
100%

Артикул

Название

Примечание

Количество

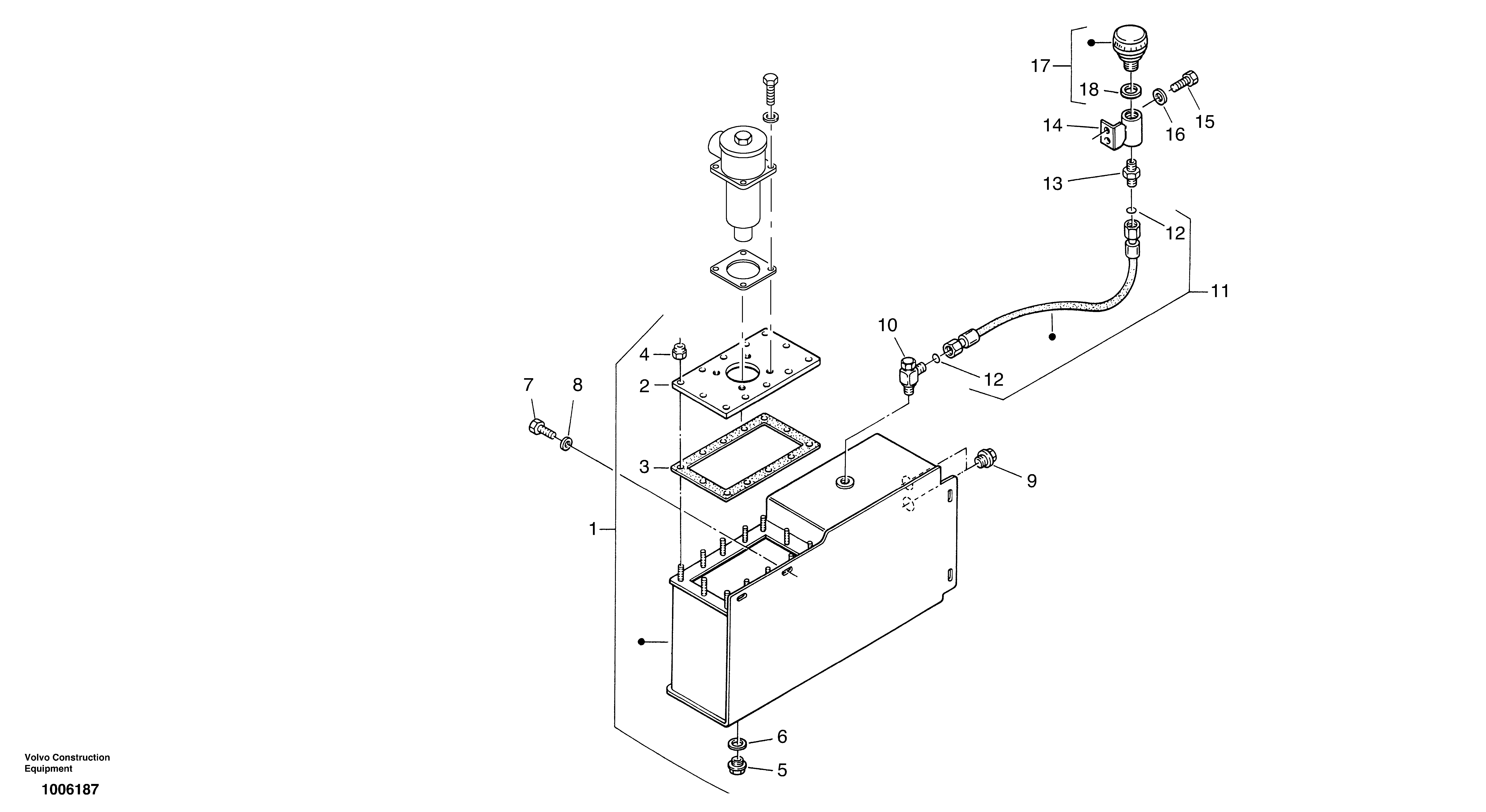
1

ZM 4419389

Масляный бак

1шт.

10

VOE 11305473

Nipple

1шт.

11

ZM 1113750

Шланг

1шт.

12

ZM 1089232

Кольцо уплотнительное (О-кольцо)

1шт.

13

ZM 7091974

Nipple

L10M

1шт.

14

VOE 11306499

Вставка

1шт.

15

VOE 983242

Винт шестигранник

M8x22

1шт.

15

VOE 983242

Болт

M8x22

1шт.

16

VOE 11305837

Шайба

8,4

1шт.

16

VOE 11305837

Шайба

8,4

1шт.

17

ZM 4361204

Фильтр топливный

1шт.

18

ZM 2225750

Прокладка

1шт.

2

ZM 4419390

Крышка

1шт.

3

ZM 4380462

Прокладка

1шт.

4

ZM 2120430

Гайка

VM10

1шт.

5

VOE 11305512

Lock plug

AM18x1,5

1шт.

6

VOE 13947624

Plane gasket

A18x22

1шт.

6

VOE 13947624

Plane gasket

A18x22

1шт.

7

VOE 983250

Винт шестигранник

M10x20

1шт.

7

VOE 983250

Винт шестигранник

M10x20

1шт.

8

VOE 949523

Шайба

10,5

1шт.

8

VOE 949523

Шайба

10,5

1шт.

9

VOE 14370488

Level indicator

1шт.

Выбрано товаров: 23