Запчасти Volvo ZL402C SER NO 6006001 - 101134 Pump - working hydraulic

Схема запчастей Volvo ZL402C SER NO 6006001 - - 101134 Pump - working hydraulic
FIT
1:1
100%

Артикул

Название

Примечание

Количество

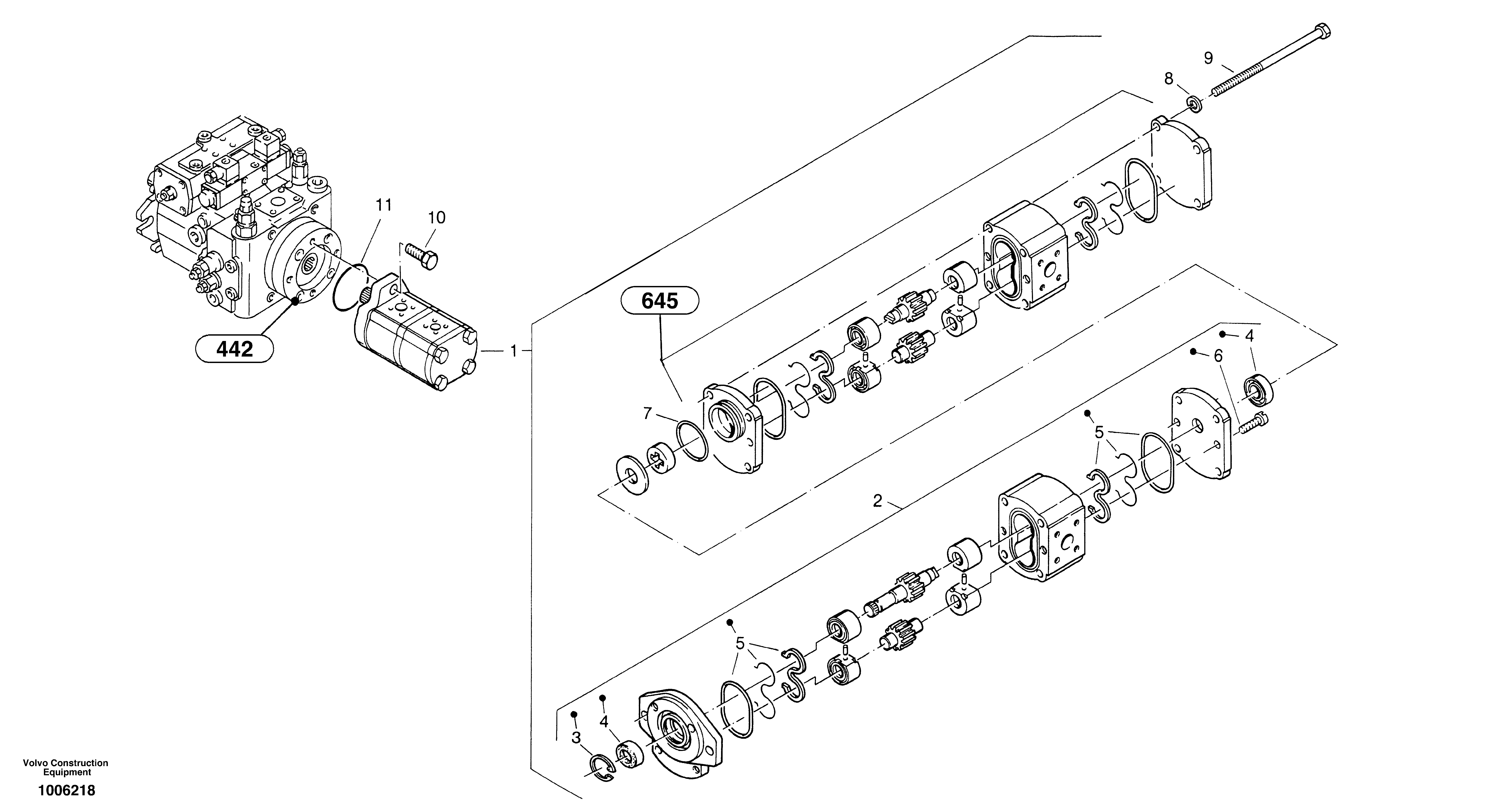
1

ZM 4366261

Гидронасос рулевой

1шт.

10

VOE 983251

Винт шестигранник

M10x30

1шт.

10

VOE 983251

Винт шестигранник

M10x30

1шт.

11

ZM 2900090

Кольцо уплотнительное (О-кольцо)

1шт.

2

ZM 2900127

Насос

1шт.

3

ZM 7094915

Safety ring

30x1,2

1шт.

4

VOE 241625

Кольцо уплотнительное

1шт.

4

VOE 241625

Кольцо уплотнительное

1шт.

5

VOE 244432

Sealing kit

1шт.

5

VOE 244432

Sealing kit

1шт.

6

ZM 7097839

Болт

M8x16

1шт.

7

ZM 2252530

Кольцо уплотнительное (О-кольцо)

1шт.

8

ZM 2271040

Spring Ring

1шт.

9

ZM 2900126

Болт

1шт.

Выбрано товаров: 14