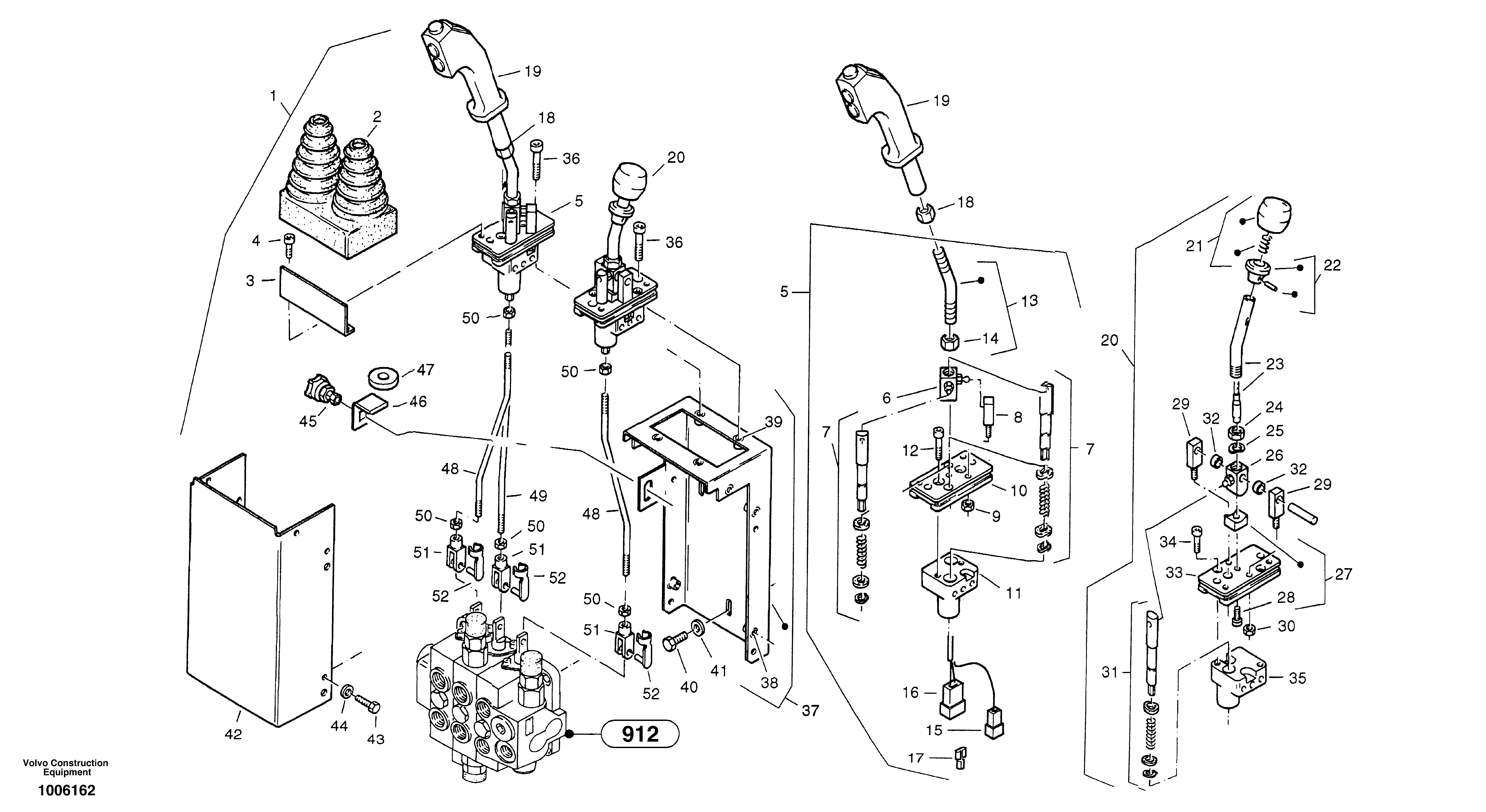
Запчасти Volvo ZL402C SER NO 6006001 - 35464 Servo control valve

Схема запчастей Volvo ZL402C SER NO 6006001 - - 35464 Servo control valve
FIT
1:1
100%

Артикул

Название

Примечание

Количество

1

ZM 2809114

Control Lever

1шт.

10

ZM 2290590

Крышка

1шт.

11

ZM 2290587

Картер (корпус)

1шт.

12

ZM 7096553

Болт

M6x16

1шт.

13

ZM 2809175

Адаптер

1шт.

14

ZM 2809116

Гайка

M14x1

1шт.

15

ZM 4375312

Plug box

1шт.

16

ZM 3402694

Plug box

1шт.

17

ZM 3402699

Flat plug

1шт.

18

VOE 971081

Hexagon nut

MB12

1шт.

18

VOE 971081

Hexagon nut

MB12

1шт.

19

ZM 2808707

Handle

1шт.

2

ZM 2904414

Bellow

1шт.

20

ZM 4376229

Control Lever

1шт.

21

ZM 2290584

Handle

1шт.

22

ZM 2290582

Button

1шт.

23

ZM 2290601

Трубка

1шт.

24

ZM 2290580

Гайка

1шт.

25

ZM 2290595

Шайба

J14,5

1шт.

26

ZM 2290605

Ступица

1шт.

27

ZM 2291550

Locking device

1шт.

28

ZM 2256170

Болт

M4x16

1шт.

29

ZM 2290598

Болт

1шт.

3

ZM 2904415

Angle

1шт.

30

ZM 8098397

Гайка

M8

1шт.

31

ZM 2290606

Болт

1шт.

32

ZM 2290607

Шайба

1шт.

33

ZM 2290600

Крышка

1шт.

34

ZM 7096553

Болт

M6x16

1шт.

35

ZM 2903037

Картер (корпус)

1шт.

36

ZM 7097900

Болт

M8x30

1шт.

37

ZM 2809141

Тарелка клапана

1шт.

38

ZM 4337109

Гайка

M5x14

1шт.

39

VOE 979151

Гайка

M8x18

1шт.

4

ZM 7096825

Болт

M6x12

1шт.

40

VOE 983242

Винт шестигранник

M8x20

1шт.

40

VOE 983242

Болт

M8x20

1шт.

41

VOE 11305837

Шайба

8,4

1шт.

41

VOE 11305837

Шайба

8,4

1шт.

42

ZM 2809143

Cover, cap

1шт.

43

VOE 13955247

Болт

M5x20

1шт.

43

VOE 13955247

Болт

M5x20

1шт.

44

VOE 13940090

Шайба

A5,3

1шт.

44

VOE 13940090

Шайба

A5,3

1шт.

45

ZM 2808925

Locking Device

1шт.

46

ZM 2809112

Lock Lever

1шт.

47

ZM 2809113

Шайба

1шт.

48

ZM 4417836

Шток поршня

1шт.

49

ZM 4417837

Шток поршня

1шт.

5

ZM 2905568

Клапан регулирующий (распределительный)

1шт.

50

ZM 7098010

Гайка

M8

1шт.

51

ZM 7091355

Наконечник вилки

G8x16

1шт.

52

ZM 1083233

Bolt ES

1шт.

6

ZM 2290593

Ступица

1шт.

7

ZM 2290606

Болт

1шт.

8

ZM 2290588

Болт

1шт.

9

ZM 8098397

Гайка

M8

1шт.

Выбрано товаров: 57