Запчасти Volvo ZL502C SER NO 0503001 - 14192 Инструменты для ремонта

Схема запчастей Volvo ZL502C SER NO 0503001 - - 14192 Инструменты для ремонта
FIT
1:1
100%

Артикул

Название

Примечание

Количество

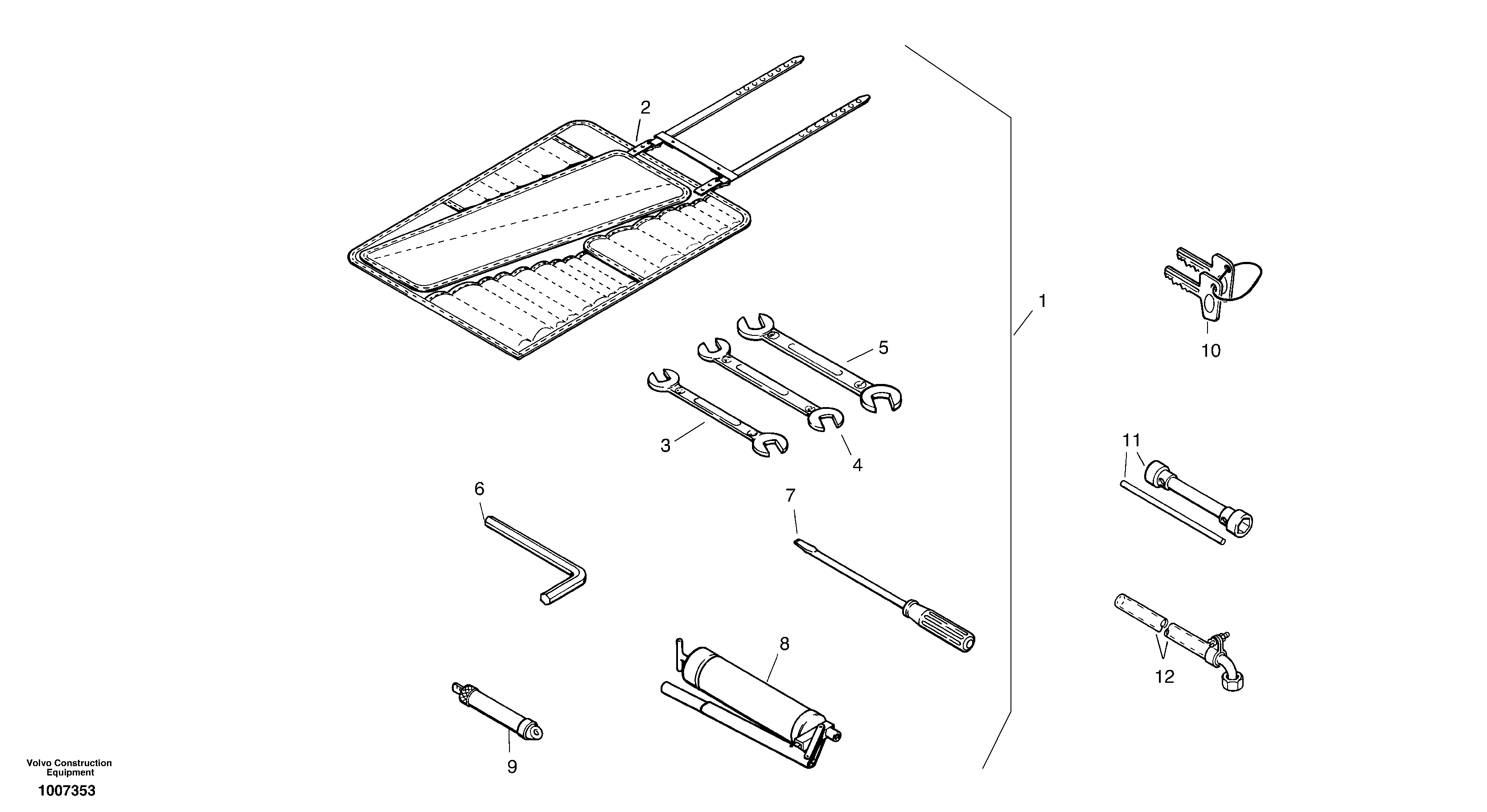
1

ZM 2801256

Tool kit

1шт.

1

ZM 2801256

Набор инструментов

1шт.

10

VOE 11306919

Key

1шт.

10

VOE 11306919

Key

1шт.

11

VOE 11305708

Wrench

A24x27x380

1шт.

11

VOE 11305708

Wrench

A24x27x380

1шт.

12

ZM 4384257

Connecting hose

1шт.

12

ZM 4384257

Connecting hose

1шт.

2

ZM 2801257

Tools bag

1шт.

3

ZM 3403507

Key

13x15

1шт.

4

ZM 7094128

Wrench

17x19

1шт.

5

ZM 7094142

Wrench

24x27

1шт.

6

ZM 7094375

Allen key

1шт.

7

ZM 7094232

Screw driver

A-A1,6x8

1шт.

8

ZM 2032030

Grease gun

500 AC1

1шт.

8

ZM 2032030

Grease gun

500 AC1

1шт.

9

ZM 7094890

Tyre gauge

1шт.

Выбрано товаров: 17