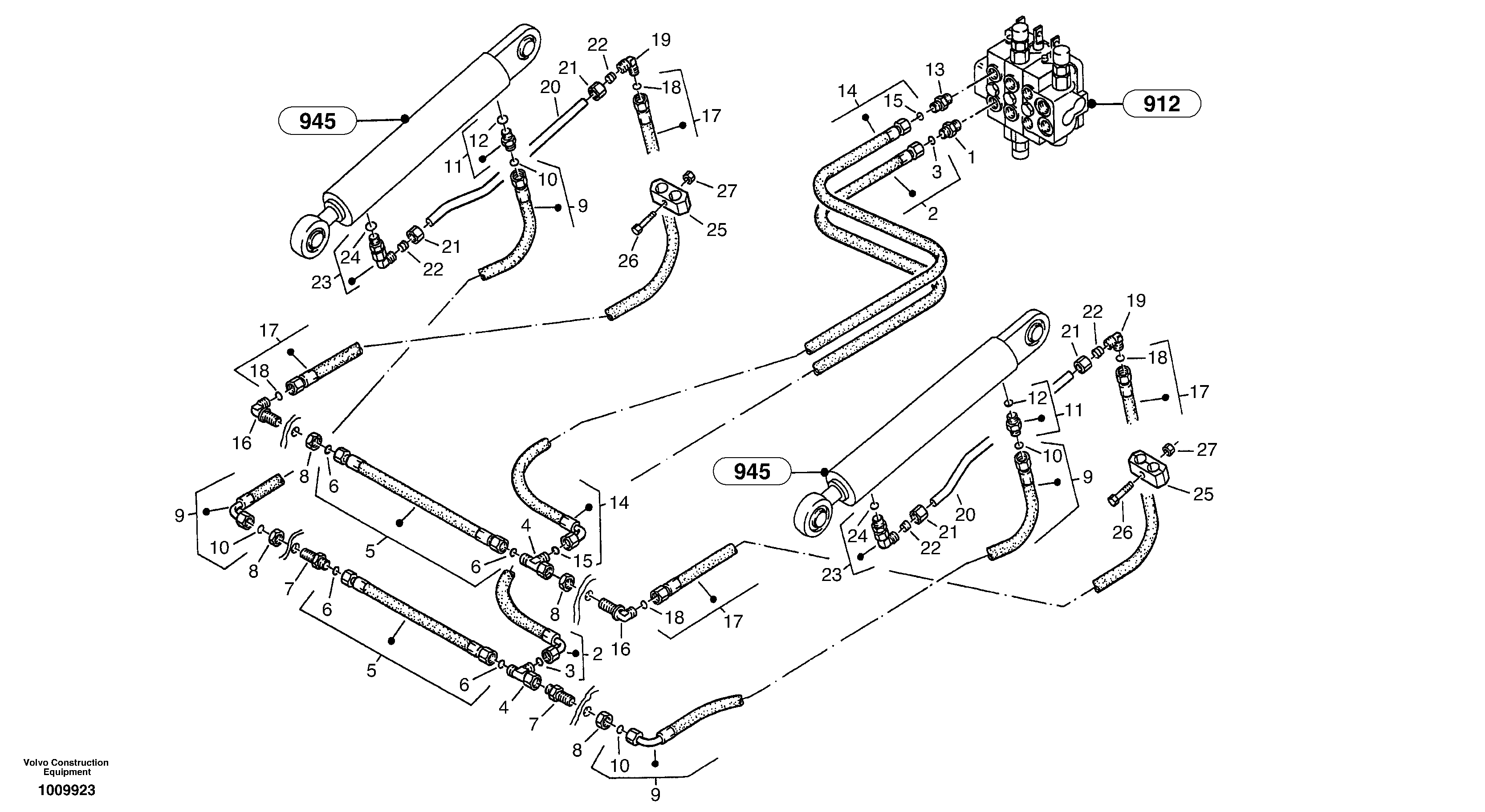
Запчасти Volvo ZL502C SER NO 0503001 - 61566 Hydraulic lines - lift hydraulic

Схема запчастей Volvo ZL502C SER NO 0503001 - - 61566 Hydraulic lines - lift hydraulic
FIT
1:1
100%

Артикул

Название

Примечание

Количество

1

VOE 11306933

Фиттинг

L15G1/2-G

1шт.

10

ZM 2259050

Кольцо уплотнительное (О-кольцо)

13x2

1шт.

11

VOE 11305361

Nipple

1шт.

12

ZM 1027595

Кольцо уплотнительное (О-кольцо)

15,3x2,4

1шт.

13

VOE 11306933

Фиттинг

L15G1/2-B

1шт.

14

ZM 4395041

Шланг

1шт.

15

ZM 2259050

Кольцо уплотнительное (О-кольцо)

13x2

1шт.

16

VOE 957097

Elbow nipple

L15

1шт.

17

VOE 11305117

Шланг

1шт.

18

ZM 2259050

Кольцо уплотнительное (О-кольцо)

13x2

1шт.

19

VOE 957071

Nipple

L15

1шт.

2

ZM 4395041

Шланг

1шт.

20

ZM 4417847

Трубка

1шт.

21

VOE 956985

Фиттинг

AL15

1шт.

22

VOE 956971

Ferrule

L15

1шт.

23

VOE 11305199

Фиттинг

15,3x2,4

1шт.

24

ZM 1027595

Кольцо уплотнительное (О-кольцо)

1шт.

25

VOE 11305087

Скоба (хомут)

1шт.

26

VOE 983244

Винт шестигранник

M8x30

1шт.

26

VOE 983244

Винт шестигранник

M8x30

1шт.

27

ZM 7098010

Гайка

M8

1шт.

3

ZM 2259050

Кольцо уплотнительное (О-кольцо)

13x2

1шт.

4

VOE 944260

T-nipple

L15

1шт.

4

VOE 944260

T-nipple

L15

1шт.

5

VOE 11307850

Шланг

1шт.

6

ZM 2259050

Кольцо уплотнительное (О-кольцо)

13x2

1шт.

7

VOE 957084

Nipple

L15

1шт.

8

VOE 957020

Hexagon nut

M22x1,5

1шт.

8

VOE 957020

Hexagon nut

M22x1,5

1шт.

9

VOE 11305401

Шланг

1шт.

Выбрано товаров: 30