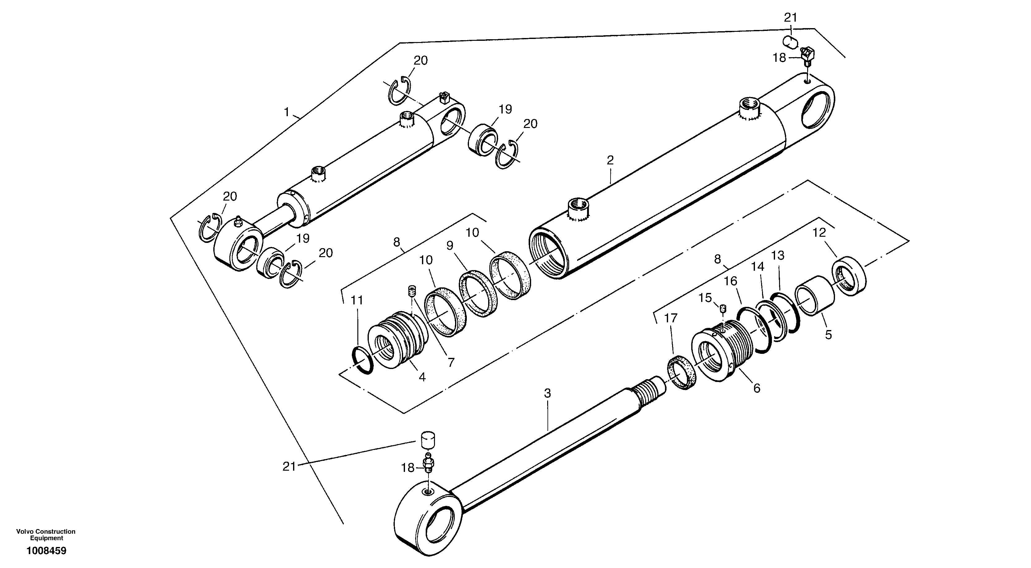
Запчасти Volvo ZL502C SER NO 0503001 - 29194 Гидроцилиндр (цилиндр) подъемный

Схема запчастей Volvo ZL502C SER NO 0503001 - - 29194 Гидроцилиндр (цилиндр) подъемный
FIT
1:1
100%

Артикул

Название

Примечание

Количество

1

ZM 2804265

цилиндр

1шт.

10

ZM 2903278

Кольцо

1шт.

11

ZM 2903279

Кольцо уплотнительное (О-кольцо)

1шт.

12

ZM 2903280

Сальник

1шт.

13

ZM 2284072

Кольцо уплотнительное (О-кольцо)

1шт.

14

ZM 2284071

Кольцо

1шт.

15

ZM 2285799

Пробка (заглушка)

1шт.

16

ZM 2903281

Кольцо уплотнительное (О-кольцо)

1шт.

17

ZM 2903282

Кольцо

1шт.

18

ZM 7092353

Grease nipple

1шт.

19

VOE 11305240

Spherical plain bearing

1шт.

2

ZM 2903271

Cylinder tube

1шт.

20

VOE 11305258

Retaining ring

1шт.

21

ZM 4384287

Пробка (заглушка)

1шт.

3

ZM 2903272

Шток поршня

1шт.

4

ZM 2903273

Поршень

1шт.

5

ZM 2903275

Подшипник

1шт.

6

ZM 2903274

Втулка

1шт.

7

ZM 5225285

Screwed pin

1шт.

8

ZM 2903276

Gasket kit

1шт.

9

ZM 2903277

Сальник

1шт.

Выбрано товаров: 21