Запчасти Volvo ZL502C SER NO 0503001 - 72473 Топливный бак (бензобак)

Схема запчастей Volvo ZL502C SER NO 0503001 - - 72473 Топливный бак (бензобак)
FIT
1:1
100%

Артикул

Название

Примечание

Количество

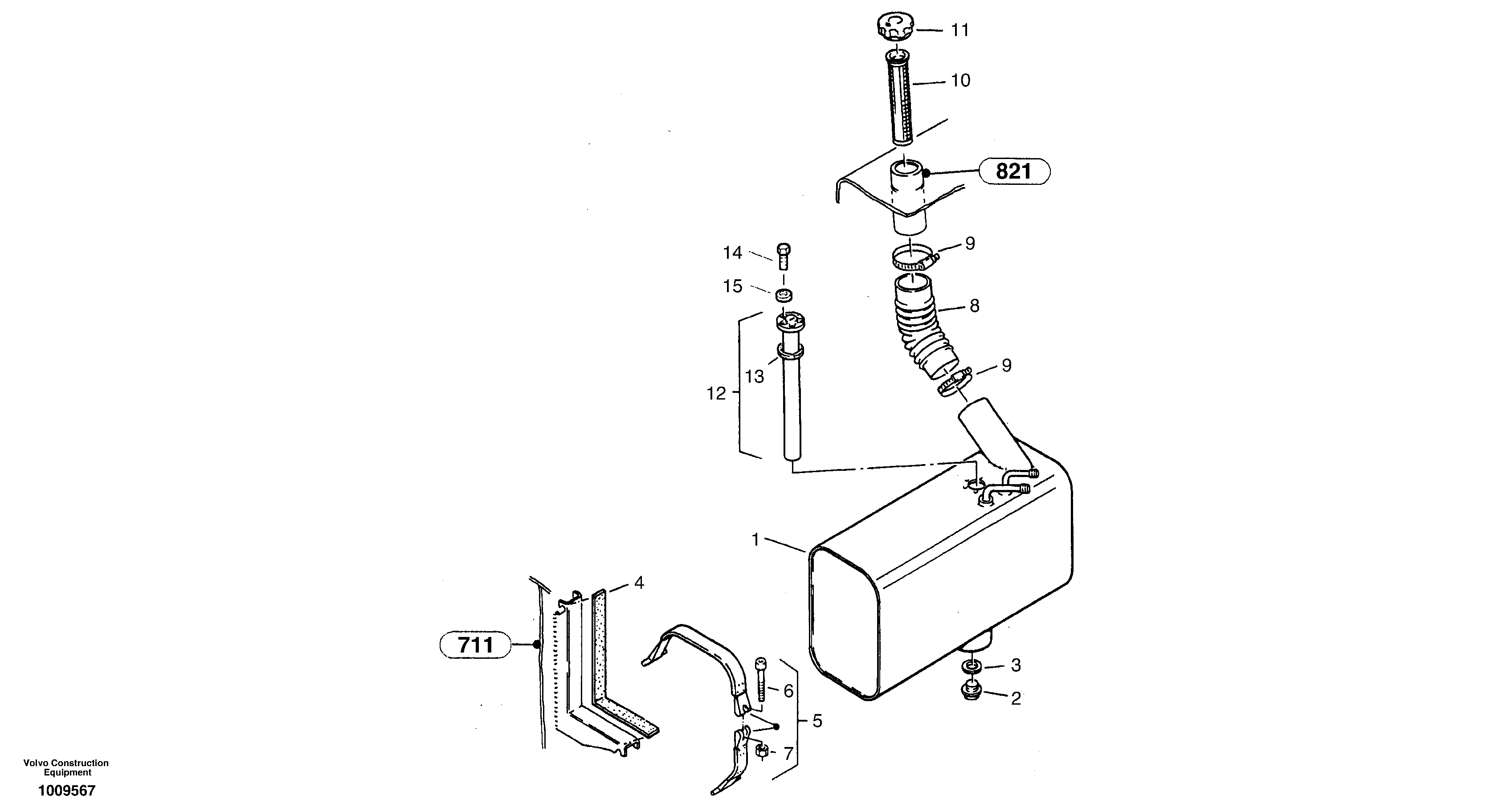
1

ZM 2803433

Топливный бак (бензобак)

1шт.

10

ZM 2800816

Fuel strainer

1шт.

11

ZM 2909958

Filler cap

1шт.

12

ZM 2804526

Fuel level sensor

1шт.

13

ZM 2903845

Фланец

1шт.

14

VOE 955246

Винт шестигранник

M5x16

1шт.

14

VOE 955246

Винт шестигранник

M5x16

1шт.

15

ZM 5138010

Прокладка

A5x7,5

1шт.

2

ZM 7099411

пробки

AM22x1,5

1шт.

3

VOE 20460026

Кольцо уплотнительное

A22x27

1шт.

3

VOE 20460026

Кольцо уплотнительное

A22x27

1шт.

4

ZM 2805874

Rubber Strip

1шт.

5

ZM 2805718

Скоба (хомут)

1шт.

6

ZM 8097912

Болт

M10x90

1шт.

7

ZM 7098390

Гайка

M10

1шт.

8

ZM 2817766

Шланг

-0502057

1шт.

8

ZM 2807020

Шланг

0502058-

1шт.

9

VOE 943482

Hose clamp

1шт.

Выбрано товаров: 18