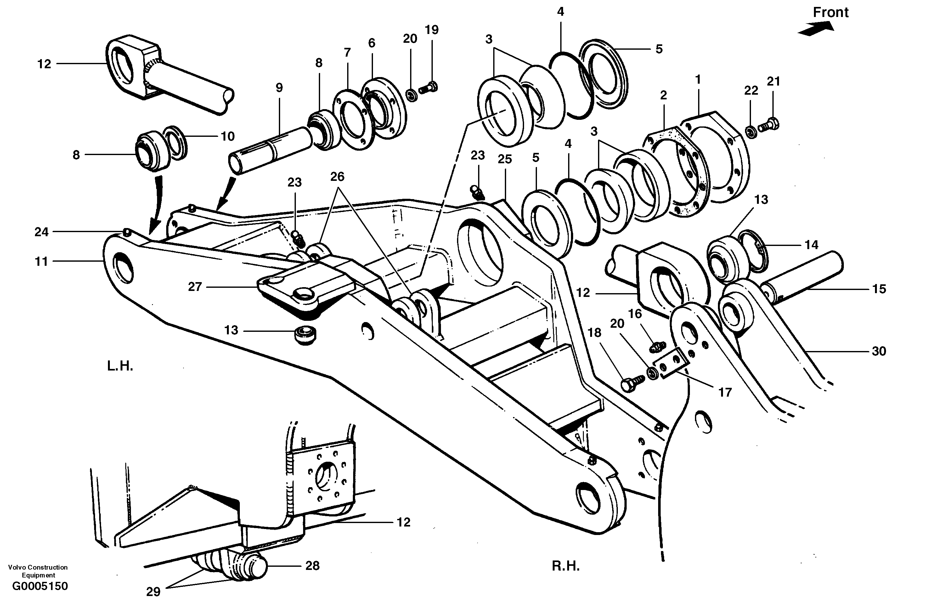
Запчасти Volvo G700 MODELS S/N 33000 - 103945 Мост передний

Схема запчастей Volvo G700 MODELS S/N 33000 - - 103945 Мост передний
FIT
1:1
100%

Артикул

Название

Примечание

Количество

CH 17058-14

Палец

CPL, INCL ITEM NO 28 - 29

1шт.

CH 87565

Прокладка

007"

1шт.

CH 87564

Прокладка

005"

1шт.

CH 87556

Прокладка

020"

1шт.

1

CH 35207

Cap

1шт.

10

CH 29526

Шайба упорная

1шт.

11

CH 87895

Мост (ось)

1шт.

12

CH 80568

Track rod

1шт.

13

CH 19629

Подшипник

1шт.

14

CH 19B-218

Retaining ring

internal

1шт.

15

CH 80822

Палец

1шт.

16

CH 29A-02

Grease Fitting

1шт.

17

CH 56909

Locking Plate

1шт.

18

CH 50A-0606ZI

Винт шестигранник

1шт.

18

CH 50A-0606ZI

Винт шестигранник

1шт.

19

CH 50A-0610ZI

Винт шестигранник

1шт.

19

CH 50A-0610ZI

Винт шестигранник

1шт.

2

CH 62408

Прокладка

007"

1шт.

2

CH 35209

Прокладка

005"

1шт.

2

CH 35208

Прокладка

010"

1шт.

20

VOE 12727850

Шайба

1шт.

21

CH 50A-0814ZI

Винт шестигранник

1шт.

21

CH 50A-0814ZI

Винт шестигранник

1шт.

22

VOE 983336

Шайба

1шт.

22

VOE 983336

Шайба

1шт.

23

CH 28A-04

Grease nipple

1шт.

23

CH 28A-04

Grease nipple

1шт.

24

CH 28B-04

Grease nipple

1шт.

24

CH 28B-04

Grease nipple

1шт.

25

CH 46563

Mount

INCL ITEM NO 1 - 2

1шт.

26

CH 62262

Lug

1шт.

27

CH 62600

Lug

1шт.

28

CH 17058-38

Pivot Pin

1шт.

29

CH 17058-39

Lug

1шт.

3

CH 19633

Spherical plain bearing

1шт.

4

CH 12A-247

Кольцо уплотнительное (О-кольцо)

1шт.

5

CH 18348

Шайба

back-up

1шт.

6

CH 87284

Подшипник

1шт.

7

CH 76293

Shim kit

1шт.

8

CH 30561

Spherical plain bearing

1шт.

9

CH 30527

Pivot Pin

1шт.

Выбрано товаров: 41