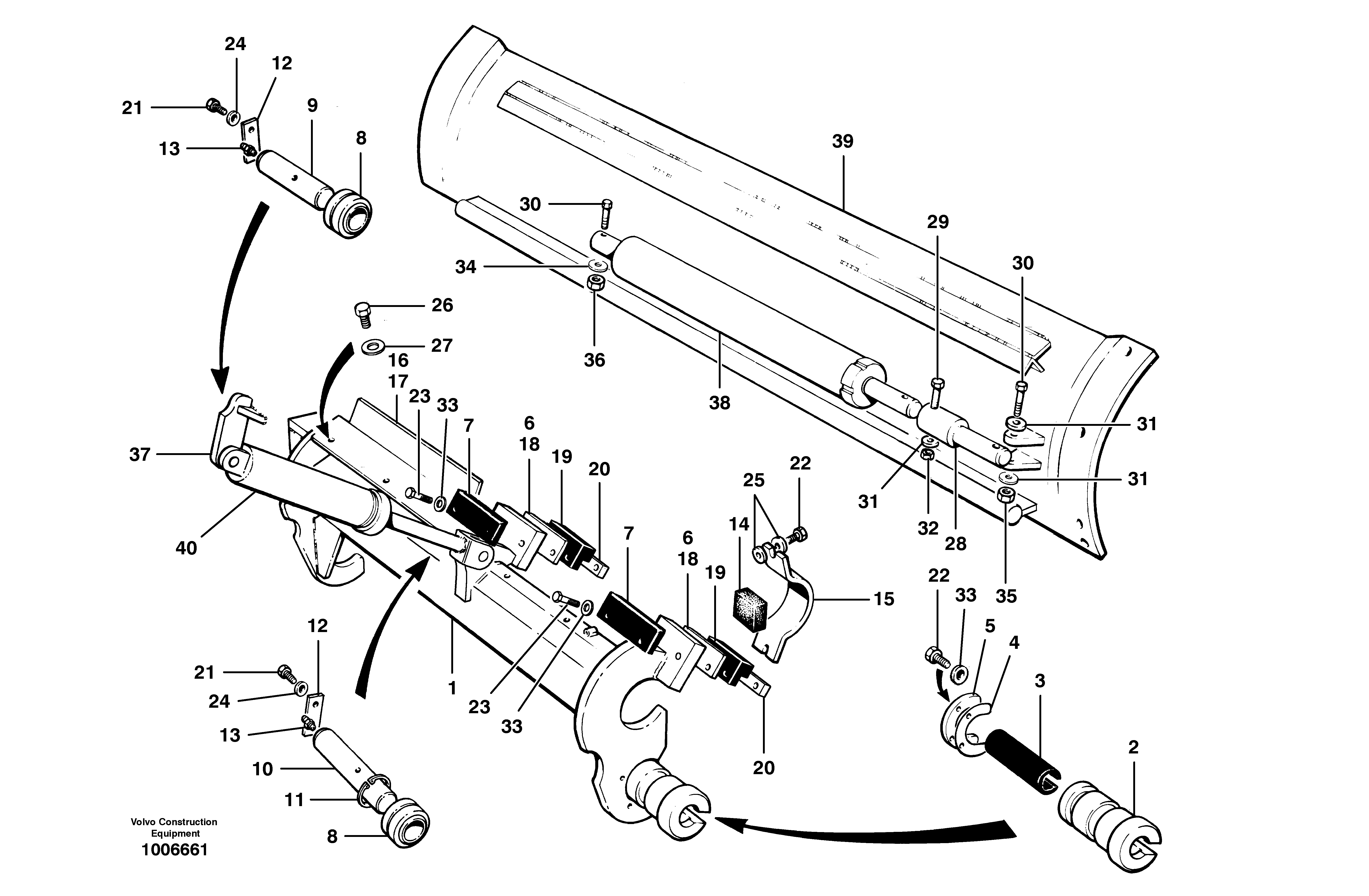
Запчасти Volvo G700 MODELS S/N 33000 - 103970 Moldboard installations

Схема запчастей Volvo G700 MODELS S/N 33000 - - 103970 Moldboard installations
FIT
1:1
100%

Артикул

Название

Примечание

Количество

1

CH 79220

Quadrant

CPL

1шт.

10

CH 87295

Палец

rod end

1шт.

11

CH 19B-218

Retaining ring

1шт.

12

CH 56909

Locking Plate

1шт.

13

CH 29A-02

Grease Fitting

1шт.

14

CH 78921

Корпус клапана

1шт.

15

CH 78920

Clamping Plate

1шт.

16

CH 78494

Stone Guard

L.H

1шт.

17

CH 78493

Stone Guard

R.H

1шт.

18

CH 78789

Прокладка

16 gauge

1шт.

19

CH 78685

Wear Plate

1шт.

2

CH 79012

Sliding sleeve

1шт.

20

CH 78686

Clamping Plate

1шт.

21

CH 50A-0608ZI

Винт шестигранник

1шт.

21

CH 50A-0608ZI

Винт шестигранник

1шт.

22

CH 50A-0610ZI

Винт шестигранник

1шт.

22

CH 50A-0610ZI

Винт шестигранник

1шт.

23

CH 50A-0620ZI

Винт шестигранник

1шт.

24

VOE 983335

Шайба

1шт.

24

VOE 983335

Шайба

1шт.

25

VOE 12727850

Шайба

1шт.

26

CH 50A-0808ZI

Винт шестигранник

1шт.

26

CH 50A-0808ZI

Винт шестигранник

1шт.

27

VOE 983336

Шайба

1шт.

27

VOE 983336

Шайба

1шт.

28

CH 80960

Шток поршня

(6" long) - 13' moldboard

1шт.

28

CH 80961

Шток поршня

(12" long) - 14'

1шт.

29

CH 50A-1632ZI

Винт шестигранник

1шт.

29

CH 50A-1632ZI

Винт шестигранник

1шт.

3

CH 58406

Sliding sleeve

1шт.

30

CH 50A-1640ZI

Винт шестигранник

1шт.

30

CH 50A-1640ZI

Винт шестигранник

1шт.

31

VOE 983400

Шайба

1шт.

31

VOE 983400

Шайба

1шт.

32

CH 31A-16ZI

Hexagon nut

1шт.

33

VOE 12727850

Шайба

1шт.

34

VOE 12729999

Шайба

1шт.

35

CH 30A-16ZI

Гайка

1шт.

35

CH 30A-16ZI

Гайка

1шт.

36

CH 30D-16ZI

Гайка

1шт.

4

CH 79013

Прокладка

03"

1шт.

5

CH 79011

Тарелка клапана

1шт.

6

CH 79008

Прокладка

11 gauge

1шт.

7

CH 78684

Wear Plate

1шт.

8

CH 19629

Подшипник

35 mm

1шт.

9

CH 62500

Палец

barrel end

1шт.

Выбрано товаров: 46