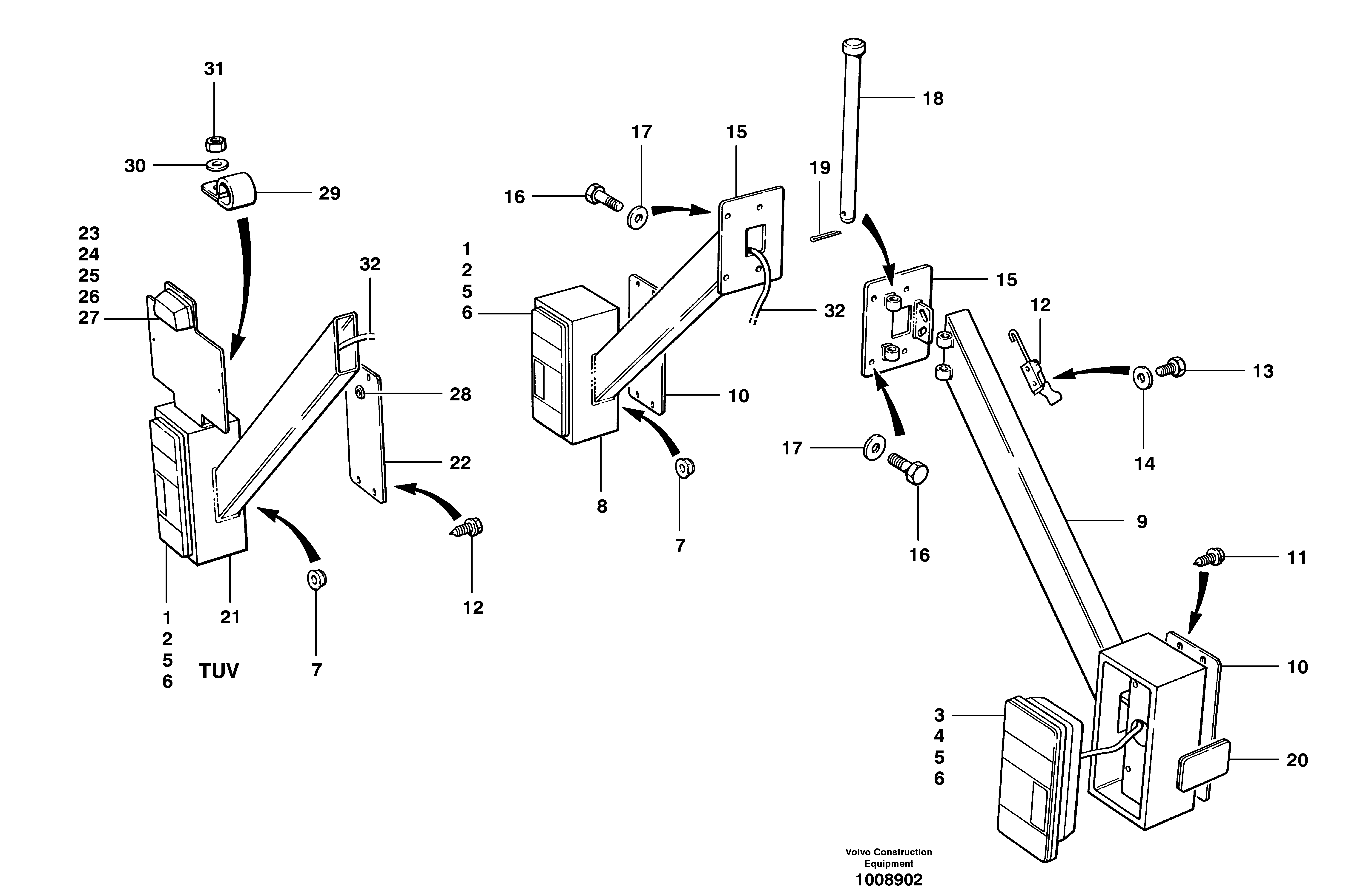
Запчасти Volvo G700B MODELS S/N 35000 - 45315 Lights - rear - EEC and TUV

Схема запчастей Volvo G700B MODELS S/N 35000 - - 45315 Lights - rear - EEC and TUV
FIT
1:1
100%

Артикул

Название

Примечание

Количество

1

VOE 12727445

Tail Light

Stop, tail, turn signal

1шт.

1

VOE 12727445

Tail Light

Stop, tail, turn signal

1шт.

10

VOE 12730017

Шайба

EEC

1шт.

10

VOE 12730017

Шайба

R.H. TUV

1шт.

11

VOE 972081

Винт шестигранник (торцевой ключ)

1шт.

11

VOE 972081

Винт шестигранник (торцевой ключ)

1шт.

12

CH 84550

Latch

1шт.

12

CH 84550

Latch

1шт.

13

CH 50A-0404ZI

Винт шестигранник

1шт.

13

CH 50A-0404ZI

Винт шестигранник

1шт.

14

VOE 983334

Шайба

1шт.

14

VOE 983334

Шайба

1шт.

15

VOE 12727167

Mounting Plate

1шт.

16

VOE 983272

Винт шестигранник

1шт.

16

VOE 983272

Винт шестигранник

1шт.

17

VOE 983335

Шайба

1шт.

17

VOE 983335

Шайба

1шт.

18

CH 10A-0896

Clevis Pin

1шт.

18

CH 10A-0896

Clevis Pin

1шт.

19

CH 13A-0516

Cotter Pin

1шт.

2

VOE 12733125

Lens

L.H

1шт.

20

CH 68993

Светоотражатель (отражатель)

Amber

1шт.

21

VOE 12731331

Рукоять

L.H

1шт.

22

VOE 12731333

Шайба

L.H

1шт.

23

VOE 11147756

Sign Lamp

1шт.

23

VOE 11147756

Sign Lamp

1шт.

24

VOE 967710

Bulb

1шт.

24

VOE 967710

Bulb

1шт.

25

VOE 13969516

Винт шестигранник (торцевой ключ)

1шт.

25

VOE 13969516

Болт

1шт.

26

VOE 960137

Шайба

1шт.

26

VOE 960137

Шайба

1шт.

27

VOE 963103

Гайка

1шт.

28

CH 41710

Уплотнительная втулка

1шт.

28

CH 41710

Уплотнительная втулка

1шт.

29

VOE 952626

Зажим

1шт.

29

VOE 952626

Зажим

1шт.

3

VOE 12727446

Tail Light

Stop, tail, turn signal

1шт.

3

VOE 12727446

Tail Light

Stop, tail, turn signal

1шт.

30

VOE 12727853

Шайба

1шт.

31

CH 30A-04ZI

Hexagon Nut

1шт.

31

CH 30A-04ZI

Hexagon Nut

1шт.

4

VOE 12733124

Lens

R.H

1шт.

5

VOE 967708

Bulb

Stop, turn signal

1шт.

5

VOE 967708

Bulb

Stop, turn signal

1шт.

6

VOE 967709

Bulb

Tail light, reflector

1шт.

6

VOE 967709

Bulb

Tail light, reflector

1шт.

7

VOE 13949278

Flange Lock Nut

1шт.

7

VOE 13949278

Flange Lock Nut

1шт.

8

VOE 12727332

Рукоять

L.H. ECC

1шт.

9

VOE 12727333

Рукоять

R.H. ECC and TUV

1шт.

Выбрано товаров: 51