Запчасти Volvo G700B MODELS S/N 35000 - 58927 Parking brake switch

Схема запчастей Volvo G700B MODELS S/N 35000 - - 58927 Parking brake switch
FIT
1:1
100%

Артикул

Название

Примечание

Количество

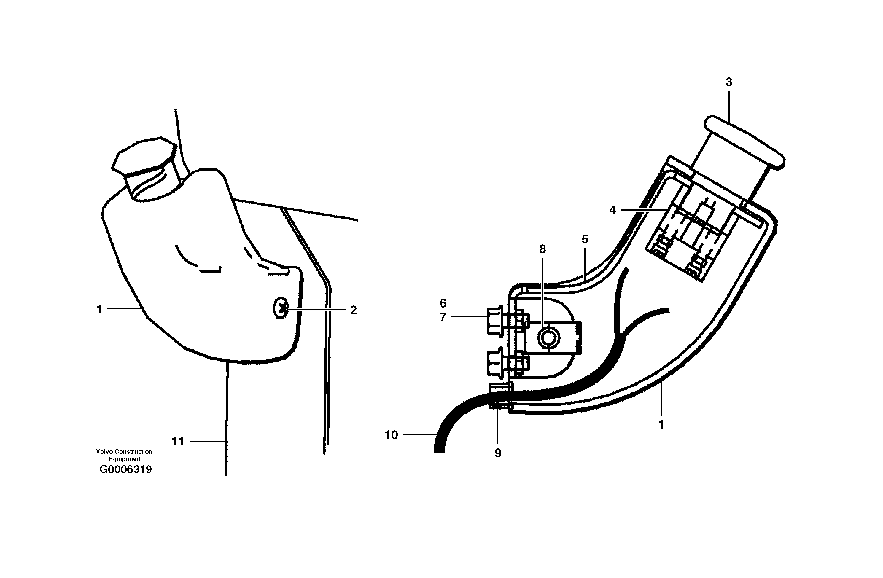
1

VOE 12733408

Крышка

1шт.

2

VOE 971321

Винт шестигранник (торцевой ключ)

1шт.

2

VOE 971321

Болт

1шт.

3

VOE 12727127

Knob

1шт.

4

VOE 12727126

Contact

1шт.

5

VOE 12733409

Кронштейн

1шт.

6

VOE 13965175

Болт

1шт.

6

VOE 13965175

Болт

1шт.

7

VOE 983305

Hexagon nut

1шт.

7

VOE 983305

Hexagon nut

1шт.

8

VOE 949921

Spring nut

1шт.

8

VOE 949921

Spring nut

1шт.

9

VOE 12727876

Втулка

1шт.

Выбрано товаров: 13